metalinstryment.com
Довідник по металорізальних верстатів та пресовому обладнанні

СФ-6 Верстат фуговальный односторонний
Схеми, опис, характеристики

СФ-6 Верстат фуговальный односторонний







Відомості про виробника фуговального верстата СФ-6

Производителем фуговального верстата СФ-6 является Курганский завод деревообрабатывающих верстатів, основанный в 1941 году.

Завод производит обладнання для мебельных і строительно-столярных производств.

Производителем фуговального верстата СФ-6(К) является Кировский станкостроительный завод, основанный в 1880 году. Завод был переименован в Кировский завод заточного і деревообрабатывающего оборудования.

Основная специализация завода - производство верстатів для заточки і подготовки дереворежущего инструмента к работе.





Верстати, выпускаемые Курганским заводом деревообрабатывающих верстатів


СФ-6 Верстат фуговальный односторонний. Назначение, область применения

Верстат фуговальный односторонний СФ-6 предназначен для фугования (прямолинейного строгания, продольного фрезерування) заготовок из древесины различных пород по плоскости і под углом.

Фуговальный верстат СФ-6 применяется на предприятиях мебельной і деревообрабатывающей промышленности (мебельной, домостроительной, авто- і вагоностроения і т.д.), модельных цехах машиностроительных заводов, строительных организациях.

Станина верстата СФ-6 выполнена чугунной, цельнолитой, коробчатой формы, внутри которой установлен електродвигатель приводу ножевого вала.

Вращение ножевому валу передається клиновыми ремнями. Для натяжения ремней предусмотрено вертикальное перемещение подмоторной плиты. Ременная передача закрыта кожухом.

Опори ножевого вала смонтированы в цельном блоке з отъемными крышками, что позволяет снизить механические шумы і вибрацию от обертання ножевого вала. Торможение ножевого вала осуществляется через ременную передачу електродвигуном.

Подача заготовок на станке СФ-6 осуществляется вручную или механически з применением автоподатчика. Передний і задний столы представляют собой чугунные литые шлифованные плиты з ребрами жесткости по нижней плоскости. Регулювання переднего і заднего столов верстата по вертикали осуществляется посредством ексцентриковых валиков через систему рычагов і тяг з приводом от рукоятки для переднего стола і гвинта з гайкой для заднего стола.

С боковых сторон стола установлены щитки. Указатель глубины строжки - лимб помещен в окне щитка. Перемещение направляющей линейки осуществляется вручную. Линейка може перемешаться поперек стола в зависимости от ширины строгаемого материала і може быть установлена на требуемый угол в вертикальной плоскости (до 45°).

На станке СФ-6 имеется круглый двухножевой вал з клиновым креплением ножей.

Ширина строгания на станке 630 мм, толщина снимаемого слоя 6 мм, диаметр ножевого вала 125 мм, диаметр різання 128 мм, число ножей на валу 2, мощность електродвигуна ножевого вала 2,8 кВт, число оборотів ножевого вала в минуту 5000, вес верстата 620 кг.


Условное обозначение деревообрабатывающих верстатів

Деревообрабатывающие верстати і обладнання имеют условное обозначение (индексацию) буквами і цифрами. Буквенная индексация состоит из начальных букв наименования типа или вида верстата. Первая буква означает тип, вторая і третья— основной признак верстата.

Буква А обозначает наличие елементів автоматизации.

Например: СвПА—сверлильно-пазовальный з автоподачей. Цифра, стоящая сразу після букв или между ними, обозначает основні параметри верстатів (число режущих инструментов или ширину строгания в мм, см, дм). Например:

Цифра, стоящая після дефиса, обозначает номер моделі верстата, например:





Загальний вигляд фуговального одностороннего верстата СФ-6

Загальний вигляд  фуговального верстата СФ-6

Фото фуговального одностороннего верстата сф-6


Розташування основних вузлів одностороннего строгального верстата сф-6

Розташування основних вузлів одностороннего строгального верстата сф-6

Розташування основних вузлів строгального верстата сф-6


Розташування основних вузлів одностороннего строгального верстата сф-6

Розташування основних вузлів строгального верстата сф-6


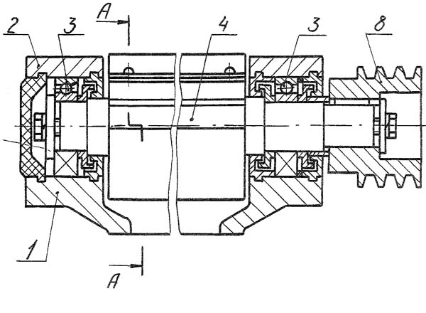
Список складових частин фуговального верстата СФ6-1:

  1. Станина СФ-6.10.000
  2. Автоподатчик
  3. Линейка направляющая СФ-6.40.000
  4. Електроустаткування СФ-6.80.000
  5. Кожух СФ-6.60.000
  6. Стол задний СФ-6.21.000
  7. Вал ножевой СФ-6.31.000
  8. Стол передний СФ-6.20.000
  9. Захист инструмента СФ-6.61.000

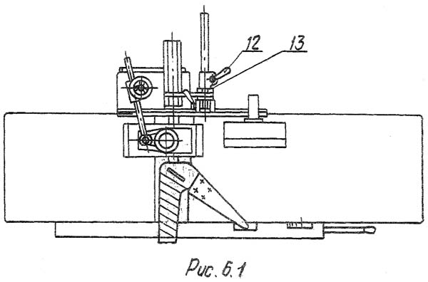
Розташування органів керування односторонним строгальным верстатом сф-6

Розташування органів керування односторонним строгальным верстатом сф-6

Розташування органів керування строгальным верстатом сф-6


Розташування органів керування односторонним строгальным верстатом сф-6

Розташування органів керування строгальным верстатом сф-6

  1. Кнопка "Стоп" верстата
  2. Кнопка "Пуск" двигуна ножевого вала
  3. Кнопка "Стоп" автоподатчика
  4. Кнопка "Пуск" двигуна автоподатчика
  5. Переключатель выбора направления руху автоподатчика
  6. Лампа индикации наличия напряжения
  7. Переключатель скорости руху автоподатчика
  8. Рукоятка вводного выключателя
  9. Рукоятка установки переднего стола на толщину снимаемого слоя
  10. Рукоятка натяжения ремня
  11. Рукоятка фиксации положения линейки на столе
  12. Рукоятка фиксации наклона линейки

Список графических символів строгального верстата сф-6

Список графических символів строгального верстата сф-6

Список графических символів строгального верстата сф-6





Схема кінематична одностороннего фуговального верстата СФ-6

Ножевая головка приводится во вращении от индивидуального електродвигуна через шкивы 1, 2 посредством клиновых ремней.

Регулювання переднего і заднего столов верстата по высоте осуществляется ексцентриковыми механізмами 3 при помощи рукоятки 4 і гайки 5.

Перемещение направляющей линейки осуществляется вручную.

Подача заготовок на станке осуществляется вручную.


Пристрій і опис складових частин верстата

Станина з приводом

Станина выполнена цельнолитой коробчатой формы, внутри станины установлен електродвигатель приводу ножевого вала.

Вращение ножевого вала осуществляется от електродвигуна клиновыми ремнями. Для натяжения ремней предусмотрено вертикальное перемещение подмоторной плиты. Ременная передача закрыта кожухом.

Столы передний і задний

Столы представляют собой плиты з ребрами жесткости по нижней плоскости. Столы перемещаются в вертикальном направлении посредством ексцентриковых валиков через систему рычагов і тяг з приводом от рукоятки для переднего стола і і гвинта з гайкой для заднего стола.

Наибольшая величина вертикального переміщення переднего стола - 6 мм, заднего - 2 мм. С боковых сторон стола установлены щитки. Указатель глубины строжки — лимб помещен в окне щитка.

Линейка

Направляющая линейка може перемещаться поперек стола в зависимости от ширины строгаемого материала і може быть установлена на требуемым угол в вертикальной плоскости до 45°.


Ножевой вал строгального верстата сф-6

Ножевой вал строгального верстата сф-6

Ножевой вал строгального верстата сф-6


Ножевой вал строгального верстата сф-6

Ножевой вал строгального верстата сф-6

Опори ножевого вала смонтированы в цельном блоке з съемными крышками. Принятая конструкция позволяет снять механические шумы і вибрацию от обертання ножевого вала.

Торможение ножевого вала електромеханическое. Смазка підшибників опор периодическая через пресс-масленки.


Порядок установки заточенных или новых ножей.

При затуплении ножей необходимо выполнить роботи:

  1. освободить винты крепления ножей (прижимные клинья і винты не снимать) і вынуть затупившиеся ножи;
  2. очистить пазы в корпусе і клинья от стружки і грязи;
  3. произвести заточку ножей.

Уравновешивание ножей після переточки достигается путем снятия металла з углов ножа противоположных лезвию.

Это требование должно соблюдаться при установці нового комплекта ножей, при етом геометрия і технические требования на ножи должны быть в соответствии з их конструкцией і ТУ. Рис. 13.2. ирис. 13.3.

Установить в пазы ножевого вала заточенные или новый комплект ножей.


Как правильно установить ножи в ножевой вал:

Деревянный брусок сечением 50 х 40 х 500 имеющий неплоскостность не более 0,05 мм укладывают на задний стол верстата над ножевым валом у одного из концов. Вал поворачивают вручную і ослабив крепежные винты изменяют положение ножа так, чтобы лезвие коснулось бруска. Ближайший к бруску крепежный винт слегка затягивают. Передвигают брусок на другую сторону вала. Регулювання осуществляют до тех пор, пока лезвие по всей длине будет расположено одинаково относительно бруска.

Так же регулируют і остальные ножи. Выверенные ножи окончательно закрепляют гвинтами. Зазор между ножами і губками корпуса не допускается. Качество установки ножей контролируют по усилию проворачивания ножевого вала і звуку возникающему при соприкосновении ножа з рабочей поверхностью бруска, что подтверждает о том, что лезвие ножей находятся в плоскости заднего стола или на 0,02+0,03 мм выше его. После закрепления ножей вал приводят во вращение в холостую і після установки еще раз проверяют затяжку распорных винтов.


Наладка строгального верстата сф-6

Наладка верстата заключается в правильной установці переднего стола, направляющей линейки относительно ножевого вала і выборе направления подачі.

  1. передний стол устанавливают так, чтобы его рабочая поверхность была ниже верхней образующей окружности, описываемой режущими кромками ножей. Величина выступа ножей относительно переднего стола определяет толщину снимаемого слоя і устанавливается по имеющейся на стенке шкале;
  2. автоподатчик располагают над ножевым валом так, чтобы первый подающий ролик находился над передним столом на расстоянии 50.. .60 мм от ножевого вала, а другие ролики - над задним столом.
  3. Автоподатчик ориентируют относительно направляющей линейки так, чтобы ролики были наклонены под углом 1... 3' к оси ножевого вала
  4. Направляющую линейку при обработке брусковых деталей располагают так, чтобы расстояние до левого кінця ножевого вала было немного больше ширины обрабатываемой заготовки. По мере затупления ножей линейку следует перемещать вправо і обрабатывать деталь той частью ножевого вала, где ножи еще не затуплены.

При обработке деталей з неперпендикулярными смежными поверхностями направляющую линейку наклоняют так, чтобы угол между її рабочей поверхностью і ножевым валом был тупым.


Регулювання строгального верстата сф-6

В процессе експлуатации верстата возникает необходимость в регулировании его окремих складових частин.

Ремни приводу ножевого вала натягивают поворотом електродвигуна з подмоторной плитой вокруг горизонтальной оси, закрепленной на станине. Прогиб ветви ремня должен быть 7 мм под действием силы ЮН (1 кГс), приложенной в середине ветви і перпендикулярно к ней.

Автоподатчик регулируется по высоте маховичком в зависимости от толщины обрабатываемых заготовок. Расстояние от рабочей поверхности переднего стола до нижней образующей поверхности подающих роликов должно быть на 2.. .3 мм толщины заготовки.

Скорость подачі заготовки выбирают в зависимости от ширины і толщины снимаемого слоя, породы древесины і її влажности, направления волокон і т.п.

Требуемую скорость устанавливают переключением пакетного выключателя електродвигуна или перестановкой приводного ремня на ступенчатых шкивах автоподатчика.

Закончив наладку і регулировку неработающего верстата, следует внимательно осмотреть ножевой вал і пустить верстат на холостой ход. При нормальной работе ножевого вала і автоподатчика - обработать пробные заготовки.


Нож строгального верстата сф-6

Нож строгального верстата сф-6

Нож строгального верстата сф-6


Схема електрична принципова фуговального одностороннего верстата СФ-6

Схема електрична фуговального верстата СФ-6

Електрична схема принципова фуговального верстата СФ-6


Електроустаткування верстата фуговального одностороннего СФ-6

Загальні відомості

На станке установлен трехфазный короткозамкнутый асинхронный електродвигатель

Верстати изготовляются з електрообладнанням, рассчитан ным для роботи при напряжении 380 В 50Гц, в силових цепях, в цепях керування на напряжение 110 В 50 Гц, ланцюг освещения 24 В 50 Гц. Верстати могут быть изготовлены з рабочим напряжением согласно заказ-наряду.

В електросхемах используется провод марки ПГВ сечением 1 мм2 красного і 1,5 мм2 черного цветов, 2,5 мм2 2-х цветный зелено-желтого или зеленого цвета.

В електросхемах имеются блокировки, осуществляющие невозможность увімкнення електродвигуна головного приводу при снятых кожухах ременной передачи, при снятом веере ножевого вала.

Во время експлуатации електродвигателей систематически производить их технический осмотр і профилактические ремонты.

При профилактических ремонтах должна производиться разборка електродвигуна, внутренняя і наружная очистка і замена змазки підшибників.

Перед набивкой свежей смазкой підшипники должны быть тщательно промыты бензином.





СФ-6 Верстат фуговальный односторонний. Відеоматериалы



Технічні характеристики фуговального верстата СФ6-1

Наименование параметра СФ4-1 СФ6-1
Основні параметри верстата
Наибольшая ширина обрабатываемого материала, мм 400 630
Наибольшая глубина снимаемого слоя, мм: 6 6
Размер, мм 1504 х 412 1504 х 650
Размер заднего стола, мм 1004 х 412 1004 х 650
Скорость різання, м/с 34 34
Наименьшая длина обрабатываемого материала, мм 400 400
Высота подъема переднего стола, мм 6 6
Высота подъема заднего стола, мм 2 2
Цена деления лимба подъема заднего-переднего стола, мм 1 1
Количество ножевых валов 1 1
Диаметр корпуса ножевого вала, мм 125 125
Диаметр окружности різання ножевого вала, мм 128 128
Количество ножей ножевого вала, мм 2/ 4 2/ 4
Число оборотів ножевого вала, об/мин 5100 5100
Способ торможения електромех електромех
Время торможения ножевого вала, с, не более 6 6
Количество стружкоприемников 1 1
Диаметр стружкоприемника, мм 175 175
Електроустаткування верстата
Род тока питающей сети 380В 50Гц 380В 50Гц
Количество електродвигателей на станке, шт 1 1
Електродвигун - номинальная мощность, кВт 3 5,5
Габарит і масса верстата
Габарит верстата (длна х ширина х высота), мм 2564 х 1385 х 1250 2564 х 1715 х 1250
Масса верстата, кг 705 950

    Список литературы:

  1. Верстат фуговальный моделі СФ-6. Руководство по експлуатации СФ-6.00.000 РЭ, Днепропетровск

  2. Амалицкий В.В. Деревообрабатывающие верстати і инструменты, 2002
  3. Афанасьев А.Ф. Резьба по дереву, Техника, Инструменты, Изделия, 2014
  4. Бобиков П.Д. Мебель своими руками, 2004
  5. Борисов И.Б. Обработка дерева, 1999
  6. Джексон А., Дей Д. Библия работ по дереву, 2015
  7. Золотая книга работ по дереву для владельца загородного участка, 2015
  8. Ильяев М.Д. Резьба по дереву, Уроки мастера, 2015
  9. Комаров Г.А. Четырехсторонние продольно-фрезерные верстати для обробки древесины, 1983
  10. Кондратьев Ю.Н., Питухин А.В... Технология изделий из древесины, Конструирование изделий і расчет материалов, 2014
  11. Коротков В. И. Деревообрабатывающие верстати, 2007
  12. Лявданская О.А., Любчич В.А., Бастаева Г.Т. Основы деревообробки, 2011
  13. Любченко В.И. Рейсмусовые верстати для обробки древесины, 1983
  14. Манжос Ф.М. Дереворежущие верстати, 1974
  15. Расев А.И., Косарин А.А. Гідротермическая обработка і консервирование древесины, учебное пособие, 2010
  16. Рыженко В.И. Полная енциклопедия художественных работ по дереву, 2010
  17. Рыкунин С.Н., Кандалина Л.Н. Технология деревообробки, 2005
  18. Симонов М.Н., Торговников Г.И. Окорочные верстати, 1990
  19. Соловьев А.А., Коротков В.И. Наладка деревообрабатывающего оборудования, 1987
  20. Суханов В.Г. Круглопильные верстати для распиловки древесины, 1984
  21. Фокин С.В., Шпортько О.Н. Деревообработка, Технологии і обладнання, 2017
  22. Хилтон Билл Работы по дереву, Полное руководство по изготовлению стильной мебели для дома, 2017