metalinstryment.com
Довідник по металорізальних верстатів та пресовому обладнанні

РМ-50 Многопильный верстат
Схеми, опис, характеристики

РМ-50 Многопильный верстат







Відомості про виробника многопильного верстата РМ-50

Производителем многопильного верстата РМ-50 является компания Авангард, ООО г. Воронеж, основанная 15 декабря 1991 года.

Основная специализация завода - производство оборудования і верстатів для распиловки круглого леса.





Верстати, выпускаемые воронежской компанией Авангард, ООО


Авангард РМ-50 Многопильный верстат. Назначение, область применения

Рамный многопильный верстат Авангард РМ-50 легкий, передвижной предназначен для поздовжньої распиловки брусьев на пиломатериалы.

Многопильный верстат РМ-50 применяется во временных і стационарных лесопильных цехах високою производительности, сельскохозяйственных, промышленных і строительных организаций. Не требует фундамента.

Рамный многопильный верстат РМ-50 може применяется как рама 1 ряда (для распиловки бревен), так і 2 ряда (для распиловки двухкантного бруса на обрезные доски нужной толщины).

Основні преимущества многопильного верстата перед классическими пилорамами:

Авангард РМ-50 М-2 ето базовая модель серии многопильных верстатів рамного типа. Она создана как дальнейшее развитие хорошо известных верстатів РМ-50.

Многопильный верстат РМ-50 М-2 используется как верстат второго ряда для распиловки двухкантного бруса (лафета) толщиной 65..240 мм шириной до 400 мм, а также досок из любых пород древесины на обрезной пиломатериал: доски і бруски.

Многопильный верстат РМ-50 М-2К используется как верстат первого ряда для распиловки кругляка диаметром 140..400 мм. Отличается от РМ-50М-2 подвижными пневматическими зажимами, которые перемещаются по рельсам рольганга.

Принцип роботи і особливості конструкції верстата РМ-50

Рабочий инструмент верстата - плоские пилы (73 х 608 х 1,1..1,4 мм), собранные в рамке, которая называется постав. Количество пил в поставе може быть разным (3..19) в зависимости от толщины выпиливаемых досок.

Принцип роботи многопильного верстата РМ-50М-2 такой же как у классических пилорам: заготовка (лафет) устанавливается на вальцы переднего (подающего) рольганга і вручную подается на передние приводные вальцы верстата. Заготовка фиксируется сверху і знизу прижимными вальцами і подается на пильную рамку з установленными пилами, которая движется вверх-вниз со скоростью 405 ходов в минуту. Рспиленная заготовка поступает на вторые приводные вальцы верстата і выталкивается на задний (принимающий) рольганг. Скорость подачі регулируется і може быть точковой і непрерывной і може достигать 88 метров в час.

Принцип роботи многопильного верстата РМ-50М-2К такой же как у верстата РМ-50М-2: распиливаемое бревно устанавливается на вальцы переднего (подающего) рольганга і зажимается пневматическими зажимами, затем также вручную подается на передние приводные вальцы верстата. Заготовка фиксируется сверху і знизу прижимными вальцами верстата і подается на пильную рамку. Рспиленная заготовка поступает на вторые приводные вальцы верстата і выталкивается на задний (принимающий) рольганг где снова захватывается приемным подвижным пневматическим зажимом. Скорость подачі регулируется і може быть толчковой і непрерывной і може достигать 88 метров в час.

Точность распиловки заготовки на многопильном станке РМ-50М-2 составляет ±1 мм при длине бревна 6 м. На станке можно распиливать не только стандартные, но і короткие заготовки, длина которых не превышает 1500 мм.

Устанавливается верстат на предварительно подготовленную і твердую поверхность, размером 3 х 1,5 м і крепиться при помощи анкерных болтов. Многопильный верстат РМ-50М-2 може совместно работать з другими верстатами, отличное сочетание составляет, например, ленточная пилорама «Мастер 2000-05». Вес пильного блока многопильного верстата составляет 1900 кг, рольганга 110 кг.

Верстат РМ-50 является новым для России. Его разработка была начата в 2001 году, а серийное производство освоено з лета 2002 года.

Рамный многопил РМ-50 удачно сочетает в себе высокую производительность і надежность робочого инструмента традиционных рамных пилорам з качеством і низкой стоимостью распиловки ленточных пилорам.

Толщина пропила составляет всего 2,5 мм, в отличие от 4..6 мм на традиционных рамных пилорамах і 5..8 мм на дисковых пилорамах і многопилах. Это возможно благодаря специальным стеллитированным рамным пилам, также выпускаемым нашим предприятием. Таким образом, на каждом распиливаемом брусе вы получаете минимум одну дополнительную доску, которая при другом способе распиловки неизбежно ушла бы в опилки. Но кроме етого, вы економите на електроенергии. Дисковые многопилы, имеющие высоту пропила до 200 мм, как правило, оборудованы електродвигунами мощностью 30..50 кВт. Рамный многопильный верстат РМ-50, оснащенный всего-лишь одним 11 киловатным електродвигуном благодаря своей уникальной конструкції з легкостью распиливает брус толщиной до 240 мм. Верстат выпускается на собственной фундаментной плите, поетому може быть легко і быстро перевезен і запущен в любых условиях, в том числе і на делянке в лесу.

Так как верстат РМ-50 во многом подобен пилораме типа Р63-4Б, которых еще много на лесоперерабатывающих предприятиях, требуется минимальная переподготовка обслуживающего персонала. Обслуговування рамных пил верстата РМ-50 заключается лишь в своевременной заточке на автоматическом заточном станке, входящем в комплект поставки, что также выгодно отличает верстат от дисковых многопилов, заточное обладнання для которых стоит значительно дороже, а хорошего пилоправа еще і поискать надо. Стоимость рамных пил – 50 у. е. – сопоставима со стоимостью отечественных дисковых пил. Предельный срок службы пил нами пока не определен, так как некоторые многопильные верстати РМ-50, выпущенные более полутора лет назад, еще работают 20-ю пилами, входившими в комплект поставки.

Вид климатического исполнения — УХЛЗ по ГОСТ 15150-69.


Рамные пилы выпускает ЗАО "Инструмент", который непрерывно проводит совершенствование марок сталей, технологии і техники производства пил для улучшения их потребительских свойств: прочности, износостойкости, устойчивости, плющимости зубьев і сохранения предварительно напряженного состояния в пилах, создаваемого вальцеванием.

ЗАО "Инструмент" изготавливает рамные пилы только из легированных инструментальных сталей: хромованадиевой 9ХФ і никелесодержащей 8Н1А. Хромованадиевая сталь обеспечивает максимальную износостойкость зубьев при хорошей их плющимости і разводимости. Это особенно важно при распиловке мерзлой древесины в зимний период. Пилы из инструментальной легированной стали 8Н1А характеризуются как самые прочные (по ударной вязкости) і предназначены для использования при оснащении их зубьев стеллитом.


Cклад вироби

В состав верстата многопильного РМ-50М-2 входит:

В конструкції верстата применены:

В комплект поставки многопильного верстата моделі РМ-50М-2 входят:

Тарная кассета, устанавливаемая в стандартную рамку верстата. В тарной кассете расстояние между пилами задается не разлучками, как в стандартной рамке, а шайбами нужных размеров.

Дополнительные роликовые прижимы, устанавливаемые на приемный і подающий рольганги, что позволяет производить распиловку короткомерного материала длиной от 1 метра.


Модифікації многопильных верстатів РМ-50

Рамный многопильный верстат РМ-50 - первый верстат легкой серии многопильных верстатів компании Авангард. Начало серийного производства 2002 год.

Предприятие производит несколько моделей верстатів, конструктивные отличия которых і их технические возможности определяются функциональным назначением і требованиями потребителей.





Загальний вигляд рамного многопильного верстата РМ-50

Фото рамного многопильного верстата РМ-50

Фото рамного многопильного верстата РМ-50

Фото рамного многопильного верстата РМ-50. Дивитись у збільшеному масштабі



Фото рамного многопильного верстата РМ-50

Фото рамного многопильного верстата РМ-50

Фото рамного многопильного верстата РМ-50. Дивитись у збільшеному масштабі



Фото рамного многопильного верстата РМ-50

Фото рамного многопильного верстата РМ-50



РМ-50 Пристрій і робота верстата

Розташування складових частин лесопильной рамы РМ-50

Розташування складових частин лесопильной рамы РМ-50

Розташування складових частин лесопильной рамы РМ-50. Дивитись у збільшеному масштабі



Розташування складових частин пильного блока РМ-50

Розташування складових частин пильного блока РМ-50

Розташування складових частин пильного блока РМ-50. Дивитись у збільшеному масштабі



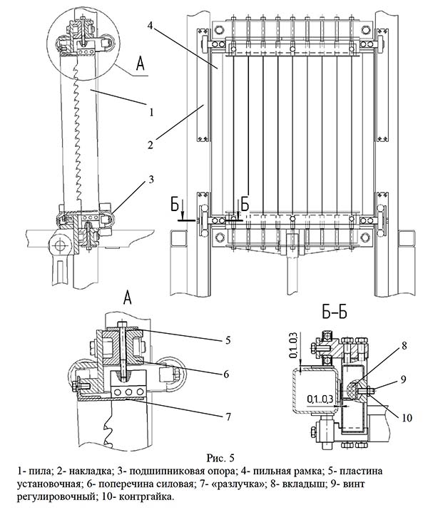
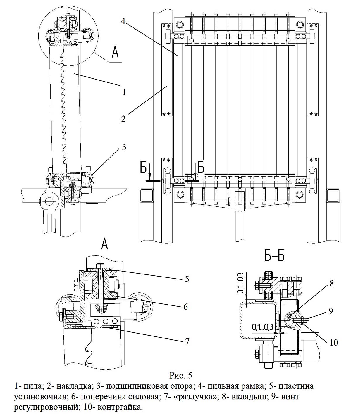
Пильный блок (рис.2) состоит из сварной рамы 2 і смонтированных на ней рабочих складових частин і органів керування. Вертикальные стойки рамы 3 є направляющими при возвратно-поступательном движении пильной рамки 4 Основанием пильного блока является массивная (для снижения вибрации) плита 1, на которой смонтирован привід верстата з кривошипно-шатунным механізмом (рис 3) Електродвигун 1 (рис 3) закреплен на опоре поворотной 2, которая фиксируется натяжным винтом 3 з гайками. Рух от двигуна передається через клиноременную передачу 4 к кривошипно-шатунному механізму 5 Шатун, соединенный з пильной рамкой 4 (Рис.2), которая перемещается по вертикальным направляющим, задает ей возвратно поступательное рух пиления.

Пильная рамка 4 предназначена для крепления і регулировки выбранного постава пил. Ее позиционирование і перемещение по износостойким накладкам 2 (рис.5), закрепленным на вертикальних стойках рамы, обеспечивается підшибниківыми опорами 3 і вкладышами ковзання 8 (рис. 5).

Пильный постав набирается из пил 1 (рис. 5) со стеллитовыми наплавками зубьев, которые крепятся через силовые поперечини 6 в дистанционные уголки («разлучки») 7, согласно выбранной толщине распила. Регулювання натяжения пил производится затяжкой динамометрическим ключом специальных высокопрочных винтов 4 через установочные пластины 5 Под головки винтов устанавливаются шайбы.


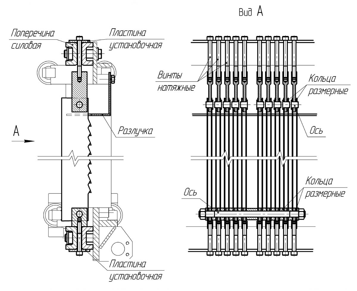
Пильная рамка многопильного верстата РМ-50

Пильная рамка (постав) многопильного верстата РМ-50

Пильная рамка многопильного верстата РМ-50. Дивитись у збільшеному масштабі



Фото пильной рамки многопильного верстата РМ-50

Фото пильной рамки многопильного верстата РМ-50


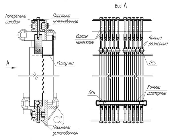
Пильная кассета многопильного верстата РМ-50

Пильная кассета (постав) многопильного верстата РМ-50

Пильная кассета многопильного верстата РМ-50. Дивитись у збільшеному масштабі






С целью снижения динамических нагрузок на детали приводу пилы 1 изготавливаются в трёх варіантах исполнения для одного комплекта, отличающихся сдвигом зубьев вдоль полотна пилы (рис. 4).


Механізм подачі многопильного верстата РМ-50

Механізм подачі многопильного верстата РМ-50

Механізм подачі многопильного верстата РМ-50. Дивитись у збільшеному масштабі



Подача лесоматериала в зону пиления обеспечивается ребристыми валками 5 (рис.2) циклично в противофазе з рабочим ходом пильной рамки. Привід подачі осуществляется от вала храповика через механізм перемены передач 11. Прижим распиливаемого материала к валкам производится включением соответствующих пневмоцилиндров 7 (рис.2).

Храповой механізм (Рис.6) предназначен для синхронизации подачі распиливаемого материала і положения пильной рамки.

Регулювання храпового механізма производится следующим образом:

Внимание ! Перед началом работ отключить верстат от електросети.


Фото механізма подачі многопильного верстата РМ-50

Фото механізма подачі многопильного верстата РМ-50

Фото механізма подачі многопильного верстата РМ-50. Дивитись у збільшеному масштабі



Механізм перемены (переключения) передач (Рис.7) состоит из двух блоков звездочек 1 і 2 ланцюги 3 і ролика натяжения ланцюги 4.

Изменение передаточного отношения (скорости подачі) производится перестановкой ланцюги на соответствующую пару звездочек. Для етого необходимо ослабить затяжку болтов крепления ролика 4 и, сдвинув его влево (см. рис.7), ослабить натяжение ланцюги 3. Предварительно разомкнув, переставить ланцюг на выбранную пару звездочек, уменьшая или увеличивая тем самым передаточное отношение. Соединить ланцюг і сдвинуть натяжной ролик до упора вправо. Затянуть болты крепления ролика. Установить защитный кожух.

Внимание! Работа на станке со снятыми защитными кожухами не допускается.

В зависимости от высоты распиливаемого материала вилки штоков пневмоцилиндров устанавливаются по одному из двух, предусмотренных для установки, отверстий в прижимных рамках.

Для выравнивания распиливаемого материала вдоль поздовжньої оси верстата, на входе устанавливаются два регулируемых отбойника 5 (Рис.1). С целью выравнивания пиломатериала за поставом пил установлена направляющая пластина (рис.8).

На выходе из зоны пиления размещены подпружиненные воротца 14 (рис.2), ограничивающие расхождение досок і снижающие их вибрацию при пилении.

Удаление опилок производится подключением зовнішнього отсоса к раструбу сборника опилок 8 (рис.2). Удаление опилок из-под коленвала производится вручную ежесменно.





Порядок роботи на станке РМ-50

Установить входной і выходной прижимы в верхнее положение. При необходимости, в зависимости от высоты пиломатериала, переставить вилки штоков пневмоцилиндров в соответствующие отверстия для обеспечения гарантированного прижима.

Поместить брус на подающий рольганг так, чтобы передний торец располагался на расстоянии 30 … 50 мм от зубьев пил, а его боковая кромка была параллельна поздовжньої оси верстата, не допуская касания пильной рамки при проходе рабочей зоны.

Подвести к боковой кромке бруса регулируемые отбойники і зафиксировать их при помощи винтов (при пилении трех і четырехкантного бруса).

Установить ручку увімкнення подачі в нижнее положение –“откл.”

Установить ланцюг механізма перемены передач на выбранную пару звездочек.

Прижать распиливаемый брус роликами входного прижима 6 (рис. 2).

Включить отсос опилок.

Включить подачу напряжения на пульті керування (рис.12).

Включить привід верстата нажатием кнопки «пуск».

Включить механізм подачі, для чего перевести ручку увімкнення подачі в верхнее положение –“вкл”.

Внимание!

После захода распиливаемого бруса на выходной валок прижать его выходным прижимом.

При подходе заднего торца к входному прижиму (в случае пиления одиночного бруса) следует поднять прижим для исключения задавливания бруса в постав пил і заклинивания післяднего.

Если производится пиление одинакового по высоте пиломатериала, то целесообразно загружать следующий брус в стык к предыдущему до окончания его распила без подъёма прижимов.

По окончании пиления отключить механізм подачі, выключить привід верстата і поднять прижимы в верхнее положение.

Замену одной пилы допускается производить без ослабления натяжения остальных. Для замены двух і более пил во избежание обрыва пил необходимо ослабить натяжение всех пил. Винты следует выкручивать в два-три приёма, начиная з центрального і смещаясь равномерно по направлению к краям.





РМ-50 Многопильный верстат. Відеоролик.





Технічні характеристики лесопильной рамы РМ-50

Наименование параметра Р63-4Б РМ-50 РМ-50-М2 РМ-50-М2К
Основні параметри
Тип распиливаемого сырья Кругляк/брус Брус Брус Кругляк
Наибольший диаметр распиливаемых бревен, мм 530 - - 100..300
Наибольшая толщина распиливаемых брусьев (лафета), мм 50..240 50..240 -
Наибольшая ширина распиливаемых брусьев (лафета), мм 400 450
Длина распиливаемых бревен і брусьев (лафета), м 3..7,5 0,65..6 1,5..6 3..6,2
Минимальная толщина получаемой доски, мм 16 16 16
Толщина тарной дощечки вырабатываемая многопилом минимальная, мм 6 6 6
Параметри верстата
Ширина просвета пильной рамки, мм 630 500 500 500
Высота просвета пильной рамки, мм 560 560
Ход пильной рамки, мм 400 180 180
Число двойных ходов пильной рамки в минуту 285 405 405
Подача бревна или бруса на один двойной ход пильной рамки, мм 3..22
Скорость подачі, м/мин 0,85..6,27
Число пил в поставе 3..12 3..10 3..19 3..7
Параметри пилы
Длина пил, мм 608 731
Ширина пил, мм 73 73
Толщина пил, мм 1,3 1,1..1,4
Толщина пропила, мм 2,25 2,2 2,5 2,5
Електроустаткування верстата
Род тока питающей сети 380В 50Гц 380В 50Гц 380В 50Гц 380В 50Гц
Количество електродвигателей на станке, шт 3 2 2 2
Електродвигун приводу механізма різання, кВт 37 15 15
Електродвигун приводу подачі, кВт 2,2
Електродвигун приводу переміщення передних ворот, кВт 2,6 - -
Електродвигун приводу переміщення задних ворот, кВт 2,6 - -
Установленная мощность многопила, кВт 44,4 34,5 / 49,5
Габарит і масса рамы
Габарит рамы (длна х ширина х высота), мм 4232 х 2615 х 3000 2335 х 1270 х 1350 2500 х 1200 х 2200
Масса рамы, кг 5850 3220 2250

    Список литературы:

  1. Верстат многопильный РМ-50. Руководство по експлуатации РМ-50.00.000 РЭ,

  2. Амалицкий В.В. Деревообрабатывающие верстати і инструменты, 2002
  3. Комаров Г.А. Четырехсторонние продольно-фрезерные верстати для обробки древесины, 1983
  4. Кондратьев Ю.Н., Питухин А.В... Технология изделий из древесины, Конструирование изделий і расчет материалов, 2014
  5. Коротков В. И. Деревообрабатывающие верстати, 2007
  6. Лявданская О.А., Любчич В.А., Бастаева Г.Т. Основы деревообробки, 2011
  7. Любченко В.И. Рейсмусовые верстати для обробки древесины, 1983
  8. Манжос Ф.М. Дереворежущие верстати, 1974
  9. Расев А.И., Косарин А.А. Гідротермическая обработка і консервирование древесины, учебное пособие, 2010
  10. Рыженко В.И. Полная енциклопедия художественных работ по дереву, 2010
  11. Рыкунин С.Н., Кандалина Л.Н. Технология деревообробки, 2005
  12. Симонов М.Н., Торговников Г.И. Окорочные верстати, 1990
  13. Соловьев А.А., Коротков В.И. Наладка деревообрабатывающего оборудования, 1987
  14. Суханов В.Г. Круглопильные верстати для распиловки древесины, 1984
  15. Фокин С.В., Шпортько О.Н. Деревообработка, Технологии і обладнання, 2017