metalinstryment.com
Довідник по металорізальних верстатів та пресовому обладнанні

КД2130 Пресс однокривошипный простого дії открытый ненаклоняемый
схеми, опис, характеристики

Фото пресса однокривошипного простого дії открытого ненаклоняемого КД2130



Прессы механические, прессы гідравлические, верстати поперечно-строгальные

Відомості про виробника однокривошипного пресса КД2130

Производителем пресса КД2130 однокривошипного является:

В настоящее время пресс КД2130 производят:




Верстати выпускаемые Воронежским заводом КПО им. М.И. Калинина ВЗКПО


КД2130 пресс однокривошипный простого дії открытый ненаклоняемый. Назначение, область применения

Прессы однокривошипные простого дії открытые ненаклоняемые двухстоечные КД2130 предназначены для изготовления деталей операциями холодной листовой штамповки: гибкой, вырубкой, пробивкой, неглубокой вытяжкой і т.д., в том числе в составе автоматизированных комплексов.

Механические прессы КД2130 применяются на предприятиях различных отраслей промышленности, в цехах і на участках холодной листовой штамповки. Находят широкое применение при любом типе производства: мелкосерийном, серийном, массовом.

Прессы КД2130 предназначены для роботи как на одиночных, так і на непрерывных ходух при оснащении их автоматическими подачами (роликовыми, валковыми, шиберными і др.).

Принцип роботи і особливості конструкції пресса КД2130

Расчет усилий, необходимых для выполнения холодноштамповочных операций, рекомендуется производить, руководствуясь приведенной в паспорте пресса номограммой "усилие - ход" і справочниками по холодной листовой штамповке.

Величину допускаемых усилий на ползуне, в зависимости от угла поворота кривошипа, следует выбирать из графика допускаемых усилий на ползуне, помещенного в паспорте пресса.

Розміри штампуемого вироби на прессе определяются размерами штампового простору, величиной ходу ползуна і допускаемыми зусиллями на ползуне.

Прессы оборудованные автоматическими подачами могут использоваться в автоматических і поточных лініях.

Станина прессов литая чугунная коробчатой формы, воспринимает все зусилля, возникающие при штамповке.

Ползун, изготовленный из высокопрочного чугуна, коробчатой формы, з призматическими двусторонними направляющими. Левая направляющая регулируемая. Ползун снабжен предохранителем от перегрузки і клиновым пристрійм для выведения пресса из распора. Величина ходу ползуна регулируемая. В механізм регулировки введено кулачковое зацепление для сокращения часу на переналадку. Для устранения влияния массы ползуна і верхней половины штампа на работу прессов, а также для предотобертання произвольного опускания ползуна в аварийных ситуациях предусмотрены пневматические уравновешиватели.

Межштамповое пространство регулируется.

Привід ползуна — от електродвигуна через клиноременную передачу, маховик з вмонтированной в него муфтой-тормозом, і ексцентриковый вал.

Муфта-тормоз — жесткосблокированная, многодискова, фрикционная, з пневматическим включением; вмонтирована в маховик.

Електросхема блока керування выполнена бесконтактной і сдублированной. Предусмотрены контроль величины тормозного пути і керування системой змазки.

Электроблокировка і ограждения обеспечивают надежную работу і безопасное обслуговування прессов.




Особливості конструкції прессов К 2130

Пресс состоит из следующих основних вузлів:

Для приводу рабочих органів пресса используется:


Однокривошипный пресс простого дії. Загальні відомості

Прессы однокривошипные простого дії

Кінематична схема однокривошипного пресса:

  1. ползун
  2. тормоз
  3. маховик
  4. клиноремённая передача
  5. електродвигатель
  6. передавальний вал
  7. зубчатая передача
  8. муфта
  9. кривошипный вал
  10. шатун
  11. плита для крепления матрицы штампа

Кривошипный пресс - машина з кривошипно-шатунным механізмом, предназначенная для штамповки различных деталей.

Рабочей частью (инструментом) пресса является штамп, неподвижную часть которого крепят к столу, подвижную — к ползуну пресса. Ползун перемещается кривошипно-шатунным механізмом. За один оборот кривошипа шатун совершает полный ход, во время которого при движении ползуна вперёд происходит штамповка.

Усилие пресса создаётся за счёт крутящего момента, передаваемого кривошипному валу електроприводом. Привід однокривошипного пресса состоит из електродвигуна, маховика, муфты увімкнення, тормоза і понижающей зубчатой передачи, от которой вращение передаётся кривошипному валу. Електродвигун вращает маховик, за счёт силы инерции которого на кривошипном валу возникает крутящий момент. Пресс може работать в режиме одиночных ходов, т. е. з вимкненням муфты після каждого полного ходу, или в автоматическом режиме, когда муфта включена постоянно.

Важнейшие характеристики пресса, определяющие его технологические возможности:

Кривошипные прессы различных конструкций используют для объёмной і листовой штамповки.

По конструкції прессы имеют три основних исполнения:

Прессы наклоняемые позволяют использовать наклон станины для съема штампуемых изделий или удаления отходов под их собственным весом в просвет между стойками пресса.

Прессы з передвижным столом і рогом позволяют производить штамповку деталей, имеющих увеличенный размер по высоте, а также применять штампы различной высоты.

При замене стола рогом пресс може быть использован для обробки деталей з замкнутым контуром.

Конструкція наклоняемых і ненаклоняемых прессов з нерухомим столом передбачає возможность установки механізмов автоматичною подачі металла і пневматических подушек, а также встраивать их в автоматизированные поточные линии.


Обозначение кривошипных прессов

Значения первых двух цифр в обозначениях кривошипных прессов:

За двумя первыми цифрами следуют еще две цифры, обозначающие номинальное усилие пресса, а затем буква, которая показывает его модификацию в группе прессов данного вида.


Значения основного параметра (номинальное усилие пресса) в обозначениях прессов:

Таблиця 1. Обозначение основного параметра пресса

Обозн. пресса Усилие пресса, кН Обозн. пресса Усилие пресса, кН Обозн. пресса Усилие пресса, кН Обозн. пресса Усилие пресса, кН
14 25 кН 20 100 кН 30 1000 кН 40 10000 кН
15 31,5 кН 21 125 кН 31 1250 кН 41 12500 кН
16 40 кН 22 160 кН 32 1600 кН 42 16000 кН
18 63 кН 23 200 кН 33 2000 кН 43 20000 кН
24 250 кН 34 2500 кН 44 25000 кН
25 315 кН 35 3150 кН 45 31500 кН
26 400 кН 36 4000 кН 46 40000 кН
28 630 кН 38 6300 кН 48 63000 кН

Пример обозначения механических прессов:


Обозначения моделей прессов серии 2130






Габаритные розміри робочого простору пресса КД2130

КД2130 Габаритные розміри робочого простору однокривошипного пресса КД2130 открытого ненаклоняемого

Габаритные розміри робочого простору пресса КД2130


Загальний вигляд однокривошипного пресса К2130

К2130 Загальний вигляд  кривошипного открытого ненаклоняемого пресса

Фото однокривошипного пресса К2130


Загальний вигляд однокривошипного пресса К2130

К2130 Загальний вигляд  кривошипного открытого ненаклоняемого пресса

Фото однокривошипного пресса К2130


Загальний вигляд однокривошипного пресса К2130

К2130 Загальний вигляд  кривошипного открытого ненаклоняемого пресса

Фото однокривошипного пресса К2130


Режими роботи пресса К 2130

Штамповка штучных заготовок разрешается только при наличии защитного пристроя, исключающего нахождение рук в опасной зоне в период опускания ползуна. Ползун останавливается одновременно з прекращением нажима на кнопки і педаль.


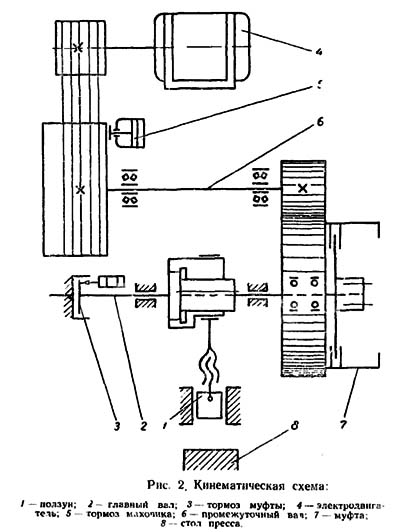
Кінематична схема ненаклоняемого пресса КД2130

К-2130 Кінематична схема однокривошипного открытого ненаклоняемого пресса

Кінематична схема однокривошипного пресса КД2130

  1. ползун;
  2. вал главный ексцентриковый;
  3. тормоз муфты;
  4. електродвигатель;
  5. тормоз маховика;
  6. промежуточный вал;
  7. муфта;
  8. стол пресса;



КД2130 Пресс однокривошипный открытый ненаклоняемый простого дії. Відеоролик.




Технічні характеристики пресса КД2130

Наименование параметра К2130Б К2130В КД2130
Основні параметри
Номинальное усилие пресса, кН (т) 1000 (100) 1000 (100) 1000 (100)
Наибольший ход ползуна (штока), мм 10..130 10..130 10..130
Частота ходов ползуна непрерывных, 1/мин 100 72 72
Частота ходов ползуна одиночных от кнопки, 1/мин 45 45 45
Розміри стола, мм 850 х 560 850 х 560 850 х 560
Розміри отверстия в столе, мм 420 х 280 420 х 280 420 х 280
Диаметр отверстия в столе, мм 360 360 360
Наибольшее расстояние между столом і ползуном в его нижнем положении - закрытая высота пресса, мм 280..560 400 390
Расстояние от оси штока до станины (вылет), мм 320 320 320
Величина регулировки расстояния между столом і ползуном, мм 100 100 100
Расстояние между стойками станины в свету, мм - 400 400
Расстояние между подштамповой плитой і ползуном при максимальном ходе в НМТ при верхнем регулировании ползуна, мм - 300 300
Толщина подштамповой плиты, мм 100 100 100
Величина робочого ходу ползуна до крайнего нижнего положения, на котором пресс развивает номинальное усилие при непрерывных ходух (Расстояние недохода ползуна до НМТ), мм 2,5 2,5 2,5
Величина робочого ходу ползуна до крайнего нижнего положения, на котором пресс развивает номинальное усилие при одиночных ходух (Расстояние недохода ползуна до НМТ), мм 5,0 5,0 5,0
Высота стола над уровнем пола, мм 700 700 700
Наибольший ход выталкивателя в ползуне, мм 40 40 40
Давление воздуха в сети пресса, минимальное-максимальное, МП 0,45..1,0 0,45..1,0 0,45..1,0
Расход сжатого воздуха (в режиме одиночный ход), литр/цикл 4,5 4,5 4,5
Технологическая работа, при непрерывных ходух, Дж 2200 2200 2200
Технологическая работа, при одиночных ходух, Дж 4500 4500 4500
Електроустаткування
Количество електродвигателей 2 2 2
Електродвигун головного привода, кВт 11,8 11,8 11,8
Електродвигун гідронасоса выталкивателя, кВт - -
Габарити і масса пресса
Габарити пресса (длина ширина высота), мм 1555 х 1850 х 2935 1555 х 1850 х 2725 1810 х 1860 х 2980
Масса пресса, кг 9500 6800 7800

    Список литературы:

  1. Банкетов А.Н., Бочаров Ю.А., Добринский Н.С. і др. Кузнечно-прессовое обладнання, 1970
  2. Бочаров Ю.А., Прокофьев В, Н. Гідропривід кузнечно-прессовых машин, 1969
  3. Белов А.Ф., Розанов Б. В., Линц В. П. Объемная штамповка на гідравлических прессах, 1971
  4. Живов Л.И. Кузнечно-штамповочное обладнання, 2006
  5. Кузьминцев В.Н. Ковка на молотах і прессах, 1979
  6. Розанов Б.В. Гідравлические прессы, 1959
  7. Титов Ю.А. Обладнання кузнечно-прессовых цехов, 2001
  8. Щеглов В.Ф. Кузнечно-прессовые машины, 1989
  9. Берлет Разработка чертежей поковок, 2001
  10. Рудман Л.И. Справочник по оборудованию для листовой штамповки, 1989
  11. Романовский В.П. Справочник по холодной штамповке, 1965
  12. Охрименко Я.М. Технология кузнечно-штамповочного производства, 1966
  13. Кузьминцев В.Н. Ковка на молотах і прессах, 1979
  14. Мещерин В.Т. Листовая штамповка. Атлас схем, 1975








Опыт накапливается прямо пропорционально разрушенному оборудованию.

Закон Мерфи