metalinstryment.com
Довідник по металорізальних верстатів та пресовому обладнанні

7А420 долбежный верстат з механическим приводом
опис, характеристики, схеми

7А420 долбежный верстат з механическим приводом







Відомості про виробника долбежного верстата верстата 7А420

Разработчиком і изготовителем долбежного верстата 7А420 является Саракташский станкостроительный завод "Коммунар", г. Саракташ, Оренбургская обл.

Саракташский станкостроительный завод основан в 1941 году. С 70-х годов специализируется на разработке, производстве і поставках широкого спектра гідроприводов для промышленного оборудования, насосов, клапанной апаратури, питателей, гідрораспределителей.





Верстати, выпускаемые Саракташским станкостроительным заводом "Коммунар"


7А420 долбежный верстат з механическим приводом. Назначение і область применения

Разработчик — Гомельский станкостроительный завод им. С. М. Кирова.

Начало серийного производства долбежного верстата 7А420 - 1968 год.

Долбежный верстат 7А420 з механическим приводом предназначен для изготовления шпоночных пазов, шлицев і канавок на фасонных і плоских поверхностях в мелкосерийном і единичном производстве, а также в ремонтных мастерских.

Верстат 7А420 предназначен для обробки долблением плоских і фасонных поверхностей, пазов і канавок в разнообразных деталях, а также различных видов штампов, устанавливаемых непосредственно на столе или в приспособлениях. Возможность поворота рамы з долбяком позволяет обрабатывать наклонные плоскости, не меняя позиции детали.

Стол перемещается как вручную, так і механически. Круговая подача стола дает возможность обрабатывать на станке круглые детали і зубчасті колеса.

Особливості долбежного верстата 7А420

Верстат 7А420 оснащен:

Верстат является одной из моделей гаммы долбежных верстатів. Он характеризуется високою производительностью, удобством керування і обслуживания, надежностью і безопасностью в работе. В автоматическую линию верстат не встраивается.

Шероховатость обработанной поверхности не менее V 6

Класс точності верстата Н


Основні технические данные долбежного верстата 7А420:

Изготовитель - Саракташский станкостроительный завод "Коммунар".






Габаритные розміри робочого простору долбежного верстата 7а420

Габарит робочого простору долбежного верстата 7А420

Габарит робочого простору долбежного верстата 7а420


Посадочные і присоединительные базы долбежного верстата 7А420. Резцовая головка

Резцовая головка долбежного верстата 7А420

Резцовая головка долбежного верстата 7а420


Розміри робочого стола верстата 7А420

Розміри робочого стола долбежного верстата 7А420

Рабочий стол долбежного верстата 7а420


Загальний вигляд долбежного верстата 7А420

Загальний вигляд  і органы керування долбежного верстата 7А420

Фото долбежного верстата 7а420


3-D модель долбежного верстата 7А420

3-D модель долбежного верстата 7А420 з сайта asmcg-studio.ru

3-D модель долбежного верстата 7А420 з сайта asmcg-studio.ru. Скачать в увеличенном масштабе



3-D модель долбежного верстата 7А420

3-D модель долбежного верстата 7А420 з сайта asmcg-studio.ru

3-D модель долбежного верстата 7А420 з сайта asmcg-studio.ru. Скачать в увеличенном масштабе



3-D модель долбежного верстата 7А420

3-D модель долбежного верстата 7А420 з сайта asmcg-studio.ru

3-D модель долбежного верстата 7А420 з сайта asmcg-studio.ru. Скачать в увеличенном масштабе



3-D модель долбежного верстата 7А420

3-D модель долбежного верстата 7А420 з сайта asmcg-studio.ru

3-D модель долбежного верстата 7А420 з сайта asmcg-studio.ru. Скачать в увеличенном масштабе



3-D модель долбежного верстата 7А420

3-D модель долбежного верстата 7А420 з сайта asmcg-studio.ru

3-D модель долбежного верстата 7А420 з сайта asmcg-studio.ru. Скачать в увеличенном масштабе



3-D модель долбежного верстата 7А420

3-D модель долбежного верстата 7А420 з сайта asmcg-studio.ru

3-D модель долбежного верстата 7А420 з сайта asmcg-studio.ru. Скачать в увеличенном масштабе



Розташування складових частин долбежного верстата 7А420

7А420 Розташування складових частин долбежного верстата

Розташування складових частин долбежного верстата 7а420


Список групп складових частин долбежного верстата 7А420

Все группы верстата выполнены в окремих корпусах і установлены на станке, что облегчает их сборку при изготовлении і ремонтi, Насоснолубрикаторная группа находится внутри верхней станины і установлена на коробке швидкостей.


Розташування органів керування долбежным верстатом 7А420

Розташування органів керування долбежным верстатом 7А420

Розташування органів керування долбежным верстатом 7а420


Специфікація органів керування долбежного верстата 7А420

  1. Маховик для ручного переміщення долбяка
  2. Рычаги для увімкнення і виключення фрікциону
  3. Кнопка увімкнення ускоренного переміщення стола
  4. Кнопка «Пуск»
  5. Кнопка «Стоп»
  6. Квадрат для установки длины ходу долбяка
  7. Рукоятка установки числа двойных ходов долбяка
  8. Рукоятка зажиму долбяка
  9. Квадрат для изменения развода долбяка
  10. Маховик для ручной поздовжньої подачі стола
  11. Маховик для ручной круговой подачі стола
  12. Маховик для ручной поперечної подачі стола
  13. Рукоятка увімкнення круговой подачі стола
  14. Гайка регулировки наклона долбяка
  15. Кнопка увімкнення местного освещения
  16. Барабан переключения подачі стола
  17. Барабан отключения подачі стола
  18. Рукоятка фиксации стола
  19. Рукоятка реверсирования подачі стола
  20. Кнопка ускоренной подачі масла к направляющим долбяка




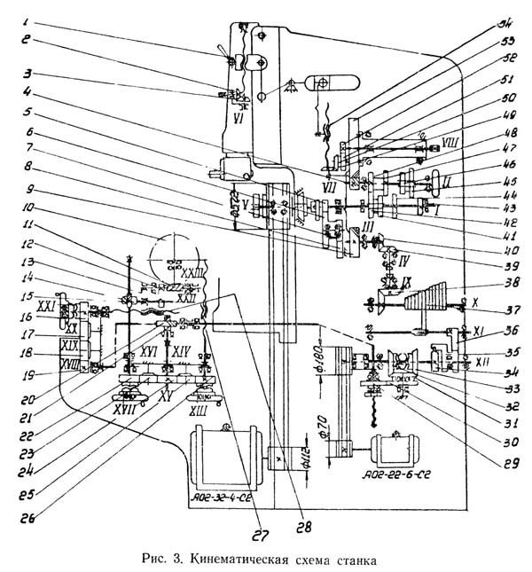
Кінематична схема долбежного верстата 7А420

7А420 Схема кінематична долбежного верстата

Кінематична схема долбежного верстата 7а420

Схема кінематична долбежного верстата 7А420. Дивитись у збільшеному масштабі



Конструкція верстата 7а420

Долбежный верстат моделі 7А420 состоит из следующих групп (рис, 5): группа № 10 — станина; группа № 20 — коробка швидкостей; группа № 21 —привод; группа № 22 — насосно-лубрикаторная; группа № 30 — долбяк; группа № 40 — кулисный механізм; группа № 50 — коробка подач; группа № 60 — стол; группа № 80 — електрообладнання; группа № 90 - принадлежности (на рисунке не показана)-

Все группы верстата выполнены в окремих корпусах і установлены на станке, что облегчает их сборку при изготовлении і ремонтi, Насоснолубрикаторная группа находится внутри верхней станины і установлена на коробке швидкостей.

Станина (группа 10)

Станина состоит из двух частин: верхней і нижней. Между двумя щеками верхней станины установлена рама з долбяком. На боковых сторонах станины имеются платики, на которых установлены привід і коробка швидкостей.

Внутренняя часть станины служит і масляной ванной. Верхня часть станины устанавливается на нижней і закрепляется болтами. В нижней частини станины установлены два електродвигуна, а з наружной задньої стороны прикреплен електрошкаф. На призматических направляючих смонтирован стол з салазками. С правой стороны нижней частини станины установлена коробка подач.

Коробка швидкостей (группа 20)

7А420 Креслення коробки швидкостей долбежного верстата

Коробка швидкостей долбежного верстата 7а420

Креслення коробки швидкостей долбежного верстата 7А420. Дивитись у збільшеному масштабі



Коробка швидкостей имеет четыре вала, смонтированных на підшипниках качения в отдельном корпусе (рис. 6). На вал 1, соединенный з валом приводу ексцентриковой муфтой 11, посажен подвижной блок шестерен 10—9 і неподвижные шестерни 7 і 8.

Вал II несет на себе подвижный блок шестерен 5—4 і неподвижные шестерни 3 і 2.

Переключенням блок-шестерни через шестерню 1, соединенную з кулисной шестерней, післядней сообщаются четыре различные скорости обертання.

На валике III посажена шестерня 15, соединенная з кулисной шестерней, і шестерня 16, которая через шестерню 17 передает рух на вал IV і далее на коробку подач.

Все скорости переключаются одной рукояткой 12 через переводки 13 і 14.

Продольный люфт валов регулируется компенсаторными кольцами і поджимными гайками.

Маховик 6 служит для приведения во вращение вала II. Когда есть необходимость ручного переміщення долбяка. Для етого необходимо маховик потянуть на себя і ввести в зацепление шлицы маховика і вала.

Привід (группа 21)

Привід долбежного верстата 7А420

Привід долбежного верстата 7а420

Привід долбежного верстата 7А420. Дивитись у збільшеному масштабі



От индивидуального електродвигуна через клиновые ремни вращение передається шкиву приводу 2 (рис. 7), который посажен на двух конических шарикопідшипниках, запрессованных на втулку корпуса.

На наружном шлицевом кінці полого вала V смонтирован дисковый фрикцион 1. Внутри полого вала проходит тяга 8, резьбовой конец которой соединен з муфтой фрікциону 7, а другой конец — з конусной тормозной муфтой 6.

Тормозное пристрій позволяет быстро останавливать привод. Вилка 9, сидящая на тяге 4, сообщает рух тормозной муфте, а, следовательно, і механізму фрікциону.

Включают і выключают привід сблокированными рукоятками 3 і 5, что облегчает керування верстатом.

Насосно-лубрикаторная группа (группа 22)

Насосно-лубрикаторная группа долбежного верстата 7А420

Насосно-лубрикаторная группа долбежного верстата 7а420

Насосно-лубрикаторная группа долбежного верстата 7А420. Дивитись у збільшеному масштабі



Эксцентриковая муфта 4 (рис. 8) служит приводом плунжерного насоса.

Механізм змазки монтируется на корпусе коробки швидкостей і помещается внутри верхней частини станины. Плунжерный насос 1 через фильтр 5 подает масло в маслораспределитель 3 і обильно смазываются коробка швидкостей і кулисный механізм.

Через лубрикатор 2 осуществляется дозирующая смазка гайки, серьги кулисного механізма і направляючих долбяка. Регулируют систему змазки через заднее окно верхней частини станины.

Долбяк (группа 30)

Долбяк долбежного верстата 7А420

Долбяк долбежного верстата 7а420

Долбяк долбежного верстата 7А420. Дивитись у збільшеному масштабі



Долбяк 6 (рис. 9) представляет собой корпус коробчатой формы, который скользит по направляющим рамы 5. На нижней частини долбяка устанавливают резцовую головку 1, которая поворачивается на 90° в обе стороны. Отсчет градусов ведется по нониусу на шейке долбяка. Резцовая головка закрепляется конусом 2, который затягивается болтом 3. Для установки места долбления необходимо, ослабив затяжку рукоятки 4 рукояткой, надетой на квадрат 13, через зубчасті колеса 12 і 9 вращать винт VI. После установки долбяка на требуемую высоту относительно стола рукоятку 4 вновь затягивают.

На винте VI сидит гайка 7, которая соединена через серьгу 8 з кулисным механізмом. На станке можно обрабатывать наклонные плоскости до 5° путем установки рамы долбяка, для чего необходимо ослабить упор 10 і вращать гайку телескопического гвинта 11.

Отсчет ведется по шкале на раме. После установки угла наклона долбяка упор 10 вновь затягивают.

Кулисный механізм (группа 40)

Кулисный механізм долбежного верстата 7А420

Кулисный механізм долбежного верстата 7а420

Кулисный механізм долбежного верстата 7А420. Дивитись у збільшеному масштабі



Кулисный механізм предназначен для преобразования вращательного руху кулисной шестерни в возвратно-поступательное рух долбяка (рис. 10). Корпус 5, смонтированный в коробке швидкостей, вращаясь на двух конических роликовых підшипниках, несет на себе шестерню 11.

На направляючих корпуса 5 находится палец 4, на который нaдет камень 3. Кулиса 2 смонтирована в верхней частини станины на оси 1 і одним концом соединена з серьгой 8 (см. рис. 9).

При вращении кулисной шестерни палец камня 4 совершает вращательное рух вокруг оси корпуса 5. Камень 3, вращаясь вместе з пальцем, скользит по направляющим в пазу кулисы і заставляет її совершать качание на оси, так происходит возвратно-поступательное рух долбяка.

Длину ходу долбяка устанавливают вращением вала VIII кривошипной рукояткой, надетой на квадрат. Через шестерни 10, 9, 8 і 7 вращение передається винту VII.

Палец передвигается з помощью гвинта, і по мере изменения расстояния между осями пальца 4 і корпуса 5 будет изменяться длина ходу долбяка. Отсчет ведется по нониусу 6.

Коробка подач (группа 50)

Коробка подач долбежного верстата 7А420

Коробка подач долбежного верстата 7а420

Коробка подач долбежного верстата 7А420. Дивитись у збільшеному масштабі



Коробка подач (рис. 11) осуществляет продольные, поперечные і круговые подачі стола і его ускоренное перемещение. Валик IX через шарнирные муфты соединен з коробкой швидкостей і через шестерни 5 і 15 сообщает вращательное рух валу X з набором ексцентричных кулачков, позволяющих осуществлять двенадцать различных подач. Ролик рычага 14 в контакте з кулачками совершает колебательное движение, а, следовательно, і зубчатый сектор 16, сидящий нерухомо на другом кінці вала XI, также совершает колебание, находясь в зацеплении з шестерней 17. На шестерню 17 насажен рычаг 4, несущий на себе собачку 3, что позволяет через храповое колесо 18 осуществлять прерывистую подачу. Далее через реверсивный механізм (зубчасті колеса 9, 10, 7, 8) рух передається на шестерню 1 і через предохранительную муфту 2 — на вал подач XVIII.

Рычаг 14 передвигается вдоль оси вала XI з помощью переводки 20, закрепленной на валу 19, на котором сидит барабан переключения подач. Величина подачі устанавливается по нониусу барабана 16 (см. рис. 27). Эксцентрик 6 служит для виключення подачі.

Ускоренное перемещение осуществляется от индивидуального електродвигуна через шкив 12 і обгонную муфту 11. Реверсирование производится включением кулачковой муфты 13 на валу XII з шестернями 10, 9.

При перегрузках для предотобертання поломок в коробке имеется муфта срабатывания 2, которая отжимает пружину і выходит из кулачкового зацепления з шестерней 1. В етих случаях необходимо, выключив верстат, снять нагрузку, а затем вновь продолжать работу.

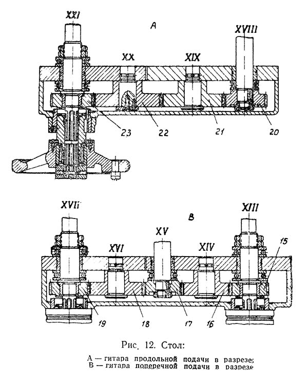
Стол (группа 60)

Стол долбежного верстата 7А420

Стол долбежного верстата 7а420

Стол долбежного верстата 7А420. Дивитись у збільшеному масштабі



Стол верстата смонтирован на нижней частини станины і состоит из нижних салазок 2 (рис. 12), верхних салазок і поворотного круглого стола 5, Стол верстата имеет продольные, поперечные і круговые подачі как ручні, так і механические, включают которые соответственно маховичками 1, 6 і 7.

Для увімкнення механической подачі маховички толчком подаются от себя до сцепления кулачковых муфт, для ручной подачі маховички подаются на себя. Все руху от коробки подач до стола сообщаются через вал XVIII.

Круговые і поперечные руху сообщаются через фартук з шестернями 14, 13, 19, 18, 17, 16 і 15. продольные — через фартук з шестернями 23, 22, 21 і 20. От вала XVII через шестерни 8,9,12, 10 і откидной червяк 11, который входит в зацепление з шестерней 4, столу сообщается круговое движение. Все три руху стола имеют по двенадцать подач і ускоренное перемещение. На круговом столе 5 имеется фиксирующее пристрій на двенадцать точок.

Включают ускоренное перемещение кнопкой, реверсирование — рукояткой реверса подач (см. рис. 27).





Подготовка верстата к первоначальному пуску. Первоначальный пуск

Антикоррозийные покрытия, нанесенные перед упаковкой верстата на обработанные неокрашенные поверхности, удаляются авиационным бензином или керосином.

Перед пуском верстата необходимо:

1. Залить масляную ванну верхней частини станины маслом машинным Л, 40 л, ГОСТ 1707—51 до уровня рисок маслоуказателя.

Наполнить маслом масляную ванну коробки подач.

2. Смазать шприцмасленкой все точки, указанные в схеме.

3. Смазать направляющие станины і салазок поливкой из масленок, а также сверху скосы рамы, клина, долбяка. Для змазки механізма круглого стола необходимо установить стол на 270 деление, отвернуть пробку на поверхности стола і залить масло. В етом случае смазывается только часть механізма. Для змазки остальной частини механізма необходимо стол установить на деление 250 і залить масло.

После пуска верстата при нейтральном положении рукоятки швидкостей і при включенном приводе необходимо следить за появлением пульсации масла на направляючих долбяка.

Нажатие кнопки 20 рис. 27 ускоряет подачу масла к направляющим.

Перед пуском верстата необходимо усвоить назначение і действие органів керування (см. раздел «Паспорт верстата»), обкатать верстат на холостом ходу, опробовать переключение швидкостей, подач стола, а также проверить работу смазочной системы-

При переключении швидкостей може быть препятствие перемещению рукоятки, ето значит, что шестерни неправильно зацепляются.

В етом случае необходимо маховиком 6 провернуть шестерни, одновременно з небольшим усилием переключить передвижную рукоятку 12 (см. рис. 6).

ВНИМАНИЕ: Не допускается переключение швидкостей на ходу, так как ето може повести к поломке зубьев шестерен (см. предупредительный знак на станке).

Для переключения подачі необходимо кривошипной рукояткой, надетой на квадрат оси ексцентрика, путем поворачивания ексцентрика 6 (см. рис, 11) вывести из контакта ролик рычага 14, т. е. выключить подачу, після чего установить требуемую подачу.

Включить ускоренное перемещение можно в любой момент роботи верстата. Для увімкнення необходимо нажать кнопку 2КУ.


Налаштування і наладка верстата

Число двойных ходов долбяка устанавливается рукояткой коробки швидкостей 12 (см. рис. 6) в соответствии з таблицей швидкостей. Длину ходу долбяка устанавливают путем изменения ексцентриситета кулисного пальца, вращая квадрат вала VIII. Отсчет ведется по лимбу.

Работа долбяка на требуемом расстоянии от стола устанавливается путем обертання кривошипной рукояткой квадрата 13 (см рис. 9), при етом рукоятка 4 должна быть отпущена.

После установки долбяка рукоятка 4 вновь затягивается.

Величины подач устанавливаются барабаном переключения, отсчет ведется по лимбу.

Режущий инструмент устанавливается на резцовой головке 1 (рис. 9) і закрепляется винтом.

Обрабатываемое изделие крепится непосредственно на столе верстата или на приспособлении, установленном на столе.


Регулювання верстата

В процессе експлуатации верстата в результате износа возникает необходимость в регулировании окремих вузлів і елементів.

Натяжение ремней приводу і ускоренного ходу регулируется опусканием подмоторных плит, находящихся внутри нижней частини станины, в результате подвинчивания регулировочных гаек.

Износ направляючих верхних і нижних салазок і долбяка регулируется клиньями посредством регулирующих винтов.

Износ підшибників на всех вузлах регулируется компенсаторными кольцами і подтягиванием регулирующих гаек.

При регулировке путем подтягивания клиньєв зазор в направляючих должен быть не более 0,03 мм, при етом должно быть свободное перемещение движущихся частин.

При регулировке зазору в підшипниках необходимо обеспечить легкое вращение валов без люфта.


Особливості разборки і сборки верстата при ремонтi

Прежде чем приступить к разборке верстата, обязательно отключить верстат от електросети вводным выключателем.

Перед снятием коробки швидкостей необходимо отсоединить трубку от маслораспределителя 3 (рис. 8) лубрикатора 2 и, отвернув болты, снять маслогруппу, укрепленную на стенке коробки швидкостей. Эту работу необходимо выполнять через окно верхней станины. Затем разъединить коробку швидкостей з коробкой подач і снять рукоятку приводу з корпуса.

До снятия коробки подач необходимо через окно станины снять ремни со шкива, отвернуть крышку коробки і отвинтить з кінця вала гайки; при етом необходимо пользоваться струбциной для сжатия і плавного ослабления пружины. Затем, сняв маховичок і кожух гітари продольного ходу стола, вывести вал XVIII из коробки подач. Только після етого отвернуть болты і снять коробку.

Разборка і монтаж остальных вузлів прост і не требует описання.





7А420 Долбежный верстат з механическим приводом. Відеоролик.




Технічні характеристики долбежного верстата 7А420

Наименование параметра 7А420 7402
Основні параметри верстата
Класс точності верстата Н Н
Наибольший ход долбяка, мм 20..200 20..200
Пределы двойных ходов в минуту (число швидкостей) 40..163 (4) 32..202 (6)
Диаметр стола, мм 500 500
Расстояние от плоскости стола до направляючих долбяка, мм 320 320
Расстояние от долбяка до станины (вылет), мм 480 450
Установочное регулювання ходу долбяка, мм 264 265
Наибольшее усилие різання, кН (кгс) 15,0 (1500) 15,0 (1500)
Наибольшие переміщення стола продольные, мм 500 500
Наибольшие переміщення стола поперечные, мм 400 400
Наибольшие переміщення стола круговые, град 360° 360°
Цена деления лимба продольного переміщення, мм 0,05 0,05
Цена деления лимба поперечного переміщення, мм 0,05 0,05
Цена деления лимба кругового переміщення, мин 2' 2'
Продольное перемещение за один оборот маховика, мм 6 6
Поперечное перемещение за один оборот маховика, мм 6 6
Круговое перемещение за один оборот маховика, град
Пределы подач за один двойной ход продольные, мм (число ступеней) 0,1..1,2 (12) 0,1..1,2 (12)
Пределы подач за один двойной ход поперечные, (число ступеней) мм 0,1..1,2 (12) 0,1..1,2 (12)
Пределы подач за один двойной ход круговые, (число ступеней) град 0,064..0,81 (12) 0,066..0,799 (12)
Скорость швидкого переміщення стола продольная, мм/мин 1,8
Скорость швидкого переміщення стола поперечная, мм/мин 1,8
Скорость швидкого переміщення стола круговая, град/сек 3,4
Наибольший угол наклона долбяка, град 5° от станины 5° от станины
Наибольший угол поворота головки резцедержателя, град ±90° ±90°
Наибольшее сечение резца (высота х ширина), мм 32 х 20 32 х 20
Електроустаткування. Привод
Количество електродвигателей на станке 2 2
Електродвигун приводу головного руху, кВт (об/мин) 2,8 1,8; 3,0; 3,6 (710, 1460, 2920)
Електродвигун ускоренного переміщення стола, кВт (об/мин) 1,1 (1400) 1,1 (1400)
Суммарная мощность всех електродвигателей, кВт 4,7
Габарити і масса верстата
Габарити верстата (длина ширина высота), мм 2300 х 1270 х 2175 1900 х 1270 х 2175
Масса верстата, кг 2000 2000


    Список литературы:

  1. Долбежный верстат 7А420. Руководство, 1968

  2. Копылов Р.Б. Работа на строгальных і долбежных верстатах, 1975
  3. Петруха П.Г. Резание конструкционных материалов, режущие инструменты і верстати, 1974
  4. Яковцев А.Д. Работа на строгальных і долбёжных верстатах, 1966