metalinstryment.com
Довідник по металорізальних верстатів та пресовому обладнанні

6Е75ПФ1 Верстат фрезерный широкоуніверсальний з УЦИ
схеми, опис, характеристики

6Е75ПФ1 Верстат фрезерный широкоуніверсальний з УЦИ







Відомості про виробника фрезерного широкоуніверсального верстата 6Е75ПФ1

Верстат моделі 6Е75ПФ1 выпускался предприятием Ереванский завод фрезерных верстатів, основанный в 1957 году.





Верстати, выпускаемые Ереванским заводом фрезерных верстатів, ЕрФрез


6Е75ПФ1 Верстат фрезерный широкоуніверсальний инструментальный підвищеної точності з УЦИ. Назначение і область применения

Верстат фрезерный широкоуніверсальний з пристрійм цифровой индикации (УЦИ) 6Е75ПФ1 предназначен для фрезерування деталей цилиндрическими, дисковыми і фасонными фрезами при помощи горизонтального шпинделя, і торцовыми, кінцівыми і шпоночными фрезами при помощи поворотного вертикального шпинделя, который при необходимости може быть повернут под углом.

Фрезерный верстат 6Е75ПФ1 применяется в единичном і мелкосерийном производстве в инструментальных і механических цехах машиностроительных предприятий.

Наличие большого количества приладдя к верстату 6Е75ПФ1 делает его удобным для роботи в инструментальных цехах машиностроительных заводов при изготовлении пристосувань, инструмента, рельефных штампов і прочих изделий.

Принцип роботи і особливості конструкції верстата

Верстат 6Е75ПФ1 снабжён пристрійм цифровой индикации типа Ф-5290 предназначенным для отсчёта переруху рабочих органів верстата.

Обрабатываемая деталь може быть установлена на основном столе з вертикальной рабочей плоскостью или на угловом столе з горизонтальной рабочей плоскостью.

Технічна характеристика верстата, широкий ряд частот обертання шпинделя і подач, наличие механических подач і ускоренных перемещений обуславливает економичную обработку различных деталей из различных материалов за счет применения скоростных режимов різання і снижения вспомогательного часу на переустановку заготовки.

К верстату прилагается удобный для использования инструментальный шкаф, а также комплект пристосувань і инструмента.

Технічні возможности верстата могут быть значительно расширены применением приладдя і пристосувань, поставляемых по особому заказу.

Применяя резцовую, быстроходную, долбежную головки і комплект вспомогательного инструмента, можно выполнить на станке расточные, сверлильные і долбежные роботи.


Основні характеристики фрезерного широкоуніверсального верстата 6Е75ПФ1

Производитель: Ереванский завод фрезерных верстатів.






Габаритные розміри робочого простору і присоединительные базы верстата 6Е75ПФ1

Габаритные розміри робочого простору і присоединительные базы верстата 6Е75ПФ1

Габаритные розміри робочого простору верстата 6е75пф1


Загальний вигляд широкоуніверсального фрезерного верстата 6Е75ПФ1

Фото широкоуніверсального фрезерного верстата 6е75пф1

Фото широкоуніверсального фрезерного верстата 6е75пф1



Фото широкоуніверсального фрезерного верстата 6е75пф1

Фото широкоуніверсального фрезерного верстата 6е75пф1



Фото широкоуніверсального фрезерного верстата 6е75пф1

Фото широкоуніверсального фрезерного верстата 6е75пф1



Загальний вигляд  широкоуніверсального фрезерного верстата 6Е75ПФ1

Фото широкоуніверсального фрезерного верстата 6е75пф1

Загальний вигляд широкоуніверсального фрезерного верстата 6Е75ПФ1. Дивитись у збільшеному масштабі



Загальний вигляд  широкоуніверсального фрезерного верстата 6Е75ПФ1

Фото широкоуніверсального фрезерного верстата 6е75пф1


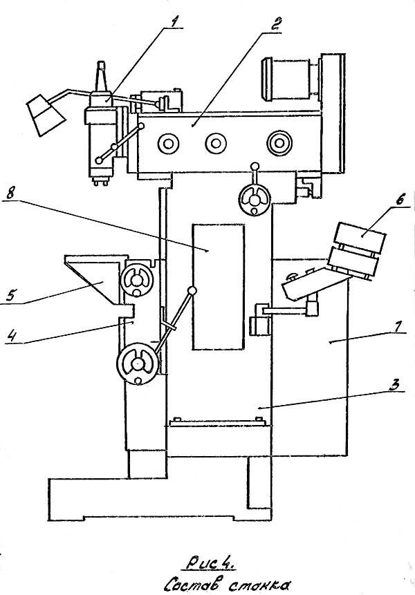
Розташування складових частин фрезерного верстата 6Е75ПФ1

Розташування складових частин фрезерного верстата 6Е75ПФ1

Розташування складових частин фрезерного верстата 6е75пф1


Список складових частин широкоуніверсального фрезерного верстата 6Е75ПФ1

  1. Вертикальный шпиндель - 6Е75ПФ1.04.000
  2. Бабка шпиндельна - 6Е75ПФ1.06.000
  3. Станина - 6Е75ПФ1.07.000
  4. Суппорт - 6Е75ПФ1.03.000
  5. Стол угловой горизонтальный - 75 81 001Б
  6. Пульт керування - 6Е75ПФ1.09.30.000
  7. Электрошкаф - 6Е75ПФ1.09.40.000
  8. Гідростанція - 6Е75ПФ1.02.000

Список основних съемных вузлів і приладдя універсального фрезерного верстата 6Е75ПФ1

  1. Головка быстроходная - 6Е75ПФ1.88.000
  2. Головка долбежная - 6Е75ПФ1.87.000
  3. Ділильна головка - 5П85001
  4. Гітара к делительной головке - 75 86 001Б
  5. Стол угловой універсальний - 5П82001
  6. Тиски универсальные - 6A75B.89.001
  7. Резцедержатель - 6725В.8.40.000
  8. Центроискатель - 6725В.8.10.000

Розташування органів керування фрезерным верстатом 6Е75ПФ1

Розташування органів керування фрезерным верстатом 6Е75ПФ1

Розташування органів керування фрезерным верстатом 6е75пф1


Список органів керування фрезерным верстатом 6Е75ПФ1

  1. Рукоятка переміщення гильзы
  2. Кольцо установки переміщення гильзы на размер
  3. Рукоятки переключения швидкостей
  4. Рукоятка переключения режима роботи з горизонтального на вертикальний шпиндель
  5. Зажим шпинделя
  6. Рукоятка увімкнення переміщення шпиндельной бабки
  7. Рукоятка зажиму гильзы
  8. Маховик ручного переміщення бабки
  9. Рукоятка керування вертикальным столом
  10. Маховик ручного керування вертикального стола "вверх" "вниз"
  11. Маховик ручного керування вертикального стола в продольном направлении
  12. Рукоятка зажиму основного вертикального стола
  13. Рукоятка зажиму суппорта
  14. Рукоятка зажиму бабки

Пульт керування фрезерным верстатом 6Е75ПФ1

Пульт керування фрезерным верстатом 6Е75ПФ1

Пульт керування фрезерным верстатом 6е75пф1





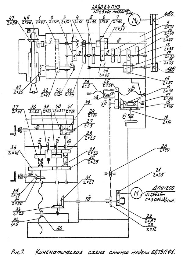
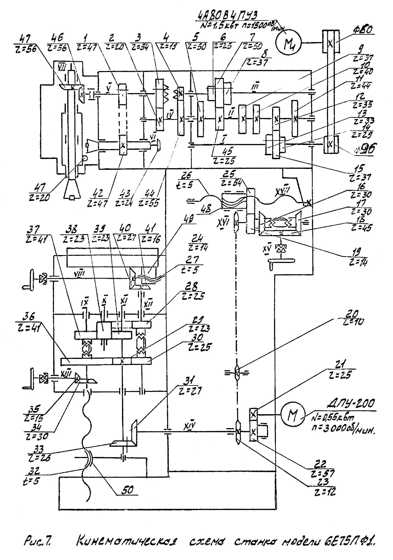
Схема кінематична універсального фрезерного верстата 6Е75ПФ1

Схема кінематична універсального фрезерного верстата 6Е75ПФ1

Кінематична схема фрезерного верстата 6е75пф1

Схема кінематична універсального фрезерного верстата 6Е75ПФ1. Дивитись у збільшеному масштабі



Опис кінематичної схеми універсального фрезерного верстата 6Е75ПФ1


Ланцюг головного руху фрезерного верстата 6Е75ПФ1

От електродвигуна M1 мощностью 1,5 кВт через поликлиновую передачу руху передається на вал I коробки швидкостей. От вала I через зубчасті колеса блока шестерен 13, 14, 15 і шестерен 10, 11, 12 руху передається на вал II, на котором образует 3 различных числа оборотів, посредством шестерен 9,45;5 і 6,7,8 на валу можно получить 9 чисел оборотів.

Таким образом, мы получаем 9 различных чисел оборотів из верх него предела швидкостей, которые через кулачковые муфты шестерни 4 і 3, передают на вал V і через шестерню I і 42 на горизонтальный шпиндель VI.

Девять низших оборотів мы получаем при отключенных муфтах 4 і 3 через шестерни 4 і 44 на вал IV шестерки 2 і 3 вал V, шестерни I і 42 на горизонтальный шпиндель VI.

Таким образом, различные положения блоков шестерки перебора дают возможность получать на шпинделе 18 различиях швидкостей.

Шпиндель VII вертикальной головки получает вращение от вала V через муфту і коническую пару 46, 47.

Для обеспечения минимального уровня шума і максимальной жесткости головного привода, коробка швидкостей размещена на шпиндельной бабке і выход её непосредственно связан со шпинделем.

Такое количество работающих передач обеспечивает низкий расчетный уровень шума при работе на любых скоростях верстата.


Ланцюг подач фрезерного верстата 6Е75ПФ1

Ланцюг подач сообщает руху трем рабочим органам: суппорту по вертикалям, салазкам в продольном направлении і шпиндельной бабки в поперечном направлении» Все переміщення осуществляются вручную или механически. Вертикальное перемещение осуществляется при помощи гвинта 32 і гайки.

Рух на винт передачи через двигатель М через шестерни 21 і 22 і через вал XIV, і по ланцюги 31, 33 і 29, 36 при етом муфта на валу IX зацепленных з колесом 36. При изменении направления подач (муфта на валу IX зацепляется з колесом 37) рух на винт передається по ланцюги: 31, 33, 39, 38, 37. Ручное перемещение суппорта по вертикали осуществляется от маховика на валу ХII через пару конических передач 35,34.

Муфта на валу VIII находится в нейтральном положении.

Салазки передвигаются при помощи гвинта 27 і гайки 49 от ланцюги продольных подач. Рух на винт передається от вала ХIV через ланцюг 31,33,29,30,41,40. Муфта на валу XII при етом заземлены з колесом 30. При изменении направления подач (муфта на валу XII зацепляется з колесом 28) рух на винт передається на ланцюги 31,33,39,38,28,41,40. Ручное перемещение салазок осуществляется от маховика на валу VIII. Муфта на валу XII при етом находится в нейтральном состоянии.

Бабка перемещается при помощи гвинта XVII і гайки 48. Рух на винт передається при помощи пары 19, 25, получающих рух через ланцюг от звездочек 24,20,23 через пару 21,22 от двигуна М.

Муфта на валу ХVI при етом зацеплена з колесом 16. При изменении направления подачі бабки (муфта на валу ХVI зацепляться з колесом 17) рух на винт передається по ланцюги 17, 18, 19, 25. Муфта на валу ХVI находится в ето время в нейтральном положении.

Ускоренное рух всех ланцюгів подач производится при помощи кнопки ускоренного ходу находящего на пульті.





Електроустаткування фрезерного верстата 6Е75ПФ1

Схема електрична фрезерного верстата 6Е75ПФ1

Електрична схема фрезерного верстата 6е75пф1

Схема електрична фрезерного верстата 6Е75ПФ1. Дивитись у збільшеному масштабі



Схема електрична фрезерного верстата 6Е75ПФ1

Електрична схема фрезерного верстата 6е75пф1

Схема електрична фрезерного верстата 6Е75ПФ1. Дивитись у збільшеному масштабі



Електроустаткування верстата рассчитано для подключения к сети 3-фазного переменного тока напряжением 380 вольт, частотой 50 периодов в секунду.

На станке установлены два трехфазных асинхронных двигуна один двигатель постоянного тока, електронасос СОЖ.

Для живлення силових ланцюгів і ланцюгів керування і освещения могут приняться наступні величины напряжения:

Органы керування верстатом расположены на выносном пульті керування, установленном на поворотном кронштейне. На пульті монтированы два блока пристроя цифровой индикации.

Функционирование назначения органів керування изображены на рис. 6.

В електрошкафу расположен аварийный микровыключатель S3 для блокировки двери електрошафи.

Гідрораспределитель з електромагнитным керуванням змазки направляючих расположен в гідростанції, который установлен на правой стороне стойки.

Освещение робочого места производится светильником з гибкой стойкой типа НКПОЗ-60-004 лампой М024-40У3.

Электроаппаратура керування расположена в корпусе пульта керування і в електрошкафу расположением з левой стороны на основании верстата.

На боковой стенке електрошафи установлен автоматический выключатель FI для подключения верстата к питающей сети і отключения во время перерывов в работе верстата.

В електрошкафу установлен електропривід подачі типа ЭШИР-1А.

Подвод напряжения кабелем осуществляется заказчиком, для чего на задньої стенке електрошафи имеется отверстие со штуцером.


Електродвигун постоянного тока ДПУ240-1100-3-Д41-09 для механизации подач на фрезерном станке 6Е75ПФ1

На фото показаны статор і ротор електродвигуна постоянного тока ДПУ240-1100-3-Д41-09 (обозначение на схеме - М), мощностью 1,1 кВт, 110 В, 3000 об/мин.

На станке електродвигатель постоянного тока ДПУ240 осуществляет бесступенчато регулируемые подачі стола (продольные і вертикальные) і шпиндельной бабки (поперечные), а, также, их ускоренные переміщення со скоростью 1800 мм/мин.


Статор електродвигуна постоянного тока ДПУ240-1100-3-Д41-09 фрезерного верстата 6Е75ПФ1

Статор електродвигуна постоянного тока ДПУ240-110-3-Д41-09


Статор електродвигуна постоянного тока ДПУ240-1100-3-Д41-09 фрезерного верстата 6Е75ПФ1

Статор електродвигуна постояннного тока ДПУ240-110-3-Д41-09 в сборе


Ротор електродвигуна постоянного тока ДПУ240-1100-3-Д41-09 фрезерного верстата 6Е75ПФ1

Ротор електродвигуна постояннного тока ДПУ240-110-3-Д41-09




6Е75ПФ1 Верстат фрезерный широкоуніверсальний. Відеоролик.




Технічні характеристики фрезерного верстата 6Е75ПФ1

Наименование параметра 6Е75ПФ1 675П 6В75
Основні параметри верстата
Класс точності по ГОСТ 8-82 П П Н
Розміри горизонтального (углового) стола, мм 200 х 630 200 х 630 200 х 630
Розміри вертикального стола, мм 200 х 500 200 х 500 195 х 550
Максимальная масса обрабатываемой детали, кг 200
Наибольшие розміри обрабатываемой з одной установки детали (длина х ширина х высота), кг 300 х 230 х 280
Расстояние от оси горизонтального шпинделя до рабочей поверхности горизонтального стола, мм 90..390 80..380 70..360
Расстояние от торца вертикального шпинделя до рабочей поверхности горизонтального стола, мм 0..290 0..300 22..312
Наибольший вылет оси вертикального шпинделя, мм 130..330
Наибольший продольный ход стола (X), мм 320 320 250
Наибольший вертикальний ход стола (Z), мм 290 300 290
Наибольший поперечний ход шпиндельной бабки (Y), мм 200 200 150
Цена деления лимбов, мм 0,05 0,025
Горизонтальный і вертикальний шпиндели верстата
Частота обертання горизонтального шпинделя, об/мин 40..2000 50..1600
95..1650
Частота обертання вертикального шпинделя, об/мин 40..2000 63..2000
110..1860
Количество швидкостей шпинделей 18 16 6
Наибольший допустимый крутящий момент на горизонтальном шпинделе, Нм 214
Наибольший допустимый крутящий момент на вертикальном шпинделе, Нм 155
Наибольшее осевое перемещение вертикального шпинделя, мм 60 60
Наибольший угол поворота вертикальной головки в вертикальной плоскости, градус ±90° ±90° ±45°
Конус горизонтального і вертикального шпинделей 40АТ5 Морзе 4 Морзе 4
Стол
Пределы продольных і вертикальних подач стола (X, Z), мм/мин 10..1000 12,5..400 17,5..178
Ускоренный ход стола, мм/мин 1800 935 нет
Количество подач стола Б/с 16 6
Наибольшее усилие подач стола, Н 4000 5000
Шпиндельная бабка
Пределы поперечных подач шпиндельной бабки (Y), мм/мин 10..1000 12,5..400 нет
Количество подач шпиндельной бабки Б/с 16 -
Наибольшее усилие подач шпиндельной бабки, Н 4000 5000
Ускоренный ход шпиндельной бабки, мм/мин 1800
Електроустаткування і привід верстата
Количество електродвигателей на станке 4 2
Електродвигун головного привода, кВт 1,5 1,5 1,7
Електродвигун приводу подач, кВт 1,1 нет
Електродвигун насоса гідравлики, кВт 0,06 нет
Електродвигун приводу насоса охлаждения, кВт 0,12 0,12 0,12
Суммарная мощность електродвигателей, кВт 2,78 1,62 1,82
Габарит і масса верстата
Габарити верстата (длина х ширина х высота), мм 1350 х 1400 х 1750 1110 х 1170 х 1650 1150 х 1100 х 1600
Масса верстата, кг 810 1100 855

    Список литературы:

  1. Верстат фрезерный широкоуніверсальний инструментальный 6Е75ПФ1. Руководство по експлуатации 6Е75ПФ1.00.000 РЭ, 1987

  2. Аврутин С.В. Основы фрезерного дела, 1962
  3. Аврутин С.В. Фрезерне дело, 1963
  4. Ачеркан Н.С. Металлорежущие верстати, Том 1, 1965
  5. Барбашов Ф.А. Фрезерне дело 1973, с.141
  6. Барбашов Ф.А. Фрезерные роботи (Профтехобразование), 1986
  7. Блюмберг В.А. Справочник фрезеровщика, 1984
  8. Григорьев С.П. Практика координатно-расточных і фрезерных работ, 1980
  9. Копылов Р.Б. Работа на фрезерных верстатах,1971
  10. Косовский В.Л. Справочник молодого фрезеровщика, 1992, с.180
  11. Кувшинский В.В. Фрезерование,1977
  12. Ничков А.Г. Фрезерные верстати (Библиотека станочника), 1977
  13. Пикус М.Ю. Справочник слесаря по ремонту металлорежущих верстатів, 1987
  14. Плотицын В.Г. Расчёты настроек і наладок фрезерных верстатів, 1969
  15. Плотицын В.Г. Наладка фрезерных верстатів,1975
  16. Рябов С.А. Современные фрезерные верстати і их оснастка, 2006
  17. Схиртладзе А.Г., Новиков В.Ю. Технологическое обладнання машиностроительных производств, 1980
  18. Тепинкичиев В.К. Металлорежущие верстати, 1973
  19. Чернов Н.Н. Металлорежущие верстати, 1988
  20. Френкель С.Ш. Справочник молодого фрезеровщика (3-е изд.) (Профтехобразование), 1978









Заказать