metalinstryment.com
Довідник по металорізальних верстатів та пресовому обладнанні

67К25ПФ2 Верстат фрезерный універсальний з ЧПУ
схеми, опис, характеристики

67К25ПФ2 Верстат фрезерный універсальний з ЧПУ







Відомості про виробника фрезерного широкоуніверсального верстата 67К25ПФ2

Фрезерный верстат 67К25ПФ2 выпускался предприятием Вильнюсский станкостроительный завод "Комунарас".

Литовский станкозавод «Комунарас» основан в 1959 году, начав з производства настольно сверлильных і универсальных фрезерных верстатів моделі 675.

После распада СССР - завод стал называться AB Vingriai (АО Вингряй). В 1998 году компания АО Вингряй объединилась з Вильнюсским заводом шлифовальных верстатів Шлифавимо стаклес, производящим универсальные круглошлифовальные верстати.





Верстати, выпускаемые предприятием - Вильнюсский станкостроительный завод "Комунарас"



67К25ПФ2 Верстат фрезерный широкоуніверсальний з ЧПУ. Назначение і область применения

Фрезерный широкоуніверсальний з ЧПУ Верстат 67К25ПФ2 предназначен для фрезерування деталей цилиндрическими, дисковыми і фасонными фрезами при помощи горизонтального шпинделя, і торцовыми, кінцівыми і шпоночными фрезами при помощи поворотного вертикального шпинделя.

На станке 67К25ПФ2 можно выполнять ряд фрезерных і расточных работ з високою точностью, которая може быть достигнута, если верстат установлен в помещении з постоянной температурой 20±2°С і влажностью 65±5%, если вблизи верстата нет источников тепла і вибрации. На станке можно выполнять, также, сверление і рассверливание, долбление, центрование, цекование, зенкерование, развертывание, растачивание.

Наличие двух шпинделей горизонтального і поворотного вертикального, а также большого количества приладдя к верстату, делает его широкоуниверсальным і удобным для роботи в инструментальных цехах машиностроительных заводов при изготовлении пристосувань, инструмента, рельефных штампов і прочих изделий.

Широкий диапазон оборотів шпинделя і подач, наличие механических подач і быстрых перемещений обеспечивают економичную обработку различных деталей в оптимальных режимах.

Верстат 67К25ПФ2 применяется в единичном і мелкосерийном производстве в инструментальных і механических цехах машиностроительных предприятий.

Конструктивные і експлуатационные особливості верстата 67К25ПФ2

Верстат 67К25ПФ2 оснащен системой программного керування і предназначен для обробки деталей по программе в системе прямоугольных координат горизонтальным і вертикальным шпинделями.

Рациональное построение головного приводу з короткой кінематичної ланцюгю (на 12 верхних ступенях участвуют две передачи, а на шести нижних — три передачи) способствует повышению его КПД і снижению шума.

В станке имеются бесступенчатое регулювання подач, механизированный зажим инструмента і направляючих, прямоугольные направляющие на всех направлениях переміщення.

Нижнее крепление гвинта вертикального переміщення обеспечивает ход 450 мм при относительно малой высоте верстата.

Поворотный маховик вертикального переміщення улучшает ергономику і расширяет технологические возможности.

Верстат оснащен большим количеством приладдя, расширяющих технологические возможности верстата. Основні из них:

Преимущества использования широкоуніверсального фрезерного верстата 67К25ПФ2:

Климатическое виконання і категория розміщення верстата по ГОСТ 15150—69 УХЛ категория 4, для роботи при температуре 5—40° С. Высота над уровнем моря до 1000 м.

Класс точності верстата П по ГОСТ 8—82Е.

Разработчик — Вильнюсский станкостроительный завод «Комунарас».


Фрезерные верстати. Загальні відомості

Фрезерные верстати предназначены для обробки наружных і внутренних плоских, фасонных поверхностей, уступов, пазов, прямых і винтовых канавок, шлицев на валах, нарезание зубчатых колес і т. д.

Конструкции фрезерных верстатів многообразны. Выпускают универсальные, специализированные і специальные фрезерные верстати. Основними формообразующими рухуми є вращение фрезы (главное движение) і рух подачі, которое сообщают заготовке или фрезе. Приводы головного руху і подачі выполняют раздельно. Вспомогательные руху, связанные з подводом і отводом заготовки к инструменту, механизированы і осуществляются от приводу ускоренных перемещений. Основні елементы механізмов верстатів унифицированы. Основным параметром, характеризующим фрезерные верстати общего назначения, является размер рабочей поверхности стола.

В общем случае фрезерные верстати можно подразделить на две основні группы:

По конструктивным особенностям ети верстати подразделяют:


Класифікація фрезерных верстатів

Консольные фрезерные верстати наиболее распространены в единичном, мелко- і среднесерийном производстве рис. 119, а, б, в, г).


Горизонтальный консольно-фрезерный верстат (рис. 119, а) имеет горизонтальный шпиндель 2 і выдвижной хобот 1, на который устанавливают серьгу 3, поддерживающую оправку з фрезой, консоль 4 перемещается по направляющей стойки 5. На консоли расположены салазки 6 і стол 7.

Універсальный консольно-фрезерный верстат отличается от горизонтальных тем, что имеет стол, который може поворачиваться на требуемый угол.

широкоуніверсальний з ЧПУ консольно-фрезерный верстат (рис. 119; б, в) помимо горизонтального шпинделя имеет шпиндельную головку 1, которая може поворачиваться на хоботе в двух взаимно перпендикулярных направлениях, благодаря чему шпиндель з фрезой можно устанавливать под любым углом к плоскости стола і к обрабатываемой заготовке. На головке 1 монтируют накладную головку 2, предназначенную для сверления, рассверливания, зенкерования, растачивания і фрезерування.

Вертикальный консольно-фрезерный верстат (рис. 119, г) имеет вертикальний шпиндель 3, который размещен в поворотной шпиндельной головке 2, установленной на стойке 1.

Бесконсольные вертикально-фрезерные верстати (рис. 119, д), служащие для обробки заготовок крупногабаритных деталей, имеют салазки 2 і стол 3, которые перемещаются по направляющим станины 1. Шпиндельная головка 5 перемещается по направляющим стойки 6. Шпиндель 4 имеет осевые переміщення при установці фрезы.

Бесконсольные горизонтально-фрезерные верстати (рис. 119, е), служащие для обробки заготовок крупногабаритных деталей, имеют салазки 2 і стол 3, которые перемещаются по направляющим станины 1. Шпиндельная головка 5 перемещается по направляющим стойки 6. Шпиндель 4 имеет осевые переміщення при установці фрезы.

Продольно-фрезерные верстати (рис. 119, ж) предназначены для обробки заготовок крупногабаритных деталей. На станине 1 установлены две вертикальные стойки 6, соединенные поперечиной 7. На направляючих стойках смонтированы фрезерные головки 3 з горизонтальными шпинделями і траверса (поперечина) 4. На післядней установлены фрезерные головки 5с вертикальными шпинделями. Стол 2 перемещается по направляющим стоек 4.

Карусельно-фрезерные верстати (рис. 119, з), предназначенные для обробки поверхностей торцовыми фрезами, имеют один или несколько шпинделей 3 для чистовой і черновой обробки. По направляющим стойки 1 перемещается шпиндельна головка 2. Стол 4, вращаясь непрерывно, сообщает установленным на нем заготовкам вращение подачі. Стол з салазками 5имеет установочное перемещение по направляющим станины 6.

Барабанно-фрезерные верстати (рис. 119, и) используются в крупносерийном і массовом производстве. Заготовки устанавливают на вращающемся барабане 2, имеющем рух подачі. Фрезерные головки 3 (для черновой обробки) і 1 (для чистовой обробки) перемещаются по направляющим стоек 4.


Габаритные розміри робочого простору верстата 67К25ПФ2

Габаритные розміри робочого простору фрезерного верстата 67К25ПФ2

Габаритные розміри робочого простору верстата 67к25пф2

Посадочные і присоединительные базы верстата 67К25ПФ2

Посадочные і присоединительные базы верстата 67К25ПФ2. Стол. Шпиндель

Стол і шпиндель фрезерного верстата 67к25пф2


Загальний вигляд фрезерного верстата 67К25ПФ2

Загальний вигляд  фрезерного верстата 67К25ПФ2

Фото фрезерного верстата 67к25пф2


Розташування складових частин консольно-фрезерного верстата 67К25ПФ2

Розташування складових частин консольно фрезерного верстата 67К25ПФ2

Розташування основних вузлів фрезерного верстата 67к25пф2

Список складових частин широкоуніверсального фрезерного верстата 67К25ПФ2

  1. Поддон - 67К25ВФ1.080.000
  2. Захист - 6725В.030.000-05
  3. Суппорт - 67К25ВФ1.3.30.000-01
  4. Стойка - 67К25ВФ1.7.40.000-03
  5. Гідрокоммуникация - 67К25ВФ1.070.000-02
  6. Гідростанція - 67К25ВФ1.071.000
  7. Електроустаткування - 67К25ПФ2.9.00.000
  8. Привід - 67К25ВФ1.6.62.000
  9. Коробка швидкостей - 6725В.6.10.000-02
  10. Система отсчета - 67К25ПФ2 040.000
  11. Бабка фрезерна - 67К25ВФ1.6.60.000
  12. Шпиндель горизонтальный - 6725В.6.30.000-06

Список съемных частин і приладдя фрезерного верстата 67К25ПР

  1. Хобот - 67К25ВФ1.6.60.012
  2. Головка фрезерна - 6725В.4.40.000-03
  3. Стол угловой горизонтальный - 67К25ВФ1.5.10.000-01
  4. Головка быстроходная - 6725В.4.30.000-01
  5. Головка долбежная - 6725В.4.70.000
  6. Приспособление для нарізання спиралей - 6725В.5.40.000
  7. Ділильна головка - 5П.85.001
  8. Стол круглый делительный - 6А75В.84.001
  9. Тиски универсальные - 6A75B.89.00I
  10. Шкаф инструментальный - 6П.55.00.000
  11. Угловой універсальний стол - 6П82.001
  12. Універсальное магнитно-зажимное пристрій 676П.89.000
  13. Тиски - 7200-0210 ГОСТ 14904-80

Розташування органів керування фрезерным верстатом 67К25ПФ2

Розташування органів керування фрезерным верстатом 67К25ПФ2

Розташування органів керування фрезерным верстатом 67к25пф2

Список органів керування фрезерным верстатом 67К25ПФ2

  1. Рукоятка переміщення гильзы
  2. Кольцо установки переміщення гильзы на размер
  3. Диск набора швидкостей
  4. Рукоятка переключения швидкостей
  5. Рукоятка зажиму гильзы
  6. Рукоятка зажиму корпуса маховика
  7. Маховик поперечного переміщення бабки
  8. Маховик вертикального переміщення суппорта
  9. Маховик продольного переміщення салазок
  10. Пульт керування
  11. Блок THC I35 (LjUMO-PNC-63)

Пульт керування фрезерным верстатом 67К25ПФ2 з ЧПУ Heidenhain TNC-135

Схема органів керування фрезерным верстатом 67К25ПФ2

Пульт керування фрезерным верстатом 67к25пф2 (Heidenhain)

  1. Переключатель увімкнення охлаждения
  2. Переключатель увімкнення гідравлики
  3. Переключатель подачі 1/1 или 1/10 по показанию лимба
  4. Кнопка "Толчок шпинделя"
  5. Переключатель "Реверс" шпинделя
  6. Переключатель отжима инструмента
  7. Кнопка "Пуск" шпинделя
  8. Кнопка аварийная "Стоп" верстата
  9. Кнопка "Стоп" шпинделя
  10. Переключатель ручного или программного керування
  11. Кнопка увімкнення подачі по координате "+"
  12. Переключатель координат
  13. Кнопка ускоренный ход
  14. Регулятор величины подач в ручном или автоматическом режиме
  15. Кнопка увімкнення подачі по координате "-"
  16. Регулятор величины подач в автоматическом режиме
  17. "Стоп" программа в ручном или автоматическом режиме
  18. Кнопка "Пуск" программы
  19. Переключатель покадровой автоматичною роботи
  20. Кнопка "Стоп" роботи і возврат в исходное положение
  21. Регулятор величины подач в автоматическом режиме

Пульт керування фрезерным верстатом 67К25ПФ2-0 з ЧПУ LJUMO-PNC 63, LJUMO-61 (Люмо-63, Люмо-61, Искра, Югославия)

Схема органів керування фрезерным верстатом 67К25ПФ2

Пульт керування фрезерным верстатом 67к25пф2 (Люмо)

  1. Регулятор величины подач
  2. Переключатель увімкнення гідравлики
  3. Переключатель "Реверс" шпинделя
  4. Переключатель выбора направления переміщення
  5. Кнопка увімкнення переміщення по координате "+"
  6. Переключатель отжима инструмента
  7. Кнопка увімкнення переміщення по координате "-"
  8. "Толчковая" кнопка шпинделя
  9. Кнопка "Ускоренный ход"
  10. Кнопка аварийная "Стоп" верстата
  11. Кнопка "Пуск" шпинделя
  12. Кнопка "Стоп" шпинделя
  13. Кнопка "Стоп" подачі
  14. Кнопка "Стоп" программы
  15. Кнопка "Пуск" программы
  16. Переключатель увімкнення охлаждения
  17. Переключатель "Зажим" - "Отжим" направляючих
  18. Переключатель подачі 1/1 или 1/10 по показанию лимба




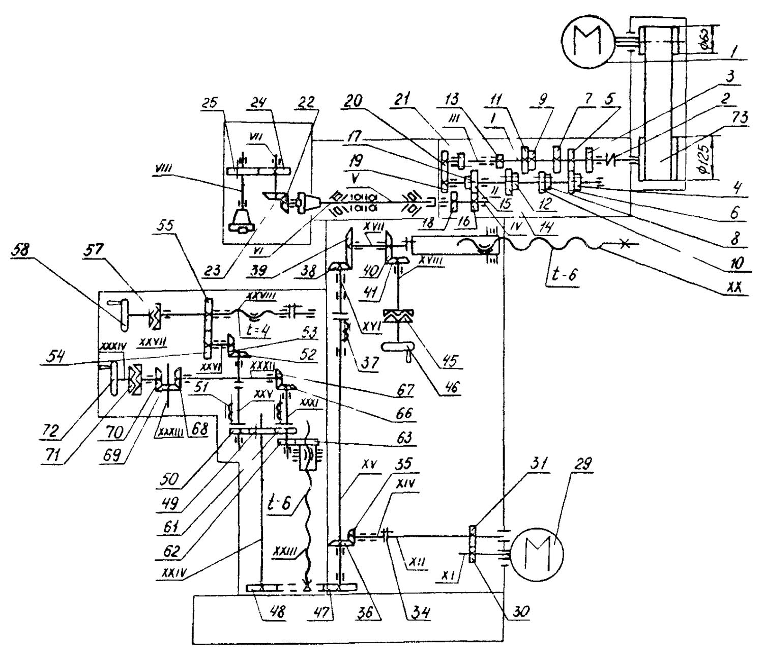
Схема кінематична фрезерного верстата 67К25ПФ2

Схема кінематична фрезерного верстата 67К25ПФ2

Кінематична схема фрезерного верстата 67к25пф2



Ланцюг головного руху

От електродвигуна I мощностью 3,0 кВт рух через поликлиновую передачу, муфту 2 передається на вал I коробки швидкостей. От вала I через зубчасті колеса 3-14 рух передається на вал II, а затем через колеса 15-18 на вал IV. От вала IV через зубчатую муфту вращение сообщается горизонтальному шпинделю. Шесть нижних швидкостей передається от вала II на вал IV через зубчасті колеса 19-20, 21-18.

Вал вертикального шпинделя VIII получает вращение от вала VI через коническую пару 22-23 і цилиндрическую пару 24-25.

Различные положения блоков шестерен 4-6, 8-10, 12-14, 15-17 і шестерни 21 позволяют сообщать горизонтальному і вертикальному шпинделям 18 различных швидкостей.

Ланцюг подач

Все подачі верстата (стола в вертикальном і продольном направлениях, фрезерной бабки в поперечном направлении) осуществляются механически і вручную. Кроме того, для всех направлений предусмотрено ускоренное перемещение.

От електродвигуна подач 29 мощностью 1,3 кВт вращение через зубчатую пару 30, 31 і муфту 34 передається на вал XIV і через коническую пару 35-36 на вал ХV.

От вала ХV вращение через пару 47-48 передається на вал ХХIV передающего вращение к гвинтам поздовжньої і вертикальной подачі. Продольное механическое перемещение стола осуществляется от вала ХХIV через пару 49-50, електромагнитную муфту 51, коническую пару 52-53, цилиндрическую пару 54-55 і винт ХХVII з шагом t = 4 мм.

Ручное перемещение стола осуществляется маховиком 58 через муфту 57.

Вертикальное перемещение стола осуществляется от вала ХХIV через пары 49-61, 62-63 і винт XXIII з t = 6 мм. Ручное перемещение — от маховика 72 через муфту 71, конические пары 70-69, 69-68, 67-66 і цилиндрическую пару 62-63.

Механическое перемещение фрезерной бабки осуществляется при включении електромагнитной муфты 37 от вала ХV через коническую пару 38-39 і винт XX з t = 6 мм.

Ручное поперечное перемещение - от маховика 46 через муфту 45 і коническую пару 41-40. Привід подач верстата обеспечивает получение подач рабочих органів от 10 мм/мин до 1000 мм/мин і ускоренный ход — 1800 мм/мин. Регулювання подач — бесступенчатое і производится двигателем постоянного тока 29.


Общая компоновка широкоуніверсального фрезерного верстата 67К25ПФ2

Инструментальный широкоуніверсальний з ЧПУ фрезерный верстат состоит из окремих сборочных единиц. На чугунном основании закреплена стойка, где монтируются все основні вузли верстата. По горизонтальным направляющим стойки перемещается фрезерна бабка, к которой крепятся: вертикальная головка, хобот, коробка швидкостей і пульт керування. По вертикальным направляющим стойки перемещается суппорт, а по его горизонтальным направляющим - салазки.

К нижней частини стойки крепится двигатель подач.

Для расширения технологических возможностей верстата к нему прилагается большое количество приладдя.

К вертикальной базовой плоскости салазок крепятся угловой или універсальний стол, служащие для установки обрабатываемых изделий.

Для делительных работ служат круглый стол і делительная головка, которые могут устанавливаться как на угловом столе, так і на вертикальной плоскости салазок.

Для долбежных работ предназначена долбежная головка, которая крепится на фрезерной бабке.

Быстроходная головка имеет свой привід і крепится также к фрезерной бабке.

Инструмент крепится в конусах шпинделей. Зажим инструмента в фрезерной і вертикальной головках механизирован.

Коробка швидкостей

Коробка швидкостей собрана в специальном корпусе 4.

Корпус крепится фланцем к торцу фрезерной бабки, а фланцем 9 коробка входит в центрирующее отверстие бабки. Коробка швидкостей состоит из четырех валов і блоков зубчатых колес, перемещение которых позволяет сообщать шпинделю восемнадцать различных швидкостей. Переключення швидкостей осуществляется механізмом переключения.

Для изменения скорости рукоятку переключения швидкостей 2 необходимо опустить вниз. При етом диски 10 і 12 под действием пружины II разводятся. При повороте грибка набора швидкостей 3 і связанных з ним дисков изменяется положение отверстий дисков относительно пальцев 13, чем производится подготовка для переключения швидкостей. Затем рукояткой переключения 2 диски сводятся в первоначальное положение. Тогда пальцы 13, перемещаясь, при помощи рычагов переведут блоки шестерен коробки швидкостей. При переключении возможно, что торцы зубьев, зацепляемых шестерен, совпадут і диски не сведутся. В етом случае необходимо нажать кнопку "Толчок" на пульті.

При переключении швидкостей (при отводе дисков) вращение автоматически прекращается.

Цилиндр 5, тарельчатые пружины 6, труба 7 і шомпол 8 предусмотрены для механизированного зажиму инструмента. Зажим осуществляется тарельчатыми пружинами б, а отжим - гідроцилиндром 5 при включении гідравлики.

Бабка фрезерна

Фрезерная бабка (рис. 6.6) снабжена прямоугольными направляющими і перемещается по горизонтальным направляющим стойки. В передньої частини бабки монтируется горизонтальный шпиндель, который приводится во вращение коробкой швидкостей, закрепленной фланцем в задньої частини бабки. К торцу бабки крепится кронштейн 2, в нижней частини которого закреплен ходовой винт 5, обеспечивающий поперечное перемещение бабки. На кронштейн 2 крепится главный привід з двигателем 4 і поликлиновой передачей, передающей вращение на коробку швидкостей жесткой муфтой 3. Натяжение поликлинового ремня 7 регулируется переміщенням корпуса 8 при помощи гвинта 9. По верхним направляющим бабки перемещается хобот I з поддержкой 6, служащей для фрезерування горизонтальными оправками.

Шпиндель горизонтальный

Шпиндель I монтируется в корпусе бабки фрезерной і получает вращение от коробки швидкостей. Передня і задня опори шпинделя - двухрядный роликовый подшипник з коническим отверстием 2 і 4. Осевые нагрузки воспринимаются упорными підшипниками 3.

Суппорт верстата

Суппорт служит для продольного і вертикального переміщення основного стола механически или вручную. Механическая подача стола осуществляется ходовыми гвинтами I і 16, получающими вращение при включенных муфтах, от приводного вала 2. Вручную стол перемещается от маховика 12, а супорт — от маховика II. Маховик II смонтирован в кронштейне 10, который на оси 9 поворачивается относительно нерухомого кронштейна 8 і може быть установлен в удобное для робочого положение.

Перемещение суппорта контролируется линейкой і лимбом з ценой деления 0,02 мм.

Стойка

Стойка 17 установлена на основании 12 і представляет собой отливку коробчатого сечения, на которой размещены основні вузли верстата, связанные между собой кинематическими звеньями. В задньої нижней частини стойки на плите 15 размещен двигатель 14, вращение от которого через зубчатую пару 13-16, вал 7, муфту II і коническую пару 9-8 передається валу 6. При включении електромагнитной муфты 4 через коническую пару 1-2 на трубу 18 з гайками 19 і 20. Маховик 21 служит для ручного переміщення фрезерной бабки.





Електроустаткування верстата моделі 67К25ПФ2

На станке установлены:

  1. Двигатель гідравлики M1
  2. Электронасос СОЖ М2
  3. Електродвигун шпинделя М3
  4. Електродвигун постоянного тока для переміщення рабочих органів

По желанию заказчика верстат може комплектоваться быстроходной головкой з електродвигуном М4.

В управлении верстатом использованы наступні величины напряжений:


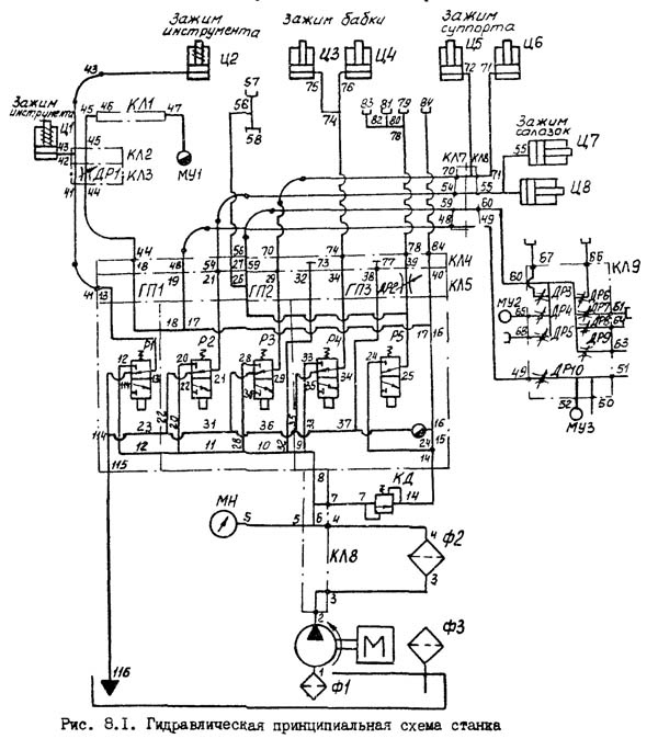
Схема гідравлічна фрезерного верстата 67К25ПФ2

Схема гідравлічна фрезерного верстата 67К25ПФ2

Гідравлічна схема фрезерного верстата 67к25пф2

Схема гідравлічна фрезерного верстата 67К25ПФ2. Дивитись у збільшеному масштабі







67К25ПФ2 Верстат фрезерный широкоуніверсальний з ЧПУ. Відеоролик.



Технічні характеристики фрезерного верстата 67К25ПФ2

Наименование параметра СФ676 67К25ПФ2
Основні параметри Класс точності по ГОСТ 8-82 Н П Розміри горизонтального (углового) стола, мм 250 х 800 320 х 800 Розміри вертикального стола, мм 250 х 630 250 х 630 Максимальная масса обрабатываемой детали, кг 100 350 Расстояние от оси горизонтального шпинделя до рабочей поверхности горизонтального стола, мм 80..460 45..595 Расстояние от торца вертикального шпинделя до рабочей поверхности горизонтального стола, мм 0..380 10..490 Вылет оси вертикального шпинделя, мм 125..375 165..485 Наибольший продольный ход стола (X), мм 450 400 Наибольший ход шпиндельной бабки (Y), мм 300 320 Наибольший вертикальний ход стола (Z), мм 380 450 Вертикальный і горизонтальный шпиндели Частота обертання горизонтального шпинделя, об/мин 50..1630 40..2000 Частота обертання вертикального шпинделя, об/мин 63..2040 40..2000 Количество швидкостей шпинделя 16 18 Цена деления лимбов, мм 0,05 0,02 Цена деления линеек, мм 1,0 Конус горизонтального і вертикального шпинделей 40АТ5 Пределы подач шпиндельной бабки, мм/мин 13..395 10..1000 Количество подач шпиндельной бабки 16 б/с Максимальное усилие подачі бабки, Н 9500 Максимальный допустимый крутящий момент на шпинделе горизонтальном/ вертикальном, Нм 230/ 82 Зажим-отжим инструмента Механиз Вертикальная фрезерна головка Наибольшее осевое перемещение вертикального шпинделя, мм 80 60 Наибольший угол поворота вертикальной головки в вертикальной плоскости, градус ±90 ±90 Масса вертикальной фрезерной головки, кг 70 Вертикальный і горизонтальный столы Количество подач стола в продольном і поперечном направлении б/с б/с Пределы продольных і поперечных подач стола (X. Y), мм/мин 13..395 10..1000 Ускоренный ход стола, мм/мин 935 1800 Максимальное усилие подачі стола, Н 9500 Угловой горизонтальный стол Число Т - образных пазов 5 Масса углового горизонтального стола 105 Угловой універсальний стол Розміри горизонтального універсального стола, мм 200 х 630 Наибольший угол поворота в горизонтальной плоскости, град ±20 Наклон длинной стороны, град ±45 Наклон короткой стороны, град ±30 Масса углового горизонтального стола 55 Стол круглый горизонтально-вертикальний Диаметр планшайби стола, мм 250 Габаритные розміри, мм 338 х 485 х 140 Масса круглого стола 60 Привід і електрообладнання верстата Количество електродвигателей на станке 4 Електродвигун головного привода, кВт 3 3 Електродвигун приводу подач, кВт 1,3 Електродвигун змазки і зажиму инструмента і направляючих, кВт 0,55 Електродвигун приводу насоса охлаждения, кВт 0,12 Суммарная мощность електродвигателей, кВт 3,12 4,97 Габарити і масса верстата Габарити верстата (длина х ширина х высота), мм 1200 х 1240 х 1780 1685 х 1655 х 1865 Масса верстата, кг 1050 1350

    Список литературы:

  1. Верстат фрезерный широкоуніверсальний инструментальный 67К25ПФ2-0. Руководство по експлуатации 67К25ПФ2-0.0.00.000 РЭ, Вильнюс, 1989

  2. Аврутин С.В. Основы фрезерного дела, 1962
  3. Аврутин С.В. Фрезерне дело, 1963
  4. Ачеркан Н.С. Металлорежущие верстати, Том 1, 1965
  5. Барбашов Ф.А. Фрезерне дело 1973
  6. Барбашов Ф.А. Фрезерные роботи (Профтехобразование), 1986
  7. Блюмберг В.А. Справочник фрезеровщика, 1984
  8. Григорьев С.П. Практика координатно-расточных і фрезерных работ, 1980
  9. Копылов Р.Б. Работа на фрезерных верстатах,1971
  10. Косовский В.Л. Справочник молодого фрезеровщика, 1992
  11. Кувшинский В.В. Фрезерование,1977
  12. Ничков А.Г. Фрезерные верстати (Библиотека станочника), 1977
  13. Пикус М.Ю. Справочник слесаря по ремонту металлорежущих верстатів, 1987
  14. Плотицын В.Г. Расчёты настроек і наладок фрезерных верстатів, 1969
  15. Плотицын В.Г. Наладка фрезерных верстатів,1975
  16. Рябов С.А. Современные фрезерные верстати і их оснастка, 2006
  17. Схиртладзе А.Г., Новиков В.Ю. Технологическое обладнання машиностроительных производств, 1980
  18. Тепинкичиев В.К. Металлорежущие верстати, 1973
  19. Чернов Н.Н. Металлорежущие верстати, 1988
  20. Френкель С.Ш. Справочник молодого фрезеровщика (3-е изд.) (Профтехобразование), 1978





67К25ПФ2 верстат фрезерный універсальний з ЧПУ: - паспорт, (djvu) 1,58 Мб, Скачать




Заказать