metalinstryment.com
Довідник по металорізальних верстатів та пресовому обладнанні

5В150 Верстат зубодолбежный вертикальний напівавтомат
схеми, опис, характеристики

5В150 Загальний вигляд  зубодолбежного верстата







Відомості про виробника зубодолбежного напівавтомату 5В150

Производитель вертикального зубодолбежного напівавтомату 5В150, 5В150П Клинский станкостроительный завод, КСЗ, основанный в 1897 году.





Верстати, выпускаемые Клинским станкостроительным заводом, КСЗ


5В150 Верстат вертикальний зубодолбежный універсальний напівавтомат. Назначение і область применения

Універсальный зубодолбежный верстат напівавтомат 5В150 предназначен для нарізання зубьев на цилиндрических шестернях внутреннего і наружного зацепления диаметром до 800 мм і модулем до 12 мм как з открытыми, так і закрытыми венцами (блок-шестерни).

Особливості конструкції і принцип роботи зубодолбежного верстата 5В150

Нарезаемое колесо крепится на горизонтальной планшайбе стола верстата при помощи специального приспособления. Для выверки биения заготовки планшайба може вращаться ускоренно от отдельного привода. Стол може перемещаться по горизонтальным направляющим станины; ускоренно от отдельного приводу для ориентировочной установки в исходное положение; замедленно от руки для точной установки в исходное положение і для врізання долбяка в заготовку; механически (радиальная подача) для врізання долбяка в заготовку на заданную глубину.

Зубодолбежный верстат 5В150 работает по замкнутому автоматическому циклу, причем після пуска верстата начинается одновременное рух долбяка, обкат і радиальная подача. По достижении долбяком заданной глубины процесс врізання автоматически прекращается, після чего планшайба стола делает один полный оборот.

Верстат 5В150 може работать как по однопроходному, так і по двухпроходному циклу, причем в зависимости от налаштування верстата во время перехода на второй проход скорость різання і подача могут изменяться автоматически, что значительно повышает производительность верстата, стойкость инструмента і точность нарізання.

На станке 5В150 можно нарезать косозубые колеса при помощи специально изготовляемого приспособления, которое монтируется на суппорте верстата.

Стол зубодолбежного верстата 5В150 може перемещаться по горизонтальным направляющим станины, осуществляя при етом:

При надлежащем уходе і регулировке верстат обеспечивает нарезание зубчатых колес по ГОСТ 1643—72 не ниже 7-й степени точності.


Загальний вигляд і общее пристрій верстата 5В150

5В150 напівавтомат зубодолбежный. Загальний вигляд

Фото зубодолбежного верстата 5в150


5В150 напівавтомат зубодолбежный. Загальний вигляд

Фото зубодолбежного верстата 5в150


Розташування складових частин зубодолбежного напівавтомату 5В150

5В150 Розташування складових частин зубодолбежного напівавтомату 5В150

Розташування основних вузлів зубодолбежного напівавтомату 5в150

Специфікація складових частин зубодолбежного напівавтомату 5В150

  1. Станина. Внутри нее размещены основні вузли верстата
  2. Стол з механізмом отсчета оборотів заготовки
  3. Механізм отсчета оборотів заготовки
  4. Механізм врізання
  5. Стойка
  6. Коробка радиальных подач
  7. Суппорт
  8. Пульт керування
  9. Гітара деления

Нарезание цилиндрических колес на зубодолбежных верстатах

Образование профиля зубьев при нарезании долбяком

Обработку колес на зубодолбежных верстатах осуществляют режущим инструментом, выполненным в виде зубчатого колеса — долбяком, у которого одна торцовая плоскость служит для опори при закреплении на станке, а на второй имеются режущие кромки.

Обкатка профиля зубьев колеса профилями зубьев долбяка

Обкатка профиля зубьев колеса профилями зубьев долбяка

  1. профиль зуба долбяка
  2. профиль нарезаемого зуба колеса
  3. срезаемый слой металла за один ход долбяка

Зубья колеса нарезают долбяком по методу обкатки, профили зубьев долбяка не совпадают з профилями нарезаемых зубьев, хотя их і выполняют по евольвенте. Поетому одним і тем же долбяком данного модуля можно нарезать колеса з разными числами зубьев. Обкатка осуществляется при післядовательном положении профилей зубьев долбяка относительно профилей нарезаемых зубьев колеса в процессе их зацепления, пока они находятся в контакте. При обкатке долбяк і заготовка должны вращаться вокруг своих осей, как два зубчатых колеса в зацеплении. При нарезании колес з внешними зубьями они вращаются в разные стороны; при нарезании внутренних зубьев — в одну сторону. Передаточное отношение чисел оборотів долбяка і колеса в зависимости от числа зубьев их выражается отношением:


nд/ nз = zз /zд


Для прорізання зубьев в заготовке долбяк, кроме вращательного руху в зацеплении з заготовкой, должен совершать і поступательное движение, параллельное оси заготовки, тогда передние режущие кромки долбяка будут вырезать (долбить) впадины между зубьями заготовки і одновременно выполнять обкатку.

Для нарізання зубьев колеса на необходимую глубину нужно, чтобы зубья долбяка в процессе різання проходили между зубьями заготовки на етой глубине. Сразу установить долбяк на требуемую глубину нельзя, поетому вначале происходит врезание при вращении заготовки і долбяка з постепенной радиальной подачей долбяка в направлении глубины зубьев (пока зубья его не врежутся на необходимую глубину).

После робочого ходу долбяк поступательно возвращается в исходное положение. Чтобы зубья долбяка не терлись об обработанные поверхности, заготовка вместе со столом отодвигается от долбяка, а в начале следующего робочого ходу опять придвигается.

В некоторых верстатах отодвигается долбяк, а заготовка не изменяет своего положения.


Принципиальная схема механізма обертання заготовки і руху долбяка

Принципиальная схема механізма обертання заготовки і руху долбяка

Таким образом, в процессе зубодолбления верстат должен мати наступні руху (указаны стрелками):

  1. возвратно-поступательное рух х і р в вертикальном направлении параллельно оси заготовки (главное рух різання)
  2. согласованные обертання v долбяка і стола, осуществляющие обкатку
  3. рух s врізання долбяка на глубину нарезаемых зубьев — радиальная подача
  4. колебательное рух sk стола — для відведення стола от долбяка і подвода к нему




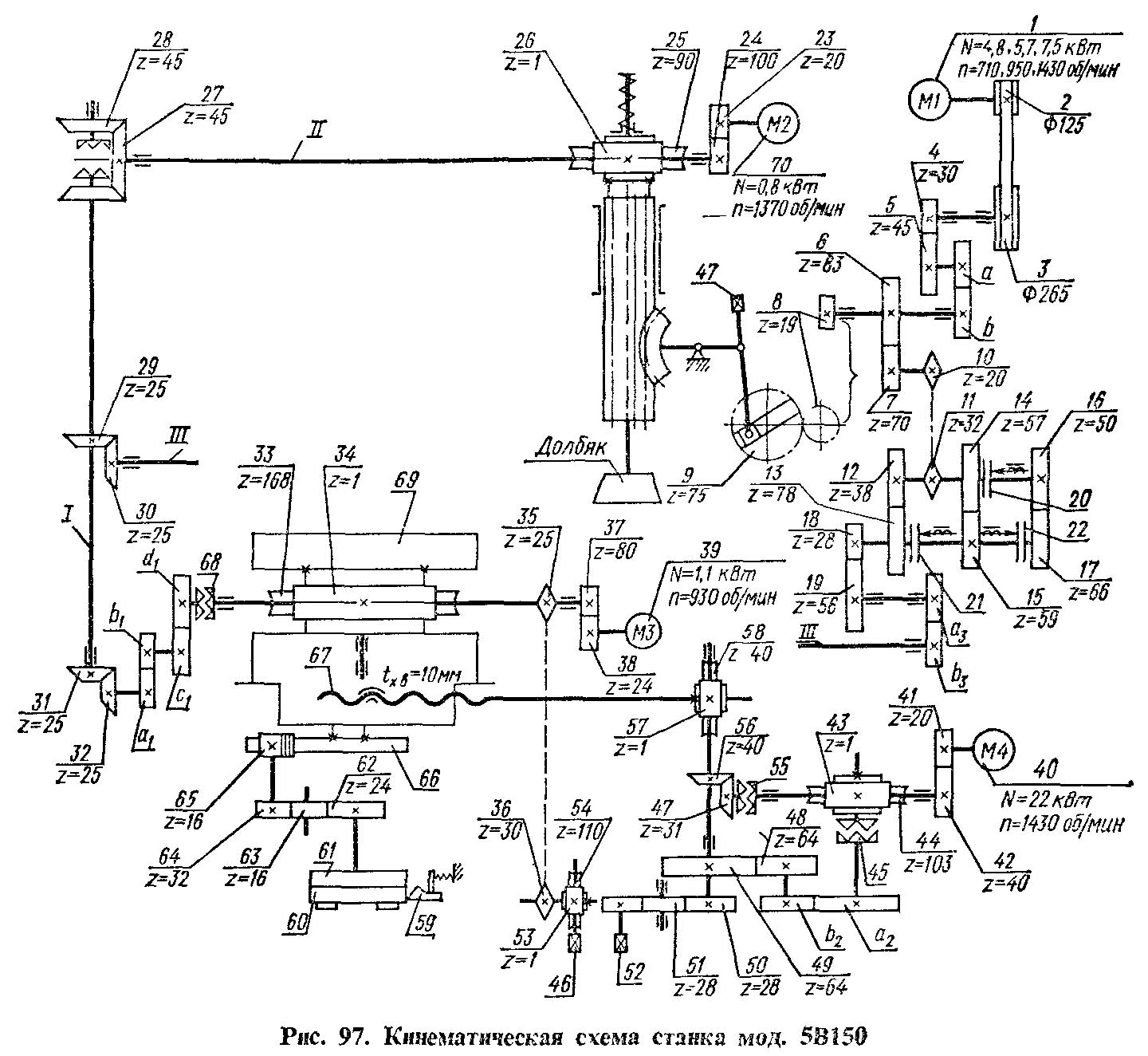
Кинематическая структура зубодолбежного верстата 5В150

Кинематическая структура зубодолбежного верстата 5В150

Кинематическая структура зубодолбежного верстата 5в150


Механізми напівавтомату осуществляют наступні формообразующие руху:

Схема кінематична зубодолбежного напівавтомату 5В150

Схема кінематична зубодолбежного напівавтомату 5В150

Кінематична схема зубодолбежного верстата 5в150

1. Схема кінематична зубодолбежного верстата 5В150. Дивитись у збільшеному масштабі

2. Схема кінематична зубодолбежного верстата 5В150. Дивитись у збільшеному масштабі



Главное рух осуществляется от трехскоростного електродвигуна 1 через клиноременную передачу 2—3, зубчатую пару 4—5, сменные колеса гітари швидкостей а—b і колеса 8—9. Колесо 9 является одновременно кривошипом, преобразующим вращательное рух в поступательное рух ползуна, на котором крепится долбяк. Автоматическое переключение швидкостей різання при двухпроходном цикле производится установкой в соответствующее положение рукояток на пульті керування.

К верстату придают три пары сменных колес а-b з постоянной суммой зубьев. В нижней частини суппорта имеется пристрій з ексцентриковым валом (на схеме не показано) для відведення долбяка при холостом ходе.

Ланцюг обката связывает вращение заготовки і инструмента. Эта связь осуществляется от стола 69 через червячную пару 33—34, гітару обката d1 — c1, b1 — а1, коническую пару 32-31, конічний реверсивный механізм 28—27 і далее на червячную пару 26-25, которая осуществляет согласованное со столом 69 вращение ползуна з долбяком.

Круговая подача согласовывает возвратно-поступательное рух ползуна через кривошипный механізм 47, зубчасті колеса 9-8, 6-7, цепную передачу 10-11, колеса 12-13 или 14-15 или 16-17, 18-19, сменные колеса гітари круговых подач а3 і b3, вал III, конические колеса 30—29, 28—27, вал II і червячную пару 26—25 з круговым движением ползуна.

Рух радиальной подачі осуществляется от реверсивного електродвигуна 40, зубчасті передачи 41-42, червячную пару 43 — 44, муфту 45, сменные колеса гітари а2-b2, колеса 48-49, червячную пару 57-58 і винт 67. При рабочей подаче муфта 55 выключена, а муфта 45 включена. Переключення муфт 45 і 55 сблокировано таким образом, что при включении одной муфты другая выключается. При реверсе двигуна 40, для швидкого відведення стола рух передається через зубчасті колеса 41—42, муфту 55, конические колеса 47—56, червячную пару 57—58 і винт 67. Ручное перемещение стола осуществляется через валик 52 і колеса 51 і 50; при етом муфты 45 і 55 должны быть выключены.

Реверсирование двигуна 40 і переключение муфт 45 і 55 осуществляется при помощи механізма врізання, диски которого 60 — 61 приводятся во вращение переміщенням стола 69 от рейки 66 через зубчасті колеса 65 — 64 — 63 — 62. Один диск служит для однопроходного цикла, другой — для двухпроходного. За 1 мм ходу стола диски 61 — 60 поворачиваются на 10 мм по окружности наружного диаметра; на дисках нанесены деления, указывающие глубину врізання. Как только одна из собачек 59 попадает во впадину на первом диске (на схеме не показано), рычаг воздействует на микропереключатели, которые выключают електродвигатель 40 радиальной подачі, і стол 69 останавливается.

Електродвигун 39 через зубчасті колеса 38-37 і червячную пару 34-33 при выключенной муфте 68 приводит стол в быстрое вращение для точной установки заготовки. Стол можно вращать вручную через валик 46, червячную пару 53—54 і цепную передачу 36—35. Вращение шпинделю долбяка для проверки биения посадочной шейки сообщает електродвигатель 70. Ручное вращение стола осуществляется от рукоятки 46.


Счетчик оборотів стола зубодолбежного верстата 5В150

Счетчик оборотів стола зубодолбежного верстата 5В150

Счетчик оборотів стола зубодолбежного верстата 5в150


Отсчет полного оборота стола з заготовкой производится счетчиком (рис. 98). Вращение вала В связано з вращением стола. За один оборот стола вал делает почти полный оборот. На валу закреплен диск 1, к которому пружиной прижимается диск 2. Последний имеет прорезь, в которую входит фиксатор 3, удерживающий диск от обертання.

Одновременно з вимкненням електродвигуна радиальной подачі включается електромагнит ЭМ4, который выводит фиксатор из прорези, після чего диск 2 начинает вращаться. При включении електромагнита микропереключатель В15 подготовляет електросхему к выключению електродвигуна головного привода. По истечении 2 — 3 мин реле часу отключает електромагнит; при етом фиксатор освобождается, стремясь занять прежнее положение, т. е. сначала прижимается к поверхности диска 2, а затем, когда диск сделает полный оборот, попадает в его прорезь. Диск 2 перестает вращаться, микропереключатель выключает електродвигатель головного привода, і верстат останавливается. Винт 4 служит для регулировки роботи микропереключателя.






5в150 Верстат зубодолбежный вертикальний напівавтомат. Відеоролик.




Технічні характеристики зубодолбежного верстата 5В150

Наименование параметра 5В150 5М150 5М161
Основні параметри верстата
Наибольший модуль нарезаемого колеса, мм 1..12 1..12 1..12
Наибольший диаметр нарезаемых цилиндрических прямозубых колес 800 800 1250
Наибольший диаметр нарезаемого зубчатого венца наружного зацепления, мм 800 800 1000
Наибольшая ширина нарезаемого венца (длина нарезки), мм 160 160
Диаметр делительного колеса суппорта, мм 360
Наибольшее расстояние от оси долбяка (шпинделя) до оси стола, мм 0..700 0..700 50..700
Расстояние от зеркала стола (планшайби) до торца шпинделя, мм 155..355 140..340
Расстояние от пола до планшайби, мм 870 870
Шпиндель долбяка
Наибольший ход долбяка (шпинделя), мм 200 200 200
Наибольший диаметр устанавливаемого долбяка, мм 200 200 200
Пределы чисел двойных ходов долбяка в минуту 33..188 33..188 33..212
Скорость швидкого обертання долбяка, об/мин 3 3 3 Диаметр оправки под долбяк, мм 44,443 44,443 44,443 Кінець шпинделя для крепления инструмента Морзе 5 Морзе 5 Морзе 5 Рабочий стол (план-шайба) Диаметр робочого стола (планшайби), мм 800 800 1000 Диаметр отверстия в столе, мм 120 120 120 Диаметр делительного колеса, мм 872 Пределы круговых подач стола на один двойной ход долбяка (при диаметре долбяка 100 мм), мм 0,2..1,5 0,2..1,5 0,2..1,5 Пределы радиальных подач стола на один двойной ход долбяка, мм 1..5,4 2,07..5,4 0,5..5,0 Скорость швидкого обертання стола, об/мин 1,7 1,7 1,7 Скорость швидкого переміщення стола, мм/мин 137 137 205 Привід і електрообладнання верстата Количество електродвигателей на станке Електродвигун головного приводу - поступательное рух долбяка, кВт (об/мин) 7,5 7,5 5/ 6,3/ 10 (735/ 980/ 1450) Електродвигун швидкого обертання долбяка, кВт (об/мин) 0,8 0,8 0,75 (1390) Електродвигун обертання стола (план-шайбы), кВт (об/мин) 1,1 1,1 1,1 (920) Електродвигун радиальной подачі стола, кВт (об/мин) 2,2 2,2 2,2 (1425) Електродвигун відведення шпинделя в верхнее положение, кВт (об/мин) 1,1 (1425) Електродвигун насоса змазки, кВт (об/мин) 0,25 Електродвигун насоса гідропривода, кВт (об/мин) 0,2 (1430) Електродвигун насоса охлаждения, кВт< (об/мин)/td> 0,12 0,12 0,12 Суммарная мощность електродвигателей, кВт Габаритные розміри і масса верстата Габаритные розміри верстата (длина х ширина х высота), мм 3100 x 1800 x 3500 4200 х 1800 х 3300 3260 х 1850 х 3300 Масса верстата з електрообладнанням і охолодженням, кг 10200 10800 10650

    Список литературы

  1. Аврутин Р.Д. Справочник по гідроприводам металлорежущих верстатів,1965
  2. Гинсбург Е.Г. Производство зубчатых колес, 1978
  3. Калашников А.С. Технология изготовления зубчатых колес, 2004
  4. Копылов Р.Б. Работа на строгальных і долбежных верстатах, 1975
  5. Мильштейн М.З. Нарезание зубчатых колес, 1972.
  6. Овумян Г.Г., Адам А.И. Справочник зубореза, 1983.
  7. Петруха П.Г. Резание конструкционных материалов, режущие инструменты і верстати, 1974
  8. Сильвестров Б.Н., Захаров И.Д. Конструкція і наладка зуборезных і резьбофрезерных верстатів, 1979.
  9. Шавлюга Н.И. Расчет і примеры наладок зубофрезерных і зубодолбежных верстатів, 1978.
  10. Яковцев А.Д. Работа на строгальных і долбёжных верстатах, 1966










Заказать

Кто владеет информацией - тот владеет миром.

Натан Ротшильд