metalinstryment.com
Довідник по металорізальних верстатів та пресовому обладнанні

4Е723 Верстат електроерозионный копировально-прошивочный
опис, характеристики, схеми

Фото копировально-прошивочного верстата 4е723







Відомості про виробника координатно-расточного верстата 4е723

Производитель електроерозионного копировально-прошивочного верстата 4е723 Троицкий станкостроительный завод, ТСЗ, основанный в 1941 году.





Верстати производства Троицкого станкостроительнного завода, ТСЗ


4Е723 Верстат електроерозионный копировально-прошивочный координатный універсальний. Назначение і область применения

Год начала серийного выпуска електроерозионного копировально-прошивочного верстата 4Е723 — 1976. Верстат заменил устаревшую модель 4Б723м

Верстат 4Е723 предназначен для обробки сквозных, глухих отверстий і полостей сложной конфигурации в деталях из токопроводящих материалов і сплавов, труднообрабатываемых обычными механическими способами; используется в автомобильной, тракторной, машиностроительной промышленности.

Обработка ведется по методу копирования електродом-инструментом в среде жидкого диелектрика.

Особливості конструкції і принцип роботи верстата 4Е723

Основанием верстата служит литая плита, в центре которой установлены на круглой стойке стол і охватывающая его подъемная ванна, через днище которой проходит в уплотнении стойка стола.

Под ванной установлены редукторы для її подъема, подъем осуществляется двумя ходовыми гвинтами.

Г-образная траверса, на верхней полке которой расположена инструментальная головка, перемещается по круглой скалке, установленной на задньої стороне верстата.

Нижний конец траверсы опирается на направляющие планки через два сферических підшипника. Движения траверсы по скалке і головки по верхней полке траверсы образуют координатные переміщення инструмента относительно стола. Перемещения осуществляются как вручную, так і механически.

Класс точності верстата Н по ГОСТ 8—77.

Категория качества — высшая.

Проектная организация — Московское особое конструкторское бюро средств автоматизации, контроля і електроерозионного оборудования (ОКБСА).

В соответствии з ГОСТ 15954-70 размерный ряд состоит из пяти типорозмірів електроерозионных копировально-прошивочных верстатів з габаритными размерами столов:

  1. 125х200;
  2. 200х360;
  3. 400х630;
  4. 800х1120
  5. 1600X2000

Універсальный копировально-прошивочный верстат моделі 4Е723 является типичным представителем верстатів третьего типоразмера, выпускаемые Троицким станкостроительным заводом.





Посадочные і присоединительные базы копировально-прошивочного верстата 4е723

Посадочные і присоединительные базы копировально-прошивочного верстата 4е723

Посадочные і присоединительные базы верстата 4е723

Посадочные і присоединительные базы копировально-прошивочного верстата 4е723. Дивитись у збільшеному масштабі



Загальний вигляд копировально-прошивочного верстата 4е723

Фото копировально-прошивочного верстата 4е723

Фото копировально-прошивочного верстата 4е723

Фото копировально-прошивочного верстата 4е723. Дивитись у збільшеному масштабі



Фото копировально-прошивочного верстата 4е723

Фото копировально-прошивочного верстата 4е723


Розташування складових частин копировально-прошивочного верстата 4е723

Розташування складових частин копировально-прошивочного верстата 4е723

Розташування складових частин копировально-прошивочного верстата 4е723






Кінематична схема копировально-прошивочного верстата 4е723

Кінематична схема копировально-прошивочного верстата 4е723

Кінематична схема копировально-прошивочного верстата 4е723

Кінематична схема копировально-прошивочного верстата 4е723. Дивитись у збільшеному масштабі



Кинематические схеми универсальных копировально-прошивочных верстатів должны обеспечивать необходимые переміщення рабочих елементів верстата, ЭИ і електрода-заготовки:

В тяжелых верстатах пятого і шестого типорозмірів предусмотрен отвод рабочей головки верстата из рабочей зоны, что облегчает установку заготовки на стол верстата і съем вироби після ЭЭО. Все выпускаемые промышленностью серийные верстати имеют вертикальную компоновку. Вертикальная компоновка позволяет просто і надежно защитить рабочие органы верстата от загрязнения продуктами ерозии і сокращает занимаемую верстатом производственную площадь. Все настроечные і рабочие переміщення имеют ручное керування і електрические приводы перемещений. Універсальные верстати, как правило, снабжены тумбообразным столом і подъемной ванной или ванной з откидными стенками, которые открываются після слива рабочей среды. Такая конструкция робочого стола придает ему большую жесткость і позволяет обрабатывать любые тяжелые заготовки, размыкающиеся на рабочем столе верстата.

Електричнаи кінематична схеми верстатів предусматривают: ступенчатое или плавное регулювання рабочих режимов електрических приводов различных агрегатов верстата і керування циклом его роботи; систему подачі рабочей среды в ванну верстата і прокачку рабочей среды через ЭИ; отсчет вертикального переміщення шпинделя і вимкнення верстата при достижении заданной величины переміщення (обробки); регулювання амплитуды вибрации ЭИ. Верстати снабжаются пристроями і приборами контроля режимов роботи верстата, пристроями блокировки, защиты і коротких замыканий, возникающих из-за возможных касаний електродов, системой автоматичного регулювання подачі електрода—инструмента і другими системами контроля і регулювання в зависимости от типоразмера верстата.


Опис конструкції електроерозионного копировально-прошивочного верстата 4е723

В комплект електроерозионного оборудования входят:

Сами верстати состоят обычно из:

Могут быть і другие компоновки верстатів. На ряде верстатів системы подачі і очистки рабочей среды выполнены в виде окремих агрегатов.

Генераторы импульсов є самостоятельными агрегатами і размещаются рядом со верстатом, а иногда встраиваются в него (обычно в специальных верстатах). Некоторые електроискровые проволочные вырезные верстати не имеют систем подачі рабочей среды, її очистки і отсоса газообразных продуктов, если обработка осуществляется методом погружения робочого стола з обрабатываемой заготовкой в ванну з водой. Когда обработка производится в керосине, для вытяжки газообразных продуктов используется цеховая вентиляция.

Рабочий стол верстата имеет габаритные розміри 400 х 630 мм; на нем може быть установлена заготовка массой до 750 кг з номинальной площадью обробки 25 000 мм2.

Наибольшая производительность (по стали 45) медного електрода-инструмента - 4000 мм3/мин, а углеграфитового електрода-инструмента - 3000 мм3/мин. Номинальная шероховатость обработанной поверхности - Rz = 4 мкм.

В качестве рабочей среды применяется масло индустриальное типа ИС-12 или ИС-20 или смесь в пропорции 1:1 масла индустриального типа И-12А і осветительного керосина, а также используется сырье углеводородное.

На рис. 22 дан вигляд універсального копировально-прошивочного верстата моделі 4Е723. В комплект верстата входят: верстат, тиристорный генератор 14 (модели ТГ-250-0,15), транзисторный генератор 13 (модели ШГИ-63-440), шкаф з електрообладнанням 11, масляная насосная станція для живлення гідросистемы верстата 4 і бак з рабочей средой 6. Бак оснащен теплообменником для охлаждения рабочей среды і системой очистки рабочей среды от продуктов ерозии. На рис. 22 показано, что комплект оборудования, входящего в верстат, представляет комплекс связанных между собой агрегатов, функционирующих в строгом соответствии з заданными технологией параметрами.

Основанием верстата является станина 1, представляющая собой жесткую плиту, на которой собран весь верстат. На плите установлена нерухома тумба з рабочим столом 8 і подъемная ванна для хранения рабочей среды 3. Через днище ванны в герметичном уплотнении проходит тумба стола. На той же плите расположен механізм подъема і опускания ванны 2.

Прошивочная головка 10 расположена на Г-образной траверсе 7 і може перемещаться вместе з ней по круглой скалке 5, установленной на задньої стороне верстата. Нижний конец траверсы опирается на направляющие планки. Движения траверсы по круглой скалке і инструментальной головки по верхней полке траверсы образуют координатные переміщення инструмента относительно обрабатываемой заготовки, установленной на нерухомому столе. Орбитальное рух електрода-инструмента сообщается головкой 9. В правой частини верстата расположен пульт керування верстатом 12.

Кінематична схема верстата (рис. 23) обеспечивает: перемещение електрода-инструмента в трех взаимно перпендикулярных направлениях относительно стола - продольном, поперечном і вертикальном рабочем перемещении шпинделя з помощью следящей системы, і установочное перемещение всей головки; подъем і опускание ванны рабочей средой, її слив і прокачку рабочей среды через МЭП і орбитальное рух електрода-инструмента.

Продольное установочное перемещение прошивочной головки 13 з електродом-инструментом относительно стола 2 обеспечивается движением траверсы по круглой скалке через редуктор от електродвигуна 15 или вручную от маховика 16. Редуктор расположен в тумбе станины. Маховик ручного переміщення траверсы вынесен на боковую сторону тумбы.

Поперечное установочное перемещение обеспечивается механически ходовым винтом 9 от електродвигуна 8 і вручную от маховичка 6, расположенного на переднем торце верхней полки траверсы.

Вертикальное установочное перемещение прошивочной головки 13 осуществляется от електродвигуна 14, расположенного на каретке прошивочной головки, через винт і гайку 12. Рабочая вертикальная подача електрода-инструмента осуществляется от електрогідравлічного следящего золотника 5. Величина і скорость переміщення електрода-инструмента определяется количеством масла, поступающего в единицу часу в гідроцилиндр прошивочной головки в верхнюю или нижнюю камеру.

Подъем і опускание ванны 3 з рабочей средой производится от електродвигуна 11 через пару редукторов 10 і передачу винт-гайка 1.

Рух орбитальной головки 4 соблюдается електродвигуном 7 через редуктор і приводной валик.

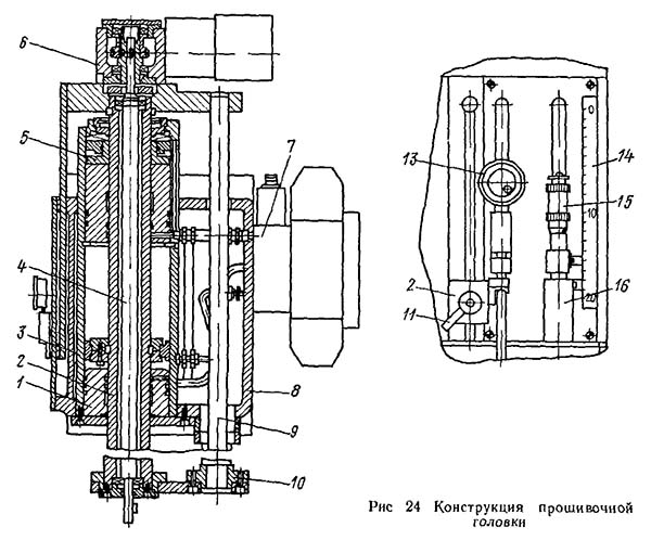
Прошивочная головка

Конструкція прошивочной головки копировально-прошивочного верстата 4е723

Конструкція прошивочной головки копировально-прошивочного верстата 4е723


Прошивочная головка (рис. 24) предназначена для придания електроду-инструменту робочого переміщення і орбитального руху. Конструктивно ета головка представляет собой литой корпус 8, внутри которого установлен гідроцилиндр 3, сообщающий шпинделю 2 рабочее перемещение. На фланце шпинделя устанавливается орбитальная головка (или через переходник для технологической оснастки можно устанавливать електрода-инструмента).

Чтобы избежать зусилля трения шпинделя, применены в качестве підшибників гідростатические направляющие 1. Скалка 9 устанавливается на переходной плите 10 шпинделя і параллельно ему; она служит для предотобертання поворота шпинделя. В верхней частини головки расположен редуктор 6 з електроприводом орбитальной головки. Вращательное рух на орбитальную головку передається з помощью валика 4, проходящего через полый шпиндель 2. Гідротормоз 5, состоящий из цанги і тарельчатых пружин, служит для мгновенного торможения шпинделя після окончания обробки. Во время роботи шпиндель расторможен.

Прошивочная головка имеет отсчетные пристроя, з помощью которых производятся: установка необходимой глубины прошивки, автоматическое відключення верстата при достижении необходимой глубины прошивки і наладочные переміщення електрода-инструмента. В отсчетных пристроях применены индикатор часового типа 13 і измерительная линейка 14; установка необходимой глубины прошивки производится микрометрической головкой 15, а відключення верстата при достижении заданной глубины прошивки осуществляется микропереключателем 16. Точность отсчета координатных перемещений - 0,01 мм. С правой стороны прошивочной головки крепится гідропанель 7, на которой расположены следящий і реверсивные золотники. Корпус прошивочной головки з помощью направляючих типа «ласточкин хвост» устанавливается на каретку траверсы і имеет вертикальное наладочное перемещение.

Передвижной упор 12, закрепляемый рукояткой 11, служит для роботи верстата з орбитальной головкой.

Орбитальная головка

Схема роботи орбитальной головки копировально-прошивочного верстата 4е723

Схема роботи орбитальной головки верстата 4е723


Орбитальная головка (рис. 25) предназначена для придания електроду-инструменту кругового осциллирующего руху в горизонтальной плоскости. Она устанавливается на шпинделе прошивочной головки і получает вращение от редуктора з електроприводом, установленного на прошивочной головке, через приводной валик. При орбитальном движении електрода-инструмента между всеми точками поверхности електрода-инструмента і стенками обрабатываемой полости или отверстия происходит периодическое изменение величины МЭП от минимального до максимального его значения. Благодаря етому улучшаются условия удаления продуктов ерозии из зоны обробки, снижается конусность, обычно возникающая при прошивании полостей і отверстий вследствие износа електрода-инструмента.

При необходимости производить обработку глухой полости в детали 1 глубиной 50 мм з осциллирующим движением електрода-инструмента (например, как показано на рис. 25), обработку осуществляют на получистовом і чистовом режимах з припуском 1,5 мм на сторону, при етом устанавливают глубину прошивки 50 мм. Упором 5 прошивочной головки 8 выставляют зазор между упорами 5 і 6, равный a = 50 ± 1,5 мм, з помощью штангенциркуля или кінцівых мер длины. Затем осуществляют прошивание полости. Пока упоры 5 і 6 не касаются друг друга, пружина 3 надежно удерживает плиту 2 орбитальной головки 10 в нулевом положении. Нулевое положение ексцентриситета устанавливается винтом 4. Углубившись на 48,5 мм, упор 6, движущийся вместе со шпинделем 9, начинает упираться в нерухомий упор 5 і останавливается относительно корпуса прошивочной головки 8. Пружина 3 сжимается і растормаживает плиту 2. С етого момента електрода-инструмента получает орбитальное движение, т. е. идет обработка дна і боковых стенок полости з равномерным снятием припуска. Когда шпиндель пройдет оставшиеся 1,5 мм, микрометрическая головка нажимает на микровыключатель 7 глубины обробки і шпиндель останавливается.

Система подачі і очистки рабочей среды верстата моделі 4Е723

Система подачі і очистки рабочей среды верстата моделі 4Е723

Система подачі і очистки рабочей среды верстата моделі 4Е723


Система подачі і очистки рабочей среды верстата моделі 4Е723 (рис. 26) работает следующим образом. Наполнение ванны рабочей средой осуществляется через магистраль 7 і отверстие в дне ванны, двумя насосами 4 і 5 через сетчатые фильтры 3, установленные на всасывающей магистрали. При достижении заданного уровня рабочей среды в ванне срабатывает реле контроля уровня 9, которое отключает насос 4. Для предотобертання вытекания рабочей среды из ванны через отключенный насос 4 установлен обратный клапан 11 Прокачка среды через електрода-инструмента 8 производится по магистрали 10 насосом 16, на входе которого имеется сетчатый фильтр 17. Рабочая среда через запорный вентиль 13 (вентиль 14 закрыт) поступает на фильтры тонкой очистки 12 і далее по магистрали 10 к електрода-инструмента. Вентиль 15 служит для регулювання давления на входе фильтров тонкой очистки. В том случае, если не требуется тонкая очистка, рабочая среда по обходной магистрали через вентиль 14 (вентиль 13 закрыт) насосом 16 подается к електрода-инструмента. Перелив рабочей среды из ванны при постоянно работающем насосе 5 осуществляется через отверстие в ванне 6 при открытой заслонке в магистраль. Охлаждение рабочей среды в баке 18 происходит за счет циркуляции воды через змеевик 1. При нагреве рабочей среды до 55 °С запорный вентиль по команде терморегулятора 2 включает циркуляцию воды.

Для оснащения електроерозионных копировально-прошивочных верстатів моделей 4Е723, 4Е724 і других типов, а также для централизованного обеспечения очистки рабочей среды группы верстатів, выпускается «Агрегат снабжения і очистки рабочей жидкости к електроерозионным верстатам» типа ХЭ38-16 (рис. 31). Агрегат снабжен автоматизированной системой подачі рабочей жидкости через межелектродный промежуток, включающий три самостоятельных агрегата прокачки і отсоса, визуальный контроль расхода прокачки і величины давления, а также отсоса по мановакуумметрам.

Для очистки жидкости в агрегате используются намывные фильтры з тонкостью отсева 10 мкм. Для увеличения объема бака з жидкостью он имеет присоединительные фланцы, осуществляющие стыковку з дополнительными емкостями.

Агрегат снабжения і очистки рабочей среды типа ХЭ38-16 полностью автономный имеет автоматизированную систему подачі рабочей среды в МЭП і систему прокачки і отсоса рабочей среды, а также приборы контроля расхода і давления рабочей среды.


Настановне креслення копировально-прошивочного верстата 4е723

Настановне креслення копировально-прошивочного верстата 4е723

Настановне креслення копировально-прошивочного верстата 4е723





4е723 Верстат електроерозионный. Відеоролик.




Технічні характеристики копировально-прошивочного верстата 4е723

Технічні характеристики копировально-прошивочного верстата 4е723

Технічні характеристики копировально-прошивочного верстата 4е723

Технічні характеристики копировально-прошивочного верстата 4е723. Дивитись у збільшеному масштабі