Виробник універсального профілешліфувального верстата 3951ВФ1 - Ленінградський верстатобудівний завод ім. Ілліча , заснований у 1924 році.
З 1984 року завод Ілліча входить до Об'єднання прецизійного верстатобудування як головне підприємство, а з 1993 року реєструється як Санкт-Петербурзький Завод прецизійного верстатобудування, СПЗПЗ .
В даний час Санкт-Петербурзький завод прецизійного верстатобудування, СПЗПС
Верстат профілешліфувальний оптичний 3951ВФ1 призначений для шліфування з високою точністю складних профілів шаблонів, пуансонів, роз'ємних матриць, різального інструменту та інших виробів, профіль яких обмежений прямими лініями, дугами кіл і кривими різноманітної форми. Застосовується в інструментальній промисловості.
Головною особливістю верстата 3951ВФ1 є наявність екрана, на якому у збільшеному вигляді (10:1; 25:1; 50:1) за допомогою спеціального оптичного проекційного пристрою ІЗП-25 проектуються вироби, що обробляються, і шліфувальний круг.
На верстаті 3951ВФ1 є екран, на якому у збільшеному вигляді (10:1; 25:1; 50:1) за допомогою спеціального оптичного пристрою як у проходить, так і у відбитому світлі проектується ділянка оброблюваного виробу, закріпленого на столі верстата, і частинина шліфувального кола, закріпленого на шпинделі шліфувальної бабки.
На екран накладається креслення деталі на кальці в масштабі 10:1; 25:1; 50:1. Обробка ведеться поєднанням зображення кола з контуром креслення. Переміщення супортів шліфувального кола вздовж профілю здійснюється вручну або механічно за допомогою електродвигунів постійного струму, кількість оборотів яких регулюється за допомогою реостатів.
Шліфування потрібного профілю на заготівлі ведеться шляхом обкатки екраном навколо нерухомого виробу. Якщо весь профіль деталі не розміщується на екрані розміром 500x500 мм, то шліфування деталі проводиться по ділянках. Перехід від однієї ділянки до іншої здійснюється за рахунок ручного переміщення координатних столів, на одному з яких закріплено виріб, що обробляється. Точність переміщення координатних столів забезпечується двома оптичними відліковими пристроями ВЕ-76А з ціною розподілу 0,005 мм та двокоординатним пристроєм цифрової індикації Ф5291 з дискретою 0,001 мм.
Обкатка шліфувальним колом профілю виробу може проводитися як вручну, так і механічно. У ручному режимі шліфувальний круг по двох координат переміщається за допомогою двох електронних маховиків з наступною редукцією, мм/об: 0,25; 0,5; 1; 2; 4.
У режимі механічної обробки можливі такі варіанти роботи:
При роботі верстата шліфувальний круг здійснює крім обертального та поступального (рух подачі) ще й зворотно-поступальний рух, що дещо перевищує висоту виробу. Поворотно-поступальний рух санок (каретки) шліфувального кола здійснюється автоматично за допомогою електродвигуна через кулісний механізм. Після шліфування оброблені поверхні доводяться.
Для визначення моменту контакту кола з виробом або з алмазом у верстаті використовується пристрій контролю дотику (ЗКК) з роздільною здатністю близько 0,002 мм. З метою охолодження верхніх освітлювачів оптичної системи, а також для роботи пристрою для балансування кола і розвантаження супортів шліфувальної бабки при їх поворотах верстат оснащений блоком підготовки повітря.
Верстат 3951ВФ1 поставляється згідно з ТУ 2.574.9750.35-85.
Розробник - Ленінградське спеціальне конструкторське бюро прецизійного верстатобудування.
Клас точності верстата - по ГОСТ 8-82Е.
Шорсткість обробленої поверхні Ra 0,4 мкм.

Схема оптичного пристрою профілешліфувального верстата 3951ВФ1
Профільно-шліфувальний верстат 3951ВФ1 з екраном показано на рис. 76, а. Оброблювана деталь закріплюється на координатному столі 23, має поздовжнє, поперечне і вертикальне переміщення від точних ходових гвинтів. Поздовжнє переміщення санок 18 проводиться рукояткою 19, поперечне переміщення санок 20 - рукояткою 21, вертикальне переміщення столу - маховиком 22. Деталь встановлюється на робочому столику 17, який змонтований на верхніх поздовжніх санках координатного столу і разом зі столиком розташовується. Оптична система проектує збільшене зображення профілю деталі на екран 14. Креслення профілю деталі, виконаний у масштабі 50 : 1, закріплюється між двома екранними склом і висвітлюється освітлювачами 15 і 16.
Шліфувальна головка 24 разом зі шпинделем 8 шліфувального кола має настановне та робоче переміщення. Шпиндель, змонтований у вертикальних санках 10, здійснює зворотно-поступальний рух при включенні важеля 11. Довжина ходу санок 0-50 мм. За допомогою ггвинта 12 шліфувальний круг встановлюється по висоті щодо профілю оброблюваної деталі. Рухомий фланець 4 служить для повороту кола в горизонтальній площині, а кругові санки 6 і 7 - для встановлення його під кутом у горизонтальній та вертикальній площинах. Шліфувальна головка змонтована на верхніх поздовжніх санках 3, що переміщаються по нижніх поперечних санках 1 за допомогою рукояток 2 і 5. Шліфувальне коло обертається від електродвигуна 9. Періодична правка кола проводиться за допомогою пристрою, що встановлюється на бічній стінці кругових санок 1.
Верстат дозволяє шліфувати різні профілі деталей плоскої та круглої форми з точністю до 0,01-0,02 мм. Обробка проводиться так. Робочий вручну переміщує шліфувальну головку щодо профілю деталі і стежить за тим, щоб ріжуча кромка шліфувального кола постійно співпадала з відповідною точкою збільшеного зображення цього профілю, поєднаного з профілем креслення на екрані.
Схема оптичного пристрою показано на рис. 76, б. Промінь світла від лампи 1, проходячи через лінзи 2 і 3, призму 4, діафрагму 5, лінзи 6-9 проектує контур деталі на екрані проектора 14 у вигляді чіткої тіні. Освітлювачі 13 через лінзи 10-12 додатково висвітлюють деталь. Далі промені проходять через проекційний об'єктив, що складається з лінз 15, 16, 17, і прямують через призму 18 до дзеркала 19, відбиваючись від якого, потрапляють на дзеркало 20 і далі на екран, що складається зі стекол 21 і 22 із закріпленим між ними. Помилка на екрані 1 мм відповідає помилці профілю оброблюваної деталі 0,02 мм.
Крім описаних типів верстатів, що працюють шліфувальним кругом, є профільно-шліфувальні верстати, що працюють гнучкою абразивною стрічкою. У таких верстатах стрічка, що рухається, з нанесеним на неї абразивом, облягаючи фасонний профіль оброблюваної поверхні, шліфує її.

Площа шліфування профілешліфувального верстата 3951ВФ1
Профілешліфувальні верстати призначені для шліфування поверхонь, що утворює яких крива або ламана лінія. Процес обробки на таких верстатах називають профільним шліфуванням . Цим методом виготовляють зазвичай оснащення, фасонний ріжучий інструмент, копіри, шаблони, лекала тощо, значно рідше — деталі машин.
Залежно від схеми формоутворення оброблюваної поверхні профілешліфувальні верстати можна розділити на дві групи:
У першому випадку профіль оброблюваної поверхні створюється при рухах кола вздовж лінії а (див. рис. 10.12), званої утворює профілю, і вздовж лінії 1, званої напрямної. Утворювальна відтворюється у вертикальній площині при поворотно-поступальному русі шліфувального кола щодо заготівлі. Лінія 1 утворюється в горизонтальній площині при взаємному переміщенні кола і заготовки заданої траєкторії. У профілешліфувальних верстатах є механізм формоутворення напрямної, за допомогою якого шліфувальний круг ведуть по заданій траєкторії щодо заготівлі або заготівлю щодо шліфувального кола.

У другому випадку можна використовувати спеціальні пристрої редагування, а для шліфування — плоскошліфувальні верстати. Такий метод отримав назву глибинного шліфування, коли весь припуск знімають за один прохід при повзучій подачі столу. Шліфування широким профільованим колом відрізняється великою продуктивністю. Крім того, оператор звільняється від необхідності спостереження та ведення кола. Тому плоскопрофілешліфувальні верстати є перспективними для оснащення їх ЧПУ та включення до складу комплексів та систем для безлюдної обробки.
В оптичному профілешліфувальному верстаті (рис. 10.13) шліфувальний круг 1 переміщає оператор, впливаючи на рукоятки 3. Зображення кола 1 і заготовки 5 у збільшеному вигляді проектується на екран 7, на якому нанесена напрямна профілю. Найбільш поширене 50-кратне збільшення оптичної системи із розміром екрану 500 х 500 мм. При такій кратності збільшення справжні розміри зображення становлять лише 10 х 10 мм.

Профільно-шліфувальні верстати мають такі основні вузли: шліфувальний супорт, координатний (хрестовий) супорт для деталі, стіл для встановлення креслення та оптичний пристрій.
На профільно-шліфувальних верстатах здійснюються такі рухи:

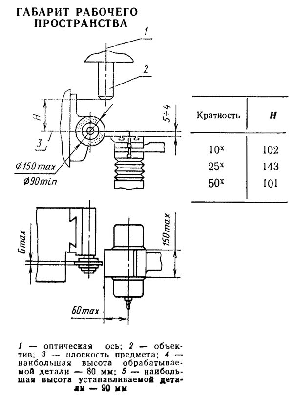
Габарит робочого простору верстата 3951ВФ1

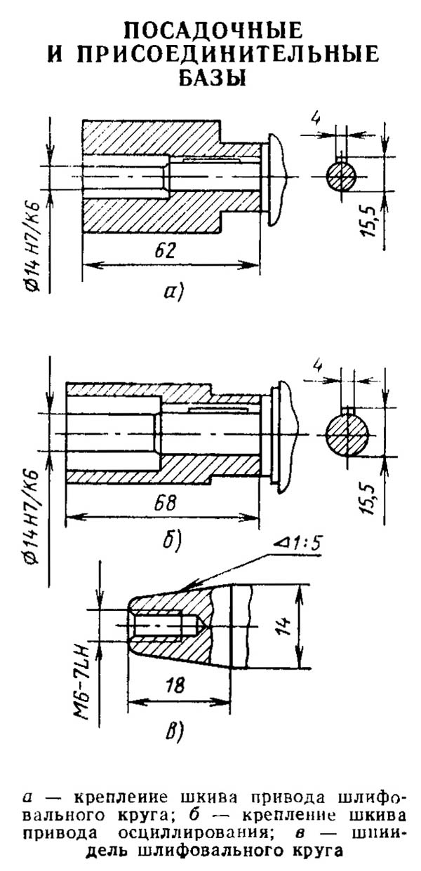
Приєднувальні розміри та посадочні місця верстата 3951ВФ1

Фото профілешліфувального верстата 3951ВФ1

Фото профілешліфувального верстата 3951ВФ1

Фото профілешліфувального верстата 3951ВФ1

Розташування органів керування профілешліфувальним верстатом 3951ВФ1

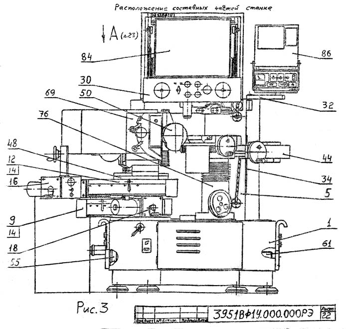
Настановне креслення профілешліфувального верстата 3951ВФ1
| Найменування параметру | 395 м. вул | 395mF10 | 3951VF1 |
|---|---|---|---|
| Розмір профілю виробу, що обробляється | |||
| Найбільші розміри виробу, що шліфується, мм | 150 х 60 х 78 | 150 х 60 х 78 | 150 х 60 х 78 |
| Найбільша висота профілю шліфованого виробу, мм | 48 | 78 | 78 |
| Розмір площини безпосереднього шліфування зі збільшенням х50, мм | 10 х 10 | 10 х 10 | 10 х 10 |
| Розмір площини безпосереднього шліфування зі збільшенням х25, мм | 20 х 20 | 20 х 20 | 20 х 20 |
| Розмір площини безпосереднього шліфування зі збільшенням х10, мм | 50 х 50 | ||
| Розмір площини шліфування з використанням еталонних плиток, мм. | 150 х 60 | ||
| Максимальна товщина виробу, що обробляється, мм | 48 |