Виробник настільного свердлувального верстата моделі 2Н112 - Навчально-виробничі майстерні Пермського механічного технікуму ім. Слов'янова .
Свердлильний настільний верстат 2Н112 призначений для свердління отворів та нарізування різьблення в дрібних деталях із чавуну, сталі, кольорових сплавів та неметалічних матеріалів в умовах промислових підприємств, ремонтних майстерень та побутових майстерень.
Відлік глибини свердління провадиться за плоскою шкалою або упором.
Оригінальна конструкція натягу ремінної передачі дозволяє швидко змінювати положення ременя на шківах для отримання потрібної швидкості різання.
Використання тумби для установки верстата 2Н112 дає можливість свердліти торці довгих деталей, наприклад валів. Діаметр валу – до сто двадцяти міліметрів, довжина – до тисячі міліметрів.
Свердлильний верстат 2Н112 дозволяє виконувати такі операції:
Шпиндель верстата 2Н112 отримує 7 швидкостей обертання від 4-ступінчастиних шківів приводу, що забезпечує вибір швидкостей різання в діапазоні від 500 до 4000 об/хв.
Кінець шпинделя – зовнішній укорочений конус морзе КМ2, позначення В18 за ГОСТ 9953 (Конуси інструментальні укорочені) – конус укорочений: D = 17,780 мм, довжина конуса 37,0 мм.
Укороченому конусу В18 відповідає свердлильний трикулачковий патрон 16-го типорозміру за ГОСТ 8522 (Патрони трикулачкові свердлильні) з діапазоном затиску від 3 до 16 мм.
Приклад умовного позначення свердлильного 3-х кулачкового патрона, типорозміру 16, з конусним приєднувальним отвором В18:
Патрон 16-Б18 ГОСТ 8522-79
Розробник – Молодечненський верстатобудівний завод МСЗ.
Виробник – Навчально-виробничі майстерні Пермського механічного технікуму ім. Слов'янова.
Параметри верстата відповідають - ТУ2-024-734 від 2.03.1967 р. та ГОСТ 8-53.
Конус інструментальний - Конус Морзе - одне з найбільш застосовуваних кріплень інструменту. Був запропонований Стівеном А. Морзе приблизно 1864 року.
Конус Морзе підрозділяється на вісім розмірів - від КМ0 до КМ7 (англійською: MT0-MT7, німецькою: MK0-MK7).
Стандарти на конус Морзе: ГОСТ 25557 (Конуси інструментальні. Основні розміри), ISO 296, DIN 228. Конуси, виготовлені за дюймовими та метричними стандартами, взаємозамінні у всьому, крім різьблення хвостовика.
Для багатьох застосувань довжина конуса Морзе виявилася надмірною . Тому було введено стандарт на дев'ять типорозмірів укорочених конусів Морзе (B7, B10, B12, B16, B18, B22, B24, B32, B45), ці розміри отримані видаленням більш товстої частинини конуса. Цифра позначення короткого конуса — діаметр товстої частинини конуса в мм.
Російський стандарт на укорочені конуси ГОСТ 9953 Конуси інструментів укорочені .
Російський стандарт на свердлильні патрони ГОСТ 8522 Патрони свердлильні трикулачні .
Де D – діаметр конуса в основній площині.

Посадочні місця та приєднувальні розміри свердлильного верстата 2Н112

Фото свердлильного верстата 2н112

Фото свердлильного верстата 2н112

Розташування органів керування свердлильним верстатом 2н112

Кінематична схема свердлильного верстата 2н112

Шпиндельна бабка свердлильного верстата 2н112
Шпиндельна бабка свердлувального верстата 2Н112. Дивитись у збільшеному масштабі

Шпиндельна бабка свердлильного верстата 2н112
Шпиндельна бабка свердлувального верстата 2Н112. Дивитись у збільшеному масштабі

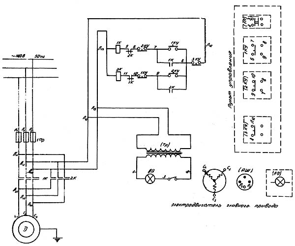
Електрична схема свердлильного верстата 2н112
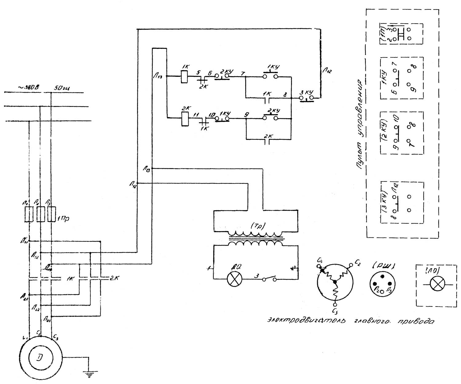
Електрична схема свердлильного верстата 2н112. Дивитись у збільшеному масштабі
| Найменування параметру | 2M112 | 2H112 | 2H115 вечора |
|---|---|---|---|
| Основні параметри верстата | |||
| Найбільший умовний діаметр свердління, мм | 12 | 12 | 15 |
| Найменша та найбільша відстань від торця шпинделя до столу | 0...400 | 70..420 | 70..520 |
| Відстань від осі вертикального шпинделя до направляючих стійки (виліт), мм | 190 | 160 | 160 |
| Робочий стіл | |||
| Ширина робочої поверхні столу, мм | 250 х 250 | 250 х 250 | 250 х 250 |
| Число Т-подібних пазів | 3 | 3 | 3 |
| Шпиндель | |||
| Найбільше переміщення шпиндельної (свердлувальної) головки по колоні, мм | 250 | 350 | |
| Хід гільзи шпинделя, мм | 100 | 100 | 100 |
| Частота обертання шпинделя, об/хв | 450, 800, 1400, 2500, 4500 | 500, 710, 1000, 1400, 2000, 2800, 4000 | 500, 710, 1000, 1400, 2000, 2800, 4000 |
| Кількість швидкостей шпинделя | 5 | 7 | 7 |
| Конус шпинделя | Морзе В18 | Морзе В18 | Морзе В18 |
| Привід | |||
| Електродвигун приводу головного руху, кВт (об/хв) | 0,55 | 0,6 (1350) | 0,8 (1350) |
| Габарит та маса верстата | |||
| Габарити верстата (довжина ширина висота), мм | 795 х 370 х 950 | 785 х 465 х 795 | 785 х 465 х 895 |
| Маса верстата, кг | 120 | 120 | 130 |