Виробник токарно-револьверного верстата моделі 1В116 - Мелітопольський верстатобудівний завод ім. 23 Жовтня. У 1933 р. завод-ВТУЗ перепрофільовано на випуск металорізальних верстатів. Того ж року студенти-робітники дали країні 288 Верстатів.
Автомати токарно-револьверні одношпиндельні пруткові з горизонтальною віссю револьверної головки моделей 1В116 та 1В116П призначені для виготовлення деталей типу тіл обертання з каліброваного прутка круглого, шестигранного та квадратного різних марок сталей, кольорових найбільшим діаметром обробки 12...18 мм, а при застосуванні пристрою для зовнішньої подачі - 18...22 мм.
Токарний автомат, оснащений багатопозиційною поворотною револьверною головкою, що несе інструменти для обробки зовнішніх і внутрішніх поверхонь, робить різання металу, обточування, розточування, свердління, зенкерування, розгортання, нарізування різьблення мітчиками і плашками, проточування канавок, а при оснащенні токарів додатковими пристроями, на ньому можна проводити пропилювання і фрезерування пазів, фрезерування різьблення, нарізання різьблення різцем, прошивку і фрезерування багатогранників, свердління глибоких отворів, обробку деталей вісьма інструментами з револьверного супорту, а також обробляти штучні заготовки, а також обробляти штучні заготовки.
Назва револьверний походить від способу закріплення ріжучих інструментів у барабані. Токарний автомат працює в автоматичному режимі. «Програмою» є набір кулачків та кінцевих упорів, які здійснюють у потрібні моменти зупинку, вибір напрямку, зміну інструменту та інші дії.
Основною особливістю токарно-револьверних верстатів 1В116 та 1В116П, 1В116П-02 є наявність револьверного супорта, що несе багатопозиційну револьверну головку, на якій закріплюють інструменти. Крім револьверного супорта верстати мають поперечні та вертикальні супорти, на яких закріплюють інструменти для обробки зовнішніх поверхонь. Дані конструктивні особливості нашіх токарних автоматів дозволяють здійснювати обробку деталей різними різальними інструментами, що вводяться в дію послідовно, причому застосування спеціального технологічного оснащення підвищує продуктивність за рахунок паралельної обробки поверхонь кількома інструментами.
Підвищення продуктивності та рентабельності використання токарних автоматів моделей 1М116, 1В116П, 1В116П-02 сприяє попереднє налаштування верстата на обробку заданої деталі та подальша робота з упорів.
Найбільша довжина каліброваного прутка 3000 мм круглого, квадратного та шестигранного перерізу не нижче 4 класу точності за ГОСТ 7417-75, ГОСТ 8559-75х та ГОСТ 8560-67.
Автомати 1М116 та 1В116П використовуються в умовах масового та серійного виробництва. При застосуванні групової обробки деталей автомати можуть ефективно використовуватись у дрібносерійному виробництві.
Точність обробки на автоматі 1М116 при зовнішній обточці - по 8 квалітету, при обточуванні внутрішніх поверхонь - по 11 квалітету; довжина при відрізку — за 9 кваліфікацією.
Наявність нових конструктивних елементів, заміна матеріалів ряду деталей, використання 30 додаткових пристроїв значно розширили технологічні можливості автоматів. На автоматах можна проводити обточування, розточування, свердління отворів, нарізування різьблення, пропилювання та фрезерування пазів з боку револьверної головки, з боку відрізки деталей, поперечне свердління та фрезерування при загальмованому шпинделі, обробляти штучні заготовки, використовуючи магазинну та бункерну.
Подача охолоджуючої рідини до ріжучого інструменту здійснюється насосом, розташованим у правій ніші основи автомата. Регулювання подачі СОЖ здійснюється корковим краном. Як СОЖ на автоматах рекомендується застосовувати сульфофрезол, ГОСТ 122-76, та емульсол, ГОСТ 1975-75.
Клас точності автоматів Н за ГОСТ 8—77.
Розробник — Мелітопольський верстатобудівний завод імені 23 Жовтня.
У комплект і вартість автомата входить підтримуючий пристрій для прутка.
За особливим замовленням за окрему плату поставляються:
Синоніми: токарно-револьверний верстат, револьверний верстат, токарно-револьверний автомат, turret lathe, automatic turret lathe.

Принцип роботи токарно-револьверного автомата
На відміну від автоматів поздовжнього точення шпиндельна бабка 1 токарно-револьверного автомата встановлена на станині жорстко і поздовжнього переміщення не має (рис. 81).
Для нарізування різьблення на заготовці різьбонарізним інструментом, що не обертається, шпиндель 2 автомата обертається у двох напрямках:
Крім поперечних супортів 3 токарно-револьверний автомат має продов.ний револьверний супорт 5, на якому встановлена поворотна шестипозиційна (I-VI) револьверна головка 4 з інструментами для обробки поздовжньою подачею. В одній позиції револьверної головки встановлюється спеціальний упор 6, що обмежує величину подачі дроту 7.
Наявність в токарно-револьверних автоматах трьох (а в деяких і чотирьох) поперечних супортів і поздовжнього револьверного супорта значно розширює їх технологічні можливості порівняно з автоматами поздовжнього точення і дозволяє обробляти на них досить складні заготовки із застосуванням великої кількості різноманітних різальних інструментів. Застосування спеціальних пристроїв ще більше розширює їх технологічні можливості.
Більшість робочих операцій виконується при швидшому лівому обертанні шпинделя, а такі операції, як нарізання різьблення, розгортання та деякі інші, - при більш повільному правому обертанні шпинделя. Перемикання напрямків обертання шпинделя здійснюється автоматично.
Недоліком токарно-револьверних автоматів є необхідність подавати пруток відразу на всю довжину заготовки, що обробляється. При великому вильоті l прутка зі шпинделя він прогинатматися під дією сили різання Рz, що призводитиме до зниження точності обробки.

Схема обробки заготовки на токарно-револьверному автоматі
Схема обробки заготовки на токарно-револьвер . Дивитись у збільшеному масштабі
На рис. 82 показано обробку заготівлі типової деталі на токарно-револьверному автоматі. Після відрізки деталі та відходу відрізного різця проводиться швидка подача дроту до упору (I) відразу на всю довжину заготовки. Потім проводиться послідовна обробка заготівлі різальними інструментами (II-VII), що встановлюються в робочу позицію при періодичному повороті револьверної головки, та інструментами поперечних супортів.
Приклад позначення одношпиндельних автоматів та напівавтоматів: 1Б140, 1Е140, 1П140, 1Г140П, 1І125П, 1І140П, 1І165П.

Габарит робочого простору револьверного верстата 1В116

Шпиндель верстата 1В116
Шпиндель токарно-револьверного верстата 1В116 Шпіндель токарно-револьверного верстата 1В11. Дивитись у збільшеному масштабі
Фото токарно-револьверного верстата 1В116

Фото супортів токарно-револьверного верстата 1В116

Фото токарно-револьверного верстата 1В116
Фото токарно-револьверного верстата 1В1 Дивитись у збільшеному масштабі

Фото токарно-револьверного верстата 1В116
Фото токарно-револьверного верстата 1В1 Дивитись у збільшеному масштабі

Розташування основних вузлів токарно-револьверного верстата 1В116
Розташування основних вузлів токарно-револь . Дивитись у збільшеному масштабі

Розташування органів керування револьверним верстатом 1В116
Розташування органів керування револьверним верстатом 1В116 Розташування органів керування револьверним верстатом 1В116. Дивитись у збільшеному масштабі
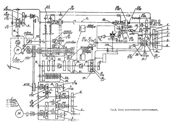
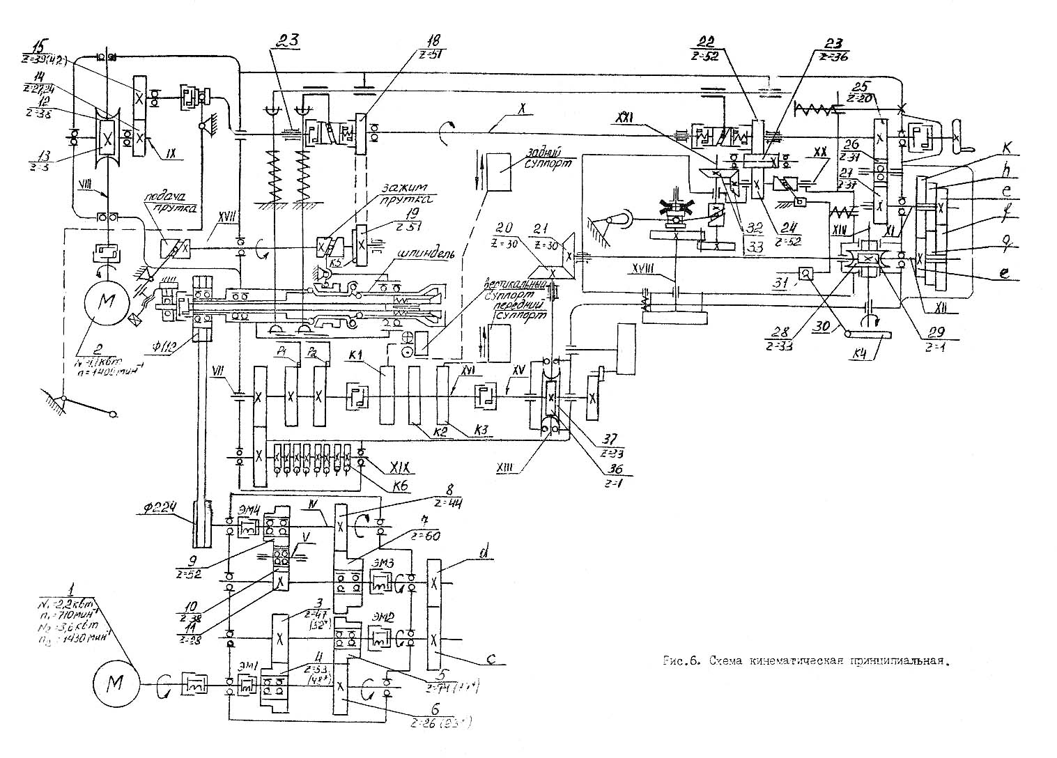
Кінематична схема токарно-револьверного верстата 1В116
Кінематична схема токарно-револьверного верстата1. Дивитись у збільшеному масштабі

Установлювальне креслення токарного револьверного верстата 1В116
Установочне креслення токарного револьверного верстата 1В1 Дивитись у збільшеному масштабі
Зразки виробів, отримані на верстаті 1В116

Технічні характеристики верстата 1В116