Виробник токарного верстата моделі 1К62Д - Челябінський Верстатобудівний завод №78 імені Серго Орджонікідзе, ФНВЦ "Станкомаш" , заснований у 1935 році.
Продукція, що виробляється: верстати токарно-гвинторізні: 1К62Д, 1К625Д, ТС-30, ТС-70, ТС-75, ТС-85 компактні токарні верстати ТВ-250.
Токарно-гвинторізний верстат 1К62Д є вдосконаленим прототипом верстата 1К62 , що добре зарекомендував себе в багатьох країнах світу, що випускався раніше заводом "Червоний пролетар".
Токарний верстат 1К62Д призначений для виконання різноманітних токарних робіт, у тому числі для нарізування різьблень: метричної, дюймової, модульної, питної та архімедової спіралі з кроком 3/8", 7/16", 8, 10 і 12 мм. Клас точності Н згідно з ГОСТ 8. Умови експлуатації УХЛ4, ТС4, ТВ4 за ГОСТ15150 залежно від замовлення-наряду.
Основні переваги верстата 1К62Д - висока потужність головного приводу, велика жорсткість і міцність всіх ланок кінематичного ланцюга, надійність та вібростійкість конструкції, широкий діапазон частот обертання шпинделя, розрахованих на швидкісне та силове різання.
Шпиндель верстатів 1К62Д встановлений на спеціальних підшипниках, які забезпечують необхідну жорсткість та високу точність обробки.
Обробка різноманітних матеріалів може проводитись з ударними навантаженнями без втрати точності.
Верстати 1К62Д можуть використовуватися для обробки загартованих заготовок із жароміцної та інструментальної сталі, що вимагають важких режимів різання.
Виїмка в станині (ГАП) дозволяє встановлювати та обробляти заготовки, радіус яких перевищує відстань, обмежену висотою центрів.
Наприклад, найбільший діаметр заготовки, що встановлюється над станиною верстата 1К62Д - 435 мм, а верстат 1К62ДГ з ГАП дає можливість виготовляти деталь із зовнішнім діаметром 630 мм.
Крім базової моделі у складі серії представлено кілька модифікацій верстатів, які враховують індивідуальні запити споживачів.
Особливості тієї чи іншої модифікації неважко простежити з маркування верстата. Приклад позначення верстата:
Верстат токарно-гвинторізний моделі 1К625ДГУ.1500, где
Г - ГАП (виїмка в станині);
1500 - найбільша довжина виробу, що обробляється.
Верстат 1К625Д із збільшеним діаметром обробки -.

Суппорт токарно-гвинторізного верстата 1к62д

Фото токарно-гвинторізного верстата 1к62д

Розташування складових частинин токарного верстата 1к62д

Розташування органів керування токарним верстатом 1к62д
Питание ланцюгів електроустаткування осуществляется следующими напряжениями:
Електроустаткування верстата предназначено для подключения к трехфазной сети переменного тока з глухозаземленным или изолированным нейтральным проводом.
На станке установлены трехфазные асинхронные електродвигатели: (см. рис. 32, 33, 34).

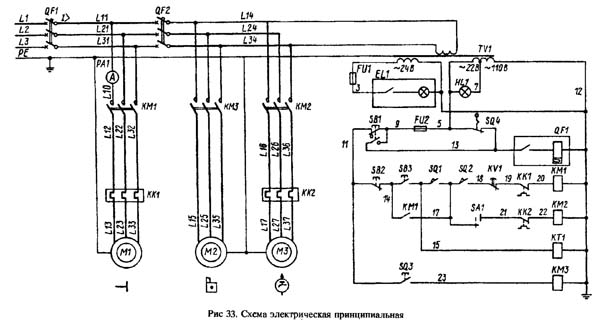
Схема електрична принципова токарного верстата 1к62д
Схема електрична токарно-гвинторізного верстата 1К62Д. Скачать в увеличенном масштабе
Електроустаткування верстата 1К62Д подключается к трехфазной сети переменного тока в соответствии з исполнениями, основні параметри которых приведены в табл. 10.
На каретке установлены:
В рукоятке фартука встроен конечный выключатель SQ3 для керування електродвигуном переміщення каретки і суппорта.
В левой нише задньої стороны станины установлен конечный выключатель SQ1 ограничения холостого ходу головного привода. Открывание защитного кожуха з левой стороны верстата контролируется конечным выключателем SQ2.
Рабочее место освещается светильником EL1, смонтированным на каретке.
Шкаф керування установлен на задньої стенке передньої бабки. На внешней стороне шкафа имеются наступні органы керування і индикации:
Подключение верстата. При подключении верстата необходимо убедиться в соответствии напряжения і частоти питающей сети електрическим параметрам верстата, указанным в таблице на внутренней стороне дверцы шкафа керування.
Ввод проводов заземления і електроживлення сети може быть выполнен через верхнюю плоскость шкафа керування или через нижнюю, причем фланец з резьбовым отверстием G3/4-B для присоединения защитной оболочки сетевых проводов, взаимозаменяем з крышкой нижней плоскости шкафа. Подключать верстат к питающей сети і системе заземления изолированными медными проводами согласно табл. 11.
При заземлении верстата к контуру заземления стальной шиной используется спеціальний болт, расположенный на задньої стороне станины под шкафом керування, при етом в шкаф вводятся только три фазных провода
В електросхеме верстата предусмотрены наступні блокировки:
При первоначальном пуске верстата внешним осмотром проверить надежность заземления і состояние електроустаткування. Осмотреть електроаппаратуру, установленную в електрошкафу. Подвижные частини магнитных пускачів должны перемещаться свободно без заеданий і перекосов, как при воздействии на них рукой, так і от дії возвратных пружин. После осмотра отключить на клеммном наборе ХТ2 (см. рис. 34) і тепловом реле КК1 провода живлення електродвигателей M1, М2, М3. Увімкненням вводного автоматичного выключателя запитать схему керування.
Проверить действие всех блокировочных устройств. Проверить з помощью органів ручного керування правильность срабатывания магнитных пускачів і реле. При достижении нормальной роботи всех електроаппаратов присоединить ранее отключенные провода.
Поочередным включением електродвигателей проверить правильность направления их обертання, которое должно быть, если смотреть со стороны выходного вала, у приводов головного і охлаждения — против часовий стрелки, а у приводу быстрых перемещений каретки — по часовий стрелке.
Схема електрична принципова верстата приведена на рис. 33. В табл. 12 указан перечень елементів к схеме. Номинальные данные аппаратов, меняющиеся в зависимости от напряжения питающей сети, приведены в табл. 14.
Схема електрична з'єднань верстата приведена на рис. 34 і табл. 13. Схема з'єднань панелі керування показана на рис. 35 і табл. 15.
Пуск електродвигуна головного приводу M1 осуществляется нажатием кнопки SB3, которая замыкает ланцюг катушки пускателя КМ1, переводя его на самопитание. Остановка електродвигуна Ml осуществляется кнопкой SB2.
Електродвигун быстрых перемещений каретки і суппорта М2 управляется нажатием толчковой кнопки, встроенной в рукоятку фартука, воздействующей на конечный выключатель SQ3.
Пуск і зупинка електронасоса охлаждения М3 осуществляется переключателем SA1. Работа електронасоса сблокирована з електродвигуном головного приводу Ml і увімкнення его возможно только після увімкнення пускателя КМ1.
Для ограничения холостого ходу електродвигуна головного приводу в схеме имеется реле часу КТ1. В средних (нейтральных) положениях рукоятки увімкнення фрикционной муфты головного приводу замыкается контакт конечного выключателя SQ1 і включается реле часу КТ1, которое через установленную выдержку часу отключит своими контактами пускатель КМ1 головного привода.
Аварийную остановку любого работающего електродвигуна з Одновременным отключением верстата от електросети производят нажатием на кнопку SB1, при етом вследствие изменения состояния контактов етой кнопки обесточиваются схеми керування реле і контакторов і срабатывает дистанционный расланцюгитель вводного выключателя QF1.
Захист електродвигателей і трансформатора от тока короткого замыкания осуществляется автоматическими выключателями і плавкими предохранителями.
Электродвигатели Ml і М2 от длительных перегрузок защищены тепловыми реле КК1 і КК2.
Нулевая защита електросхеми верстата, исключающая самопроизвольное увімкнення електроприводу при восстановлении напряжения сети після его отключения или недопустимого снижения, обеспечивается магнитным пускателем КМ1 і его нормально открытыми контактами.

Список елементів токарно-гвинторізного верстата 1К62Д
Список елементів токарно-гвинторізного верстата 1К62Д. Скачать в увеличенном масштабе

Характеристика електроустаткування токарно-гвинторізного верстата 1К62Д

Рамещение електроустаткування токарно-гвинторізного верстата 1К62Д
Рамещение електроустаткування токарно-гвинторізного верстата 1К62Д. Скачать в увеличенном масштабе

Рамещение електроустаткування в електрошкафу токарно-гвинторізного верстата 1К62Д
Периодически проверять состояние пусковой і релейной апаратури. Все детали електроаппаратов должны быть очищены от пыли і грязи. Во избежание появления ржавчины, поверхность стыка сердечника з якорем пускателя периодически смазывать машинным маслом з післядующим обязательным протиранием сухой тряпкой (для предохранения от прилипания якоря к сердечнику).
Подвижные частини магнитных пускачів должны перемещаться свободно без заеданий і перекосов, как при воздействии на них рукой, так і от дії возвратных пружин. После осмотра отключить на клеммном наборе ХТ2 (см. рис. 34) і тепловом реле КК1 провода живлення електродвигателей Ml, М2, МЗ. Увімкненням вводного автоматичного выключателя запитать схему керування.
Проверить действие всех блокировочных устройств. Проверить з помощью органів ручного керування правильность срабатывания магнитных пускачів і реле. При достижении нормальной роботи всех електроаппаратов присоединить ранее отключенные провода.
Поочередным включением електродвигателей проверить правильность направления их обертання, которое должно быть, если смотреть со стороны выходного вала, у приводов головного і охлаждения — против часовий стрелки, а у приводу быстрых перемещений каретки — по часовий стрелке.
При осмотрах релейной апаратури особое внимание следует обращать на надежность замыкания і размыкания контактных мостиков.
Периодичность технических осмотров електродвигателей устанавливается в зависимости от производственных условий, но не реже одного раза в два месяца.
При технических осмотрах проверяется состояние вводных проводов обмотки статора, производится очистка двигателей от загрязнения, контролируется надежность заземления.
Периодичность профилактических ремонтов устанавливается в зависимости от производственных условий, но не реже одного раза в год. При профилактических ремонтах следует разбирать електродвигатели, очищать внутренние і наружные поверхности і заменять смазку підшибників.
Заменять смазку підшибників при нормальных условиях експлуатации через 4000 ч роботи, а при работе електродвигуна в пыльной і влажной среде — чаще (по мере необходимости).
Перед набивкой свежей змазки підшипники должны быть промыты бензином. Камеры заполнить смазкой на 2/3 її объема. Рекомендуемые смазочные материалы приведены в табл. 16.
Профилактический осмотр автоматических выключателей проводить не реже одного раза в шесть месяцев, а также після каждого отключения при коротком замыкании, в том числе і повторном.
Шарниры механізма выключателя следует периодически (примерно через 2000...3000 включений) смазывать вазелиновым приборным маслом. Не следует производить какую-либо регулировку выключателей в условиях експлуатации, так как она выполнена заводом-изготовителем. Допускается установка аппаратов других типов з сохранением технических характеристик.
При осмотре очистить выключатель от копоти і нагара металла, проверить затяжку винтов, целостность пружины і состояние контактов.
| Наименование параметра | 1К62Д | 1К62ДГ | 1К625Д | 1К625ДГ |
| Основні параметри | ||||
| Класс точності по ГОСТ 8-82 | Н | Н | Н | Н |
| Наибольший диаметр заготовки над станиной, мм | 435 | 435 | 500 | 500 |
| Наибольший диаметр заготовки над суппортом, мм | 224 | 224 | 290 | 290 |
| Наибольший диаметр заготовки над выемкой, мм | - | 630 | - | 700 |
| Наибольшая длина заготовки (РМЦ), мм | 1000,1500 | 1000,1500 | 1000,1500 2000 |
1000,1500 2000 |
| Наибольшая масса заготовки в патроне, кг | 200 | 200 | 300 | 300 |
| Наибольшая масса заготовки в центрах, кг | 900 | 900 | 1300 | 1300 |
| Шпиндель | ||||
| Диаметр сквозного отверстия в шпинделе, мм | 55 | 55 | 55 | 55 |
| Наибольший диаметр прутка, мм | ||||
| Число ступеней частот прямого обертання шпинделя | 23 | 23 | 23 | 23 |
| Частота прямого обертання шпинделя, об/мин | 12,5..2000 | 12,5..2000 | 12,5..2000 | 12,5..2000 |
| Число ступеней частот обратного обертання шпинделя | 12 | 12 | 12 | 12 |
| Частота обратного обертання шпинделя, об/мин | 19..2420 | 19..2420 | 19..2420 | 19..2420 |
| Размер внутреннего конуса в шпинделе, М | Морзе 6 | Морзе 6 | Морзе 6 | Морзе 6 |
| Кінець шпинделя по ГОСТ 12593-72 | 6К | 6К | 6К | 6К |
| Наибольший крутящий момент, кНм | 2 | 2 | 2 | 2 |
| Подачи | ||||
| Наибольшая длина ходу каретки, мм | 930,1430 | 930,1430 | 930,1430 1930 |
930,1430 1930 |
| Число ступенів поздовжніх та поперечних подач | 42 | 42 | 42 | 42 |
| Межі поздовжніх подач, мм/про | 0,07..4,16 | 0,07..4,16 | 0,07..4,16 | 0,07..4,16 |
| Межі поперечних подач, мм/про | 0,035..2,08 | 0,035..2,08 | 0,035..2,08 | 0,035..2,08 |
| Швидкість швидких переміщень супорта, поздовжніх, м/хв. | 4,5 | 4,5 | 4,5 | 4,5 |
| Швидкість швидких переміщень супорта, поперечних, м/хв. | 2,25 | 2,25 | 2,25 | 2,25 |
| Кількість нарізних різьблень метричних | 45 | 45 | 45 | 45 |
| Межі кроків різьб метричних, що нарізаються, мм | 0,5..192 | 0,5..192 | 0,5..192 | 0,5..192 |
| Кількість нарізних різьблень дюймових | 28 | 28 | 28 | 28 |
| Межі кроків різьблення дюймових, ниток на дюйм | 24..1 5 / 8 | 24..1 5 / 8 | 24..1 5 / 8 | 24..1 5 / 8 |
| Кількість нарізних різьблень модульних | 38 | 38 | 38 | 38 |
| Межі кроків різьблення модульних | 0,5..48 | 0,5..48 | 0,5..48 | 0,5..48 |
| Кількість нарізних різьблення питних | 37 | 37 | 37 | 37 |
| Межі кроків різьблення питних | 96..1 | 96..1 | 96..1 | 96..1 |
| Кількість нарізних різьблень архімедової спіралі | 5 | 5 | 5 | 5 |
| Межі кроків нарізання різьблення архімедової спіралі | 3/8",7/16" 8.10 |
3/8",7/16" 8.10 |
3/8",7/16" 8.10 |
3/8",7/16" 8.10 |
| Супорт | ||||
| Ціна поділу лімба поздовжнього переміщення, мм | 0,1 | 0,1 | 0,1 | 0,1 |
| Найбільше переміщення санок, мм | 140 | 140 | 140 | 140 |
| Ціна поділу лімба різцевих санчат, мм | 0,05 | 0,05 | 0,05 | 0,05 |
| Задня бабка | ||||
| Ціна поділу лімба, мм | 0,1 | 0,1 | 0,1 | 0,1 |
| Розмір внутрішнього конуса пінолі | Морзе 5 | Морзе 5 | Морзе 5 | Морзе 5 |
| Найбільше переміщення пінолі, мм | 200 | 200 | 200 | 200 |
| Поперечне зміщення корпусу задньої бабки, мм | ±15 | ±15 | ±15 | ±15 |
| Електроустаткування | ||||
| Кількість електродвигунів на верстаті | 3 | 3 | 3 | 3 |
| Потужність електродвигуна головного приводу, кВт | 11 | 11 | 11 | 11 |
| Частота обертання, об/хв | 1500 | 1500 | 1500 | 1500 |
| Потужність електродвигуна швидких переміщень, кВт | 0,75 | 0,75 | 0,75 | 0,75 |
| Частота обертання, об/хв | 1500 | 1500 | 1500 | 1500 |
| Потужність електродвигуна насоса охолодження, кВт | 0,12 | 0,12 | 0,12 | 0,12 |
| Потужність всіх електродвигунів, кВт | 11,87 | 11,87 | 11,87 | 11,87 |
| Габарити та маса верстата | ||||
| Габарити верстата при РМЦ = 1000 мм | 2786 x 1200 x 1500 |
2786 x 1200 x 1500 |
2786 x 1221 x 1500 |
2786 x 1221 x 1500 |
| Маса верстата при РМЦ = 1000 кг | 3080 | 3080 | 3120 | 3120 |
1К62Д, 1К625Д, 1К625ДГ Паспорт токарно-гвинторізного верстата, (djvu) 1,8 Мб, Скачать