Виробник токарно-гвинторізного верстата підвищеної точності 1Е61М - Ульянівський машинобудівний завод ім. Володарського багатопрофільне підприємство, що випускало патрони до нарізної стрілецької зброї, автомобільні свічки запалювання, верстати токарно-гвинторізні, вантажопідйомне обладнання, автоматичні роторні лінії, безконтактні пускачі, ланцюги пиляльні, тягові, приводні, роликові, ЗІП до сель.
Завод випускав універсальні токарно-гвинторізні верстати моделей: ТВ-01, ТВ-01М, 1Е61, 1Е61М, 1Е61МТ, 1Е61ВМ, 1Е61ПМ, С1Е61ВМ, С1Е61ПМ, УТ16ВМ, УТ16ПМ.
Токарні верстати моделей 1Е61М створені на базі верстата ТВ-01М і належать до класу легких токарних верстатів. Початок серійного випуску верстата 161 - 1965 рік. Випуск наступної моделі 1Е61ПМ, 1Е61ВМ розпочався у 1975 році.
Верстат токарно-гвинторізний моделі 1Е61М є універсальним і призначений для виконання фінішних операцій при токарній обробці деталей високої точності та нарізування різних різьблень. Клас точності верстата – П.
Гладкі циліндричні поверхні обточують при закріпленні заготовок у трикулачковому патроні прохідним різцем.
Розточування циліндричних поверхонь - це обробка різанням попередньо просвердленого чи необробленого отвору розточним різцем.
Підрізання, проточування канавок та відрізання виконуються з метою надання заготівлі певної форми, розміру та шорсткості.
Зовнішні канавки проточують прорізними різцями. Відрізку здійснюють відрізними різцями.
Обробку зовнішніх конічних поверхонь в залежності від довжини конусної частинини та кута ухилу конічної поверхні можна обточувати широким різцем, поворотом санчат верхнього поздовжнього супорта, поперечним усуненням корпусу задньої бабки за допомогою копіювально-конусної лінійки.
Обробка отворів . На токарномуу верстаті можна свердлити, а також обробляти отвори (розсвердлювати, розгортати, зенкерувати, виконувати циліндричне та конічне розточування).
Привід верстата 1Е61М здійснюється від індивідуального електродвигуна потужністю 4,5 кВт і числом обертів за хвилину 1335.
Клинопасової передачею рух передається на приймальний шків коробки швидкостей. Від коробки швидкостей шістьма клиновими ременями рух передається далі, на шків передньої бабки, та був з допомогою зубчастої муфти — на шпиндель.
Нарізання різьблення підвищеної точності забезпечується можливістю з'єднання ходового ггвинта безпосередньо з відповідним комплектом змінних шестерень на гітарі, минаючи весь ланцюг коробки подач.
Верстат 1Е61М також дозволяє нарізати різьблення нормальної точності за допомогою коробки подач.
Ланцюг подачі верстата має ланку збільшення кроку , з якого досягається восьмиразове збільшення табличного значення подач і кроків різьблення.
Включаючи ланку збільшення кроку, можна робити нарізку різьблення, прорізати всілякі круті спіралі, нарізати багатозахідні черв'яки і виконувати ряд спеціальних робіт.
Фартух верстата має механізм «падаючого» черв'яка, що автоматично вимикає поздовжню та поперечну подачі при роботі з нерухомими упорами. Одночасно цей механізм захищає верстат від поломок під час перевантаження. Але під час роботи ходовим гвинтом користуватися поздовжнім упором неприпустимо.
У середній частинині шпиндельної бабки поміщений клиновий приводний шків, змонтований на двох шарикопідшипниках. Таким чином, шпиндель розвантажений від натягу клинових ременів.
Мастило передньої бабки автоматичне, від окремого масляного насоса. Увімкнення головного електродвигуна та включення масляного насоса зблоковано, чим виключена можливість роботи шпиндельної бабки без мастила.
Підведення мастильно-охолоджувальної рідини в зону різання проводиться електронасосом, включення якого здійснюється при необхідності від окремого вимикача.
Реверсування головного руху верстата – електричне. Гальмування обертання шпинделя проводиться протитечією в електродвигуні.
Електродвигун, що застосовується на верстаті, з підвищеним ковзанням забезпечує підвищення частоти реверсування при нарізанні різьблень.
Виробничі можливості верстата значно розширюються за допомогою ряду додаткових речей, що додаються до верстата за особливим замовленням за окрему плату.
Верстат 1Е61М забезпечує високу точність при дотриманні наступних пунктів:
Б/с головний привід - безступінчастиний привід шпинделя на двигуні постійного струму або частоті тиристорному перетворювачі.

Габарити робочого простору токарного верстата 1е61м.

Габарити робочого простору токарного верстата 1е61м.

Станина токарно-гвинторізного верстата 1е61м
Станина токарно-гвинторізного верстата 1е61м. Дивитись у збільшеному масштабі

Фото токарно-гвинторізного верстата 1е61м
Фото токарно-гвинторізного верстата 1е61м. Дивитись у збільшеному масштабі

Фото токарно-гвинторізного верстата 1е61м
Фото токарно-гвинторізного верстата 1е61м. Дивитись у збільшеному масштабі

Фото токарно-гвинторізного верстата 1е61м

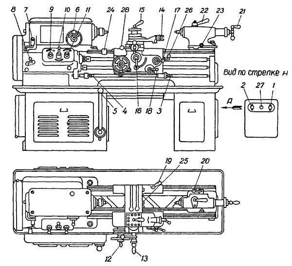
Розташування органів керування верстатом 1е61м
Источником движений в станке является електродвигатель, который через коробку швидкостей (редуктор) передает вращение на шпиндель, а от шпинделя через гітару сменных зубчатых колес і коробку подач вращение передається на ходовой винт м (при нарезке різьби) или на ходовой вал Н (при других токарных операциях).
Торможение шпинделя осуществляется противотоком.
Короткие заготовки закрепляются в кулачковом патроне, а правый конец длинной заготовки поддерживается центром, расположенным в пиноли задньої бабки.
Задня бабка используется также для закрепления і подачі сверла і другого осьового инструмента.
Суппорт служит для осуществления перемещений закрепленного в резцедержателе резца в продольном і поперечном направлениях.
Механізм фартука преобразует вращательное рух ходового вала или ходового гвинта в поступательное рух суппорта.

Кінематична схема токарно-гвинторізного верстата 1е61м
Схема кінематична токарно-гвинторізного верстата 1Е61М. Дивитись у збільшеному масштабі
При обработке заготовок на станке осуществляется два рабочих руху:
Вращение шпинделя осуществляется електродвигуном (М) через редуктор (Р), имеющий 6 ступеней швидкостей, далее через клиноременную передачу на шпиндельный шкив і затем через зубчасті колеса перебора передньої бабки или, минуя перебор, непосредственно на шпиндель.
Изменения частот обертання шпинделя достигаются передвижением блоков шестерен 7-8, 9-10, 11-12 редуктора по шлицевому валику П і переключения шестерен 52-53 перебора передньої бабки.
На рис. 2.3 показана схема приводу руху подачі, который предназначен для передачи руху от шпинделя к суппорту, а также для выбора величины подачі і изменения її направления.
Рух подачі сообщается от конечного звена приводу головного руху - шпинделя з помощью зубчатого колеса 57 реверсивного механізма.
Привід руху подачі верстата (рис.2.3) состоит из реверсивного механізма, гітари сменных шестерен (С),коробки подач (б) з ходовым винтом (М) і ходовым валиком (Н) фартука (К).
Продольное і поперечное переміщення суппорта при обтачивании производится механически при помощи ходового валика XI через механізм коробки подач і фартука или при помощи ходового гвинта (Л) і разъемной гайки.
Ручное продольное перемещение суппорта осуществляется маховичком (12) через шестерни 74-75-65 (рис.2.2, 2.3).
Поперечное перемещение суппорта от руки осуществляется через винт 85 і гайку 86 при помощи рукоятки 13.
Реверсивный механізм предназначен для изменения направления руху ходового гвинта или ходового валика, обеспечивая перемещение суппорта з резцом справа - налево или слева - направо.
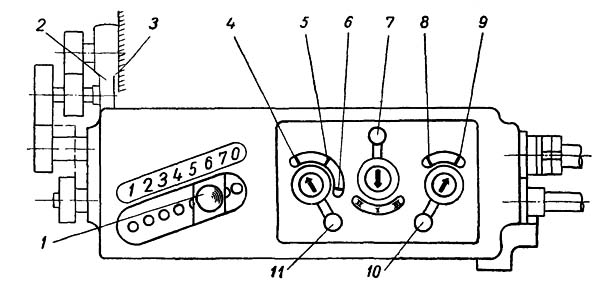
Коробка подач, расположенная передньої стороны верстата, позволяет переключением рукояток быстро изменить величину подачі.

Розташування рукояток керування коробкой подач верстата 1е61м

Схема налаштування гітари токарного верстата 1е61м

Схема установки підшибників на токарно-винторезном станке 1Е61М
Схема установки підшибників на токарно-винторезном станке 1Е61М. Дивитись у збільшеному масштабі

Передня бабка токарно-гвинторізного верстата 1е61м
Передня бабка токарно-гвинторізного верстата 1Е61М. Дивитись у збільшеному масштабі
Шпиндель токарно-гвинторізного верстата 1е61м смонтирован на 3-х підшипниках:
При разборке верстата в случае ремонта или по другой причине необходимо обратить внимание на следующее:
Прежде чем снять шпиндельную бабку со верстата необходимо:
Для снятия клиновых ремней передньої бабки необходимо вынуть шпиндель передньої бабки, а затем ступицу з сидящим на ней шкивом.
Чтобы вынуть шпиндель 1 из корпуса передньої бабки, необходимо снять верхнюю крышку 24, задние крышки 12, 13 і передний фланец 2. Вместе з задньої крышкой вынуть трензельный валик 8. С кінця шпинделя вывернуть гайку 10, предварительно ослабить винт 11. Затем ослабить гайку 3, а гайкой 23 путем навертывания на втулку 25 ослабить вкладыш 26, тем самым увеличится зазор между шпинделем і вкладышем. Таким же образом проделать з задним подшипником ковзання. После вывернуть стопорные винты шестерен трензеля 15 і перебора 4. Далее при помощи свинцового молотка выбивать слабыми ударами шпиндель.
Для снятия шкива со ступицей из корпуса передньої бабки необходимо снять задний фланец 14, ослабить стопорный винт 6 і отвернуть гайку 7, затем вынуть трензель 9. Дальше необходимо ослабить стопорный винт 20, отвернуть гайку 21, ослабить установочные винты 19 і 16. После етого ударами в торец переборной шестерни 22 выбить ступицу 18 вместе со шкивом 17.
Снять сливную резиновую трубку 5 і вынуть клиновые ремни. Сборка передньої бабки будет происходить в обратном порядке.
Разборка остальных вузлів верстата, ввиду ясности демонтажу, пояснения не требует.

Підшипники шпинделя токарно-гвинторізного верстата 1е61м
Підшипники шпинделя токарно-гвинторізного верстата 1Е61М. Дивитись у збільшеному масштабі
Передня конусная шейка шпинделя 1 (рис. 27) вращается в специальном двухрядном роликовом подшипнике 2.
Внутреннее кольцо підшипника имеет коническое отверстие з конусностью 1:12, благодаря чему имеется возможность регулювання величины радиального зазору шпинделя. При правильно отрегулированном радиальном зазоре шпиндель должен легко вращаться от руки (отсутствие заедания), і при точении не должно быть дробления.
Задня шейка шпинделя вращается в шариковом радиально-упорном подшипнике 4, работающем в паре з упорным шарикоподшипником 3, воспринимающим на себя зусилля в обоих направлениях і радиальное усилие.
Для предварительного натяга радиально-упорного підшипника 4 з целью устранения радиального і осьового зазору служит гайка 5, зажатая на шпинделе винтом 6.
Регулювання переднего підшипника 2 производить следующим образом: ослабить стопорный винт 8 в гайке 7, помещенный внутри передньої бабка, подтянуть внутреннее кольцо підшипника 2 путем навертывания гайки 7 на шпиндель. Таким образом, внутреннее кольцо підшипника надвигается на конусную шейку шпинделя, несколько раздается в радиальном направлении, и, тем самым, устраняется радиальный зазор в переднем подшипнике. При етом шпиндель должен легко провертываться вручную при включенном переборе. После выборки радиального зазору законтрить гайку 7 стопорным винтом 8.
В случае замены підшибників шпинделя новыми підшипниками необходимо произвести соответствующие проверки шпинделя на точность согласно ГОСТ 1969-43.
Жесткое соединение поперечных салазок суппорта з кареткой достигается путем регулювання клина салазок (рис. 23).
Для подтяжки клина необходимо ослабить винт 1, винтом 2 поджать клин 3 таким образом, чтобы плавность ходу салазок была сохранена. После подтяжки винт 1 завернуть до упора.
Зазор в направляючих верхних салазок выбирается винтом 1, который своим буртом входит в паз клина 2 (рис. 24).
При вытягивании клиновых ремней их необходимо натянуть. Для натяжения клиновых ремней, передающих рух от електромотора к коробке швидкостей, необходимо снять переднюю і заднюю крышки у передньої тумбы верстата (рис. 25), ослабить гайку 1 і 2, винтом 3 подтянуть салазки з електромотором по продольным пазам на необходимую величину натяга ремней. Достигнув нормального натяжения ремней, гайки 1 і 2 завернуть до отказа.
Для натяжения шпиндельных ремней 3 (рис. 26) необходимо открыть заднюю крышку передньої тумбы, ослабить гайку 1, гайкой 2 натянуть клиновые ремни до необходимого натяга. Достигнув таким образом нормального натяжения ремней, гайку 1 завернуть до упора.
При работе на станке имеют место случаи, когда из-за невнимательности токаря, который вовремя не выключает ходовой винт верстата, фартук набегает на коробку подач і происходит поломка фартука.
В целях предупреждения аварий по вышеуказанной причине предусмотрено соединение ходового гвинта з коробкой подач через срезной штифт.
Рекомендуем Вам в експлуатируемых на вашем предприятии моделях ТВ-01, 1E61 і 1Е61МТ применить предлагаемую конструкцию муфты со срезным штифтом, которая в значительной мере будет гарантировать фартук от поломок (рис. 29, 30, 31).
Подшипник 3182114 - ето двухрядный роликовый радиальный подшипник, з короткими цилиндрическими роликами, з безбортовым наружным кольцом (вследствие чего комплект тел качения на сепараторе способен перемещаться і создавать «плавающую» опору), з коническим посадочным отверстием (1:12), канавкой і отверстиями для внесения смазочного материала. Основное место експлуатации таких підшибників — верстати различного применения, вузли где действуют высокие радиальные нагрузки і скорости. Этот типоразмер, как і большинство роликопідшибників етой серии производится в настоящее время только высокоточным.
Подшипник всегда выпускался на московском ГПЗ-1, сейчас же его производство переводят в Волжский, на филиал Завода Авиационных Подшипников при 15 ГПЗ (все заводы объединены под егидой Европейской Подшипниковой Корпорации). В настоящее время изготавливается модификация 4-3182114К. Раньше же их было значительно больше. Буква К означает наличие кольцевой проточки і трех отверстий для внесения змазки, Е — полиамидный сепаратор. Купить новые підшипники з гарантией качества можно только у официальных представителей ЕПК (ориентировочная цена — около 4800 рублей), зато в фирмах, занимающихся неликвидами можно купить дешевле, і те модификации, которые уже не выпускают, однако, так как підшипники ети по большей частини, высокоточные, нужно мати уверенность, что изделие просто долго хранилось на складе, а не было очищено ото ржавчины или было в експлуатации.
Импортные підшипники етого типоразмера имеют обозначение NN3014K (наличие буквы К в номере обязательно, так как она указывает на коническую посадку). В Россию поставляется продукция разной ценовой категории: наиболее дорогие і надежные — FAG, SKF, IBC, подешевле — NACHI. Еще более дешевый варіант — продукция восточно-европейских производителей — ZKL (Чехия) і FLT (Польша), которая чаще всего реализуется неликвидного качества, иногда даже уже бывшая в употреблении, производства 80-ых годов прошлого века. Ориентировочная цена наиболее качественных і дорогих импортных підшибників етого типа составляет около 300 — 305 евро (бюджетный варіант, например, NACHI — до 150 евро при покупке напрямую), они как есть на складах компаний, расположенных в Москве, Санкт-Петербурге і некоторых других крупных городах, так і поставляются под заказ.

Схема підшипника 3182114 (NN3014K) токарного верстата 1е61м

Фото підшипника 3182114 (NN3014K)
Подшипник 8110 - ето упорный шариковый одинарный применяется в вузлах з осевой нагрузкой і невысокими оборотами. При монтаже следует учитывать, что одно из колец, которое надевается на вал, имеет диаметр на 1 миллиметр меньше, чем то, которое идет в корпус. Несоосность посадочных мест допускать нельзя!
В Российской Федерации производятся на СПЗ-4 (Самара) і ГПЗ-2 (Москва), еще один завод — Курский их уже не выпускает. Иная маркировка вероятнее всего означает что подшипник сделан в Китае і никакой гарантии качества нет.
Подшипник 8110 находит применение в различных центрифугах, редукторах, опорах, домкратах і прочих механізмах. Устанавливается в наступні вузли распространенной в нашей стране автотехники:
Підшипники импортного производства (а также китайские і ГПЗ-2) имеют обозначение 51110.

Схема підшипника 8110 (51110) токарного верстата 1е61пм

Фото підшипника 8110 (51110)
Подшипник 46209 - ето шариковый радиально-упорный однорядный подшипник основного конструктивного исполнения. Тип воспринимаемых нагрузок — как радиальная, так і осевая (до 150% от неиспользованной допустимой радиальной). В случае установки данных підшибників на верстати, требующих високою точності обробки, их ставят парами (комплект сдвоенных еще на заводе підшибників имеет номер 446209) для жесткой осевой фиксации.
Данный тип очень редко выпускается на лидирующем заводе по производству радиально-упорных підшибників — 3 ГПЗ і только в виде модификации 6-46209Л. Підшипники высоких степеней точності можно купить только з хранения. Также данный тип (той же степени точності) може Вам встретиться производства 20 ГПЗ (Курск) і СПЗ-4 (Самара). Но качество продукции етих заводов не такое хорошее.
Помимо высокоточного оборудования і верстатів (большая часть которых, к сожалению, уже практически не используятся современной отечественной промышленностью), підшипники данного типа применяются в автотехнике, например данный тип установлен на задний мост грузового автомобиля ЗИЛ-133.
Импортные підшипники етого типа имеют маркировку 7209A. Сепаратор из латуни в номере отражается наличием буквы М, из полиамида — буквы D.

Схема підшипника 46209 (7209A) токарного верстата 1е61пм
| Наименование параметра | 1Е61М | 1Е61МТ | 1Е61ПМ | УТ61ПМ |
|---|---|---|---|---|
| Основні параметри верстата | ||||
| Класс точності по ГОСТ 8-82 | П | В | П | П |
| Наибольший диаметр заготовки обрабатываемой над станиной, мм | 320 | 320 | 320 | 320 |
| Наибольший диаметр заготовки обрабатываемой над суппортом, мм | 188 | 188 | 170 | 170 |
| Наибольшая длина устанавливаемой детали РМЦ, мм | 710 | 710 | 710 | 750 |
| Наибольшее расстояние от оси центров до кромки резцедержателя, мм | 185 | 185 | 175 | 175 |
| Расстояние от оси шпинделя до направляючих станины (высота центров), мм | 170 | 170 | 175 | 175 |
| Шпиндель | ||||
| Диаметр отверстия в шпинделе, мм | 32,5 | 32,5 | 30 | 32 |
| Диаметр прутка проходящего через отверстие в шпинделе, мм | 32 | 32 | 25 | |
| Частота обертання шпинделя, об/мин | 35..1600 | 35..1600 | 35,5..1800 | 40..2000 |
| Количество прямых/ обратных швидкостей шпинделя | 12 | 12 | 18 | 18 |
| Центр в шпинделе по ГОСТ 13214-67 | Морзе 5 | Морзе 5 | Морзе 5 | Морзе 5 |
| Кінець шпинделя по ГОСТ 12595-72 | 5К | 5К | ||
| Торможение шпинделя | есть | есть | есть | есть |
| Блокировка шпинделя | есть | есть | есть | есть |
| Захист от перегрузок шпинделя | есть | есть | есть | есть |
| Подачи | ||||
| Наибольшая длина ходу суппорта (каретки) - продольное перемещение, мм | 640 | 640 | 710 | 710 |
| Наибольшее поперечное перемещение суппорта, мм | 200 | 200 | 230 | 230 |
| Продольное перемещение суппорта на одно деление лимба, мм | 0,2 | 0,2 | 0,1 | 0,1 |
| Поперечное перемещение суппорта на одно деление лимба, мм | 0,02 | 0,02 | 0,02 | 0,02 |
| Наибольшее перемещение верхнего суппорта (резцовых салазок), мм | 140 | 140 | 140 | 140 |
| Перемещение верхнего суппорта на одно деление лимба, мм | 0,02 | 0,02 | 0,02 | 0,02 |
| Количество подач продольных/ поперечных суппорта | 21 | 21 | 40 | |
| Пределы подач продольных, мм | 0,04..1,99 | 0,04..6 | 0,018..1,1 | 0,018..1,1 |
| Пределы подач поперечных, мм | 0,025..1,24 | 0,012..1,87 | 0,01..0,625 | 0,01..0,625 |
| Количество нарезаемых різьб метрических, мм | 22 | 22 | 35 | |
| Количество нарезаемых різьб модульных, мм | 19 | 19 | 31 | |
| Количество нарезаемых різьб дюймовых, мм | 15 | 15 | 26 | |
| Пределы шагов метрических резьб, мм | 0,2..30 | 0,2..30 | 0,1..56 | 0,1..56 |
| Пределы шагов модульных резьб, модуль | 1..7,5 | 1..7,5 | 0,1..28 | 0,1..28 |
| Пределы шагов дюймовых резьб, ниток/дюйм | 4,0..30 | 4,0..30 | 3,0..30 | 3,0..60 |
| Пределы шагов питчевых резьб, питчей | 8..60 | 8..60 | ||
| Скорость быстрых перемещений продольных/ поперечных, м/мин | нет | нет | нет | нет |
| Высота резца, устанавливаемого в резцедержателе, мм | 20 | 20 | 20 | 20 |
| Задня бабка | ||||
| Наибольшее перемещение пиноли, мм | 100 | 100 | 100 | 100 |
| Цена деления лимба задньої бабки, мм | 1 | 1 | 0,05 | 0,05 |
| Центр в пиноли по ГОСТ 12595-72 | Морзе 3 | Морзе 3 | Морзе 3 | Морзе 3 |
| Поперечное смещение задньої бабки, мм | ±5 | ±5 | ±5 | ±5 |
| Диаметр сверла при сверлении стали, мм | 12 | |||
| Диаметр сверла при сверлении чугуна, мм | 15 | |||
| Електроустаткування верстата | ||||
| Количество електродвигателей на станке | 3 | 3 | 3 | 4 |
| Мощность електродвигуна головного привода, кВт | 4,5 | 4,5 | 2,7/ 4,4 | 3,2/ 5,3 |
| Мощность електродвигуна насоса охлаждения, кВт | 0,125 | 0,125 | 0,12 | 0,12 |
| Потужність електродвигуна насоса мастила, кВт | 0,125 | 0,125 | 0,08 | 0,09 |
| Потужність електродвигуна вентилятора, кВт | ні | ні | ні | 0,18 |
| Габарити та маса верстата | ||||
| Габарити верстата (довжина ширина висота), мм | 2190 х 930 х 1500 | 2191 х 930 х 1500 | 2290 х 1150 х 1365 | 2110 х 1050 х 1395 |
| Маса верстата, кг | 1650 рік | 1650 рік | 1670 рік | 1810 рік |
1Е61ПМ, 1Е61ВМ, С1В61ПМ, С1В61ВМ Паспорт токарно-гвинторізного верстата, 1981, Формат: pdf, Размер: 24,9 Мб, Скачать
Замовити
Хто володіє інформацією – той володіє світом.
Натан Ротшильд