Виробником токарно-гвинторізного верстата 1А62Г з виїмкою в станині є Астраханський верстатобудівний завод , заснований у 1944 році.
Основним видом діяльності Астраханського верстатобудівного заводу є випуск металорізального, ковальсько-пресового, абразивно-відрізного, деревообробного обладнання. Крім того, завод виробляє комплектуючі до верстатів та оснащення.
Завод випускає токарно-гвинторізні верстати моделі 1В62Г , 16В20 , 1В625 , 1В625М з відстанню між центрами 750, 1000 та 1500 мм та токарний верстат з ЧПУ АС16М20Ф3 .
У 1949 році виробництво верстата 1А62 було передано з флагмана радянського верстатобудування заводу Червоний Пролетар на новостворений Астраханський верстатобудівний завод.
Через сім років підприємство припинило випуск свого первістка і розпочало виробництво розробленої на його базі моделі нового токарного верстата, яка мала дві модифікації: 16В20 та 1В62Г.
Токарний верстат моделі 1А62Г вироблявся 25 років починаючи з 1955 року, знятий з виробництва та замінений більш досконалою моделлю 1В62Г з виїмкою у станині та 16В20 без виїмки у станині.
Універсальний токарно-гвинторізний верстат 1А62Г призначений для виконання найрізноманітніших токарних, різьбонарізних та свердлувальних робіт, у тому числі для нарізування метричної, модульної, дюймової та питної різьблення на заготовках, що встановлюються в центрах або патроні.
Найбільш доцільно використовувати верстат в інструментальних та ремонтних службах в умовах дрібносерійного та одиничного виробництва на чистових та напівчистових роботах.
Універсальний токарно-гвинторізний верстат 1А62Г дозволяє проводити такі види робіт:
Шпиндель верстата 1а62г отримує 24 швидкості (3 з яких перекриваються) обертання у прямому напрямку (11,5..1200 об/хв) та 12 швидкостей у зворотному напрямку (18..1520) через перебірні шестерні від коробки швидкостей. Для керування перебором служать ручки на передній бабці.
Двостороння фрикційна дискова муфта , що складається з двох незалежних половин, у коробці швидкостей керує пуском, зупинкою та реверсуванням шпинделя при включеному двигуні. Муфта перемикатимуться рукояткою на передній бабці або рукояткою на фартуху верстата.
Коробка подач забезпечує, нарізання метричної, дюймової, модульної та питної різьблення без застосування змінних шестерень. Для нарізування точного різьблення ходовий гвинт може бути прямо включений, минаючи коробку подач.
Механізм коробки подач дає можливість отримати через ходовий гвинт Ø 40 мм з кроком 12 мм.
За допомогою механізму збільшення кроку можна збільшити кроки всіх різьблень у 4 та 16 разів.
Механізм коробки подач забезпечує через ходовий вал Ø 30 мм.
Фартух верстата забезпечений оригінальним механізмом вимикання подачі супорта, що забезпечує високу точність зупинки на жорсткому упорі.
Жорстка коробчатої форми станина з гартованими, шліфованими напрямними має достатню жорсткість.
Станина верстата 1а62г має виїмку, що закривається знімним містком. Це дозволяє при знятому містку обробляти більші (діаметром до 620 мм) заготовки типу дисків, кілець та фланців.
Шпиндель змонтований на точних підшипниках кочення.
Конструкція різцетримача забезпечує стабільність положення фіксації інструменту.
Комплекс огороджувальних та блокувальних пристроїв гарантує безпеку роботи на верстаті.
Виконання та категорія розміщення верстата в частинині умов експлуатації - УХЛ4 за ГОСТ 15150-82Е.
Клас точності верстатів - Н за ГОСТ 8-82Е.
Основні технічні дані по ГОСТ 18097-93 Верстати токарно-гвинторізні та токарні. Основні розміри. Норми точності.

Габарит робочого простору токарного верстата 1а62г

Фото токарно-гвинторізного верстата 1а62г
Фото токарно-гвинторізного верстата 1а62г. Дивитись у збільшеному масштабі

Фото токарно-гвинторізного верстата 1а62г
Фото токарно-гвинторізного верстата 1а62г. Дивитись у збільшеному масштабі

Фото токарно-гвинторізного верстата 1а62г
Фото токарно-гвинторізного верстата 1а62г. Дивитись у збільшеному масштабі

Фото токарно-гвинторізного верстата 1а62г

Розташування органів керування токарним верстатом 1а62г
Живлення ланцюгів електроустаткування здійснюється наступними напругами:
Електроустаткування верстата призначене для підключення до трифазної мережі змінного струму з глухозаземленим або ізольованим нейтральним дротом.
На станке установлены четыре трехфазных короткозамкнутых асинхронных електродвигуна:

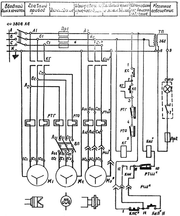
Електрична схема токарного верстата 1а62г

Список елементів токарного верстата 1а62г
Список елементів токарно-гвинторізного верстата 1А62Г. Дивитись у збільшеному масштабі

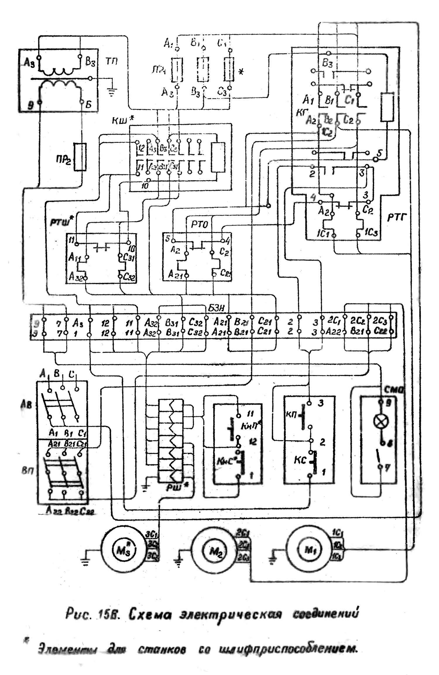
Схема з'єднань токарного верстата 1а62г
Схема з'єднань токарно-гвинторізного верстата 1А62Г. Дивитись у збільшеному масштабі
На станке установлены два трехфазных короткозамкнутых асинхронных електродвигуна. На поставляемом по отдельному заказу за особую плату шлифовальном приспособлении также устанавливается трехфазный короткозамкнутый асинхронный електродвигатель.
Электроаппаратура верстата смонтирована, в основном, на панелі, расположенной в нише станины з задньої стороны верстата. Ниша закрыта крышкой з замком под спецключ, поставляемый со верстатом.
Для обеспечения високою надежности в работе і возможности обслуживания електроустаткування верстата специалистами средней квалификации, вся релейно-контакторная аппаратура имеет простую конструкцию і испытана многолетней експлуатацией в различных условиях.
Освещение робочого места производится смонтированным на каретке станочным светильником з гибкой стойкой і встроенным выключателем.
С лицевой стороны верстата расположены наступні органы керування:
Кнопочная станція для пуска і останова електродвигуна шлифовального приспособления установлена на корпусе пристосувань.
Выключатель светильника местного освещения расположен на отражателе лампы накаливания.
Пуск електродвигуна головного приводу Ml осуществляется після увімкнення вводного автоматичного выключателя АВ нажатием кнопки «Пуск» КнП, которая, замыкая ланцюг катушки контактора магнитного пускателя КГ, переводит его на самопитание, тем самым обеспечивая подвод електроенергии к електродвигателю.
Останов електродвигуна головного приводу Ml осуществляется нажатием кнопки «Стоп» КС, которая размыкает ланцюг катушки контактора КГ, что приводит к размыканию контактов пускателя і обесточиванию електродвигуна. Керування електродвигуном шлифовального приспособления МЗ* осуществляется аналогично кнопками КнП і КнС.
Пуск і зупинка електронасоса охлаждения М2 осуществляется выключателем пакетным ВП.
Работа електронасоса М2 сблокирована з електродвигуном головного приводу Ml і увімкнення его возможно только після замыкания контактов пускателя КГ, т. е. після увімкнення електродвигуна Ml.
Захист електродвигателей головного приводу Ml, електронасоса охлаждения М2, шлифовального приспособления М3* і трансформатора ТП от токов коротких замыканий осуществляется автоматическим выключателем АВ і предохранителями ПР.
Захист електродвигателей Ml, M2 і МЗ* от длительных перегрузок осуществляется тепловыми реле РТГ, РТО і РТШ*.
Нулевая защита електросхеми верстата, предохраняющая от произвольного увімкнення електроприводу при восстановлении подачі електроенергии після внезапного її отключения, осуществляется катушками магнитных пускачів КГ і КШ*.
Подключение і обслуговування електродвигателей верстата производить согласно инструкции по монтажу і експлуатации трехфазных асинхронных електродвигателей мощностью от 0,6 до 100 кВт в соответствии з «Правилами технической експлуатации електроустановок потребителей і правилами техники безопасности при експлуатации електроустановок потребителей.
Перед подключением верстата необходимо произвести монтаж електродвигуна Ml на подмоторной раме і провести регулировку величины натяжения ремней шкивов.
До подключения верстата к питающей сети необходимо провести измерение сопротивления в системе заземления. Электродвигатели і станина должны быть надежно заземлены. При выполнении заземления верстата стальной или медной шиной используются спеціальний винт і шайбы, расположенные внизу на левой стороне ножки станины.
| Наименование параметра | 1А62Г | 1К62 |
|---|---|---|
| Основні параметри | ||
| Класс точності по ГОСТ 8-82 | Н | Н |
| Наибольший диаметр заготовки над станиной, мм | 400 | 400 |
| Наибольший диаметр заготовки над суппортом, мм | 210 | 220 |
| Наибольшая длина заготовки (РМЦ), мм | 1000 | 710, 1000, 1400 |
| Наибольшая длина обробки (точения), мм | 900 | |
| Наибольший диаметр заготовки над выемкой, мм | 600 | нет |
| Наибольшая длина обробки (точения) над выемкой, мм | 300 | нет |
| Наибольшая масса заготовки в патроне, кг | 290 | 500 |
| Наибольшая масса заготовки в центрах, кг | 1150 | 1500 |
| Шпиндель | ||
| Диаметр сквозного отверстия в шпинделе, мм | 38 | 47 |
| Наибольший диаметр прутка, мм | 36 | 45 |
| Число ступеней частот прямого обертання шпинделя | 21 | 24 |
| Частота прямого обертання шпинделя, об/мин | 11,5..1200 | 12,5..2000 |
| Число ступеней частот обратного обертання шпинделя | 12 | 12 |
| Частота обратного обертання шпинделя, об/мин | 18..1520 | 19..2420 |
| Размер внутреннего конуса в шпинделе, М | Морзе 5 | Морзе 6 |
| Кінець шпинделя по ГОСТ 12593-72 | 6К | 6К |
| Суппорт. Коробка подач | ||
| Наибольшая длина продольного ходу каретки суппорта, мм | 900 | 640, 930, 1330 |
| Наибольший поперечний ход суппорта, мм | 280 | 250 |
| Наибольший ход верхнего суппорта (резцовых салазок), мм | 113 | 140 |
| Число ступеней продольных подач | 35 | 49 |
| Пределы рабочих подач продольных, мм/об | 0,082...1,59 | 0,07..4,16 |
| Число ступенів поперечних подач | 35 | 49 |
| Межі робочих подач поперечних, мм/про | 0,027..0,522 | 0,035..2,08 |
| Швидкість швидких переміщень супорта, поздовжніх, м/хв. | ні | 3,4 |
| Швидкість швидких переміщень супорта, поперечних, м/хв. | ні | 1,7 |
| Кількість нарізних різьблень метричних | 19 | 44 |
| Межі кроків різьб метричних, що нарізаються, мм | 1..12 | 1..192 |
| Кількість нарізних різьблень дюймових | 20 | 38 |
| Межі кроків різьблення дюймових | 24..2 | 24..2 |
| Кількість нарізних різьблень модульних | 10 | 20 |
| Межі кроків різьблення модульних | 0,5..3 | 0,5..48 |
| Кількість нарізних різьблення питних | 24 | 37 |
| Межі кроків різьблення питних | 95..7 | 96..1 |
| Вертикальна відстань від осі шпинделя до основи різця, мм | 25 | |
| Найбільші розміри державки різця, мм | 25 х 25 | |
| Ціна поділу лімба поздовжнього переміщення супорта, мм | 1,0 | |
| Ціна поділу лімба поперечного переміщення супорта, мм | 0,05 | |
| Ціна поділу лімба поперечного переміщення верхнього супорта (різцевих санок), мм | 0,05 | |
| Задня бабка | ||
| Конус отвору пінолі задньої бабки за ГОСТ 2847-67 | Морзе 5 | |
| Найбільше переміщення пінолі, мм | 150 | |
| Переміщення пінолі на один поділ лімба, мм | 0,1 | 0,1 |
| Розмір поперечного зміщення корпусу бабки, мм | ±15 | ±15 |
| Електроустаткування | ||
| Кількість електродвигунів на верстаті | 2 | 4 |
| Електродвигун головного приводу, кВт | 7,5 | 10 |
| Електродвигун швидких переміщень, кВт | ні | 0,8 |
| Електродвигун гідростанції, кВт | ні | 1,1 |
| Електродвигун насоса охолодження, кВт | 0,125 | 0,125 |
| Насос охолодження (помпа) | ПА-22 | ПА-22 |
| Габарити та маса верстата | ||
| Габарити верстата (довжина ширина висота) (РМЦ = 1000), мм | 1295 х 2785 х 1500 | 2812 1166 1324 |
| Маса верстата (РМЦ = 1000), кг | 1960 рік | 2140 |