При нарізанні різьблення рівняння кінематичних ланцюгів складають виходячи з умови, що за один оборот шпинделя інструмент повинен переміститися в напрямку подачі на величину кроку Рр різьби, що нарізається.
Запишемо рівняння кінематичного балансу для нарізування метричного різьблення з мінімальним кроком:

При нарізанні модульної різьби з мінімальним кроком у дане рівняння замість змінних коліс z = 40-73, 73-64 слід підставити колеса z = 60-73, 86-36. Рівняння кінематичного балансу для нарізування дюймового різьблення у загальному вигляді:

Налаштування сучасного універсального токарно-гвинторізного верстата 1К620 на нарізування різьблення зводиться до налаштування приводів головного руху та руху подачі.
Налаштування коробки подач на крок різьби, що нарізається, в більшості випадків здійснюється за допомогою таблиці, укріпленої на верстаті, або за паспортом.
Рукоятки керування коробки подач встановлюють у положення, вказане в таблиці, а реверс ходового ггвинта - в положення, що відповідає нарізанню правого або лівого різьблення, і при необхідності включають ланку збільшення кроку різьблення.
Обертання коробки подач повідомляється ходовому гвинту, а включення поздовжнього переміщення супорта з різьбовим різцем відбувається при замиканні роз'ємної гайки.
При нарізанні різьблення підвищеної точності або з нестандартним кроком налаштування ланцюга поздовжньої подачі вимагає виконання попередніх розрахунків, іноді досить складних (наприклад, при настроюванні гвинторізного ланцюга не коробкою подач, а гітарою змінних коліс). У сучасних універсальних токарних верстатах передбачено можливість повного відключення коробки подач; ведений вал гітари при цьому з'єднується безпосередньо з ходовим гвинтом верстата. У цих випадках потрібно підібрати змінні колеса з верстата, що є в комплекті, або виготовити додаткові. Підбір числа зубів змінних коліс можна проводити двома способами.
При першому способі важелі коробки подач ставляться в положення, при якому крок, що нарізається, дорівнює кроці ходового ггвинта верстата. Таким чином, передатне число дорівнює кроку ггвинта, що нарізається, поділеному на крок ходового ггвинта. У випадках, коли чисельник чи знаменник передавального числа простого дробу матиме множники, незручні для перетворення їх у числа зубів змінних зубчастиних коліс, розрахунок слід вести за таблицями передавальних чисел.
При другому способі підбір змінних коліс здійснюється по одному з передавальних чисел змінних коліс, що є в наявності (хоча б і з інших верстатів), або за передавальним числом коробки подач.
Якщо необхідно виготовити різьблення з малими допусками по кроку, а гвинт ходовий верстата має похибку при виготовленні, то підбір виконують наближеними методами.

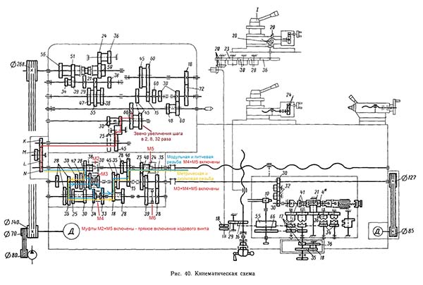
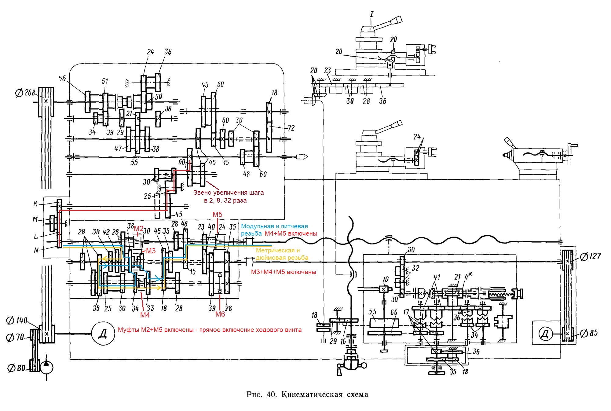
Кінематична схема токарно-гвинторізного верстата 16к20
Кінематична схема токарно-гвинторізного верстата 16к20. Дивитись у збільшеному масштабі

Схема розташування органів керування токарним верстатом 16к20. Рис.9
Розташування органів керування токарно-гвинторізним верстатом 16К20. Дивитись у збільшеному масштабі

Таблиця різьб і подач токарно-гвинторізного верстата 16к20. Рис.10
1. Таблиця різьблення та подач токарно-гвинторізного верстата 16к20. Дивитись у збільшеному масштабі
2. Таблиця різьблення та подач токарно-гвинторізного верстата 16к20. Дивитись у збільшеному масштабі
3. Таблиця різьблення та подач токарно-гвинторізного верстата 16к20. Дивитись у збільшеному масштабі
Таблиця зображена для основного виконання верстатів з межами числа обертів шпинделя за хвилину 12,5..1600. Таблиця розміщена на шпиндельній бабці верстата.
Рукоятки 1 і 2 вибирають швидкість обертання шпинделя в діапазоні від 125 до 1600 об/хв. 4 положення рукоятки 1 і 6 положень рукоятки 2 дозволяють отримати 24 значення швидкості. Як видно з таблиці значення обертів 500 та 630 об/хв повторюються
Рукоятка 3 управляє ланкою збільшення кроку подачі або різьблення у шпиндельній бабці у співвідношенні 1:2, 1:8, 1:32, залежно від кількості обертів шпинделя.
Рукоятка 4 управляє трензелем у шпиндельній бабці та визначає напрямок обертання ходового валу або ходового ггвинта.
Установка величин подач осуществляется рукоятками 5 і 7 (рис. 9) в соответствии со значениями, указанными в средней верхней частини таблицы (рис. 10).
ВНИМАНИЕ! Табличные значения величин подач могут быть получены только при установці сменных шестерен:
t = (K/L)·(L/N) = (40/86)·(86/64) на верстатах моделей 16К20, 16К20П, 16К20Г
t = (K/L)·(L/N) = (45/86)·(86/72) на станке моделі 16К25.
В таблице (рис. 10) даны значения величин продольных подач. Величина поперечної подачі составляет 1/2 поздовжньої.
Для установки величин подач, равных удвоенным табличным значениям, можно воспользоваться указаниями раздела 12.3.3.
Комплект сменных зубчатых колес для 16К20
Комплект сменных зубчатых колес для 16К25
Сменные шестерни, для нарізання резьб, не указанных в таблице (рис. 10):
z=66; z=54; z=52; z=46.
Для нарізання різьб «напрямую»
z=60; z=72; z=54; z=56; z=80; z=80 m=1,5; z=127 m=1,5
для верстата 16К25:
z=88: z=81; z=65; z=69; z=64; z=72; z=54; z=50.
При отправке з завода на верстатах моделей 16К20, 16К20П, 16К20Г устанавливаются сменные шестерни з числом зубьев z = 40, z = 86, z = 64 і шестерня з z = 36, выполняющая в данной комбинации функции проставки.
На станке моделі 16К25 устанавливаются сменные шестерни з z = 45, z = 86, z = 72 і сменная шестерня з z = 73, служащая проставкой.
Комбинация сменных шестерен на верстатах моделей 16К20, 16К20П, 16К20Г:
(K/L)·(L/N) = (40/86)·(86/64)
на станке моделі 16К25:
(K/L)·(L/N) = (45/86)·(86/72)
обеспечивает нарезание метрических і дюймовых резьб з шагами, величины которых указаны в средней нижней частини таблицы (рис. 10). Для етого рукояткой 6 надо установить необходимый тип нарезаемой різьби, а рукоятками 5 і 7 выбрать требуемый шаг.
Установив на верстатах моделей 16К20, 16К20П, 16К20Г комбинацию входящих в основной набор сменных шестерен:
(K/L)·(M/N) = (60/73)·(86/36),
на станке моделі 16К25 — комбинацию
(K/L)·(M/N) = (80/73)·(86/48)
можно нарезать модульные і питчевые різьби, величины шагов которых устанавливают рукоятками 5 і 7 по таблице (рис. 10). При етом рукоятку 6 следует переключить на соответствующий тип різьби.
Установкой входящих в основной набор сменных шестерен комбинации на верстатах моделей 16К20 16К20П, 16К20Г:
2t = (K/L)·(L/N) = (60/86)·(86/28)
или комбинации на станке моделі 16К25
2t = (K/L)·(L/N) = (60/90)·(90/48)
Создается возможность нарізання метрических і дюймовых різьб з шагами, равными удвоенным величинам, указанным в таблице (рис. 10)
Примечание. При помощи етих комбинаций сменных шестерен аналогично описанному можно получать величины подач, равные удвоенным табличным значениям.
Кроме вышеуказанных в основні наборы входят сменные шестерни, обеспечивающие нарезание дюймовых різьб з числом ниток на 1 дюйм 11 і 19.
При помощи дополнительного набора сменных шестерен, поставляемых по особому заказу, і шестерня основного набора на верстатах через механізм коробки подач можно нарезать целый ряд резьб, шаги t которых приведены в левой частини таблицы (рис. 10).
Налаштування верстата для нарізання етих різьб осуществляется з помощью сменных шестерен, указанных в левой частини таблицы (рис. 10). Сменные шестерни, указанные в. левой частини таблицы (рис. 10), но отсутствующие в основном наборе, поставляются по особому заказу (раздел 19.5).
Так же, как і в описанных выше случаях, рукояткой 6 устанавливается тип різьби. Затем в зависимости от выбранного шага t соответствующими рукоятками устанавливается табличное значение, указанное в средней нижней частини таблицы (рис. 10).
Пример. Для нарізання питчевой різьби з шагом 11 питчей рукоятку 6 нужно поставить в положение, соответствующее нарезанию етой різьби, рукоятку 7 — в положение D і рукоятку 5 — в положение 111, что соответствует шагу шести питчей по таблице (рис. 10).
На верстатах моделей 16К20, 16К20П, 16К20Г следует установить комбинацию сменных шестерен:
(K/L)·(M/N) = (60/73)·(86/66),

Формулы подбора сменных шестерен токарного верстата 16к20
Формулы подбора сменных шестерен для нарізання через механізм коробки подач резьб, не приведенных в таблице (рис. 10).
Пример. При необходимости нарізання метрической різьби з шагом t=18 нужно воспользоваться формулами, приведенными в табл. 2.
По таблице (рис. 10) в ряду метрических різьб находим значение шага різьби, ближайшее к нарезаемому.
Таковыми є t = 16 і t = 20. В нашем случае выберем, например, шаг t = 20 і подставим значения в формулы для нахождения числа зубьев z шестерен, которые необходимо изготовить для нарізання етой різьби tнар = 18, tтабл = 20.
Верстати моделей 16К20, 16К20П, 16К20Г

При вычислении чисел зубьев сменных шестерен, требуемых для нарізання різьби, шаг которой отсутствует в таблице, следует подбирать такие коеффициенты, которые позволили бы максимально использовать шестерни, поставляемые со верстатами.-
Так, в выкладках (1) целесообразно принять коеффициент, равный 4, дающий возможность использовать сменные шестерни основного набора з числом зубьев z=36 і z=64, а в качестве промежуточной взята шестерня основного набора з числом зубьев z=86.
В выкладках (2) целесообразно принять коеффициент, равный 9, позволяющий использовать шестерни основного набора з числом зубьев z=45, z=72, z=90.
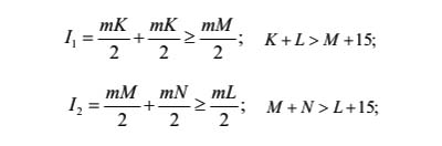
После вычислений по чертежу (рис. 11 для верстатів моделей 16К20, 16К20П, 16К20Г следует проверить возможность сцепления шестерен найденных комбинаций. При етом надо помнить, что число зубьев у шестерни К, устанавливаемой на оси I, не должно превышать 88 при модуле т=2, а у шестерни N, устанавливаемой на оси II, — 73 при том же модуле.
В связи з тем, что в выкладках (2) у сменной шестерни N число зубьев оказалось равным 90, отношение (45/72)·(81/90) заменено тождественным ему отношением (45/90)·(81/72), отвечающим вышеизложенным условиям.
Как показывают получившиеся комбинации сменных шестерен, для нарізання метрической різьби з шагом t=18 на верстатах моделей 16К20, 16К20П, 16К20Г нужно воспользоваться сменными шестернями основного набора.
Для верстата моделі 16К25 нужно дополнительно по типовому чертежу (рис. 13) изготовить шестерню з числом зубьев z=81 і модулем z=2.
Следует обратить внимание на то, что ета шестерня входит в дополнительный набор сменных шестерен, поставляемых по особому заказу. При наличии такого набора необходимость изготовления її отпадает.
При налаштуванні верстата для нарізання метрической різьби з шагом t=18 мм следует установить комбинацию сменных шестерен:
(K/L)·(M/N) = (36/86)·(86/64)
и рукоятки 5 і 7 поставить соответственно в положения II і А или II і С, т. е. для нарізання метрической різьби з шагом t = 20 по таблице (рис. 10), а рукояткой 1 установить соответствующий ряд чисел оборотів шпинделя.
Нарезание різьб підвищеної точності осуществляется при непосредственном з'єднанні ходового гвинта со шпинделем через сменные шестерни з отключением механізма коробки подач.
Рукояткой 6 установить соответствующий, вигляд різьби, а рукоятку 7 поставить в нейтральное положение, обозначенное стрелкой (для исключения холостого обертання механізма коробки подач).
Подбор сменных шестерен для нарізання определенного шага різьби підвищеної точності производится по формуле:
(K/L)·(M/N) = t/8.
Для нарізання етих різьб при помощи, комплекта сменных шестерен, поставляемых заводом, следует воспользоваться данными, приведенными в левой средней частини таблицы (рис. 10). Как видно из таблицы, при помощи шестерен основного набора можно нарезать метрические різьби підвищеної точності з шагом t = 5 мм, t = 10 мм, t = 12 мм.
Остальные шаги метрических різьб і дюймовые різьби, указанные в таблице, могут быть нарезаны при использовании дополнительного набора сменных шестерен, поставляемых по особому заказу.

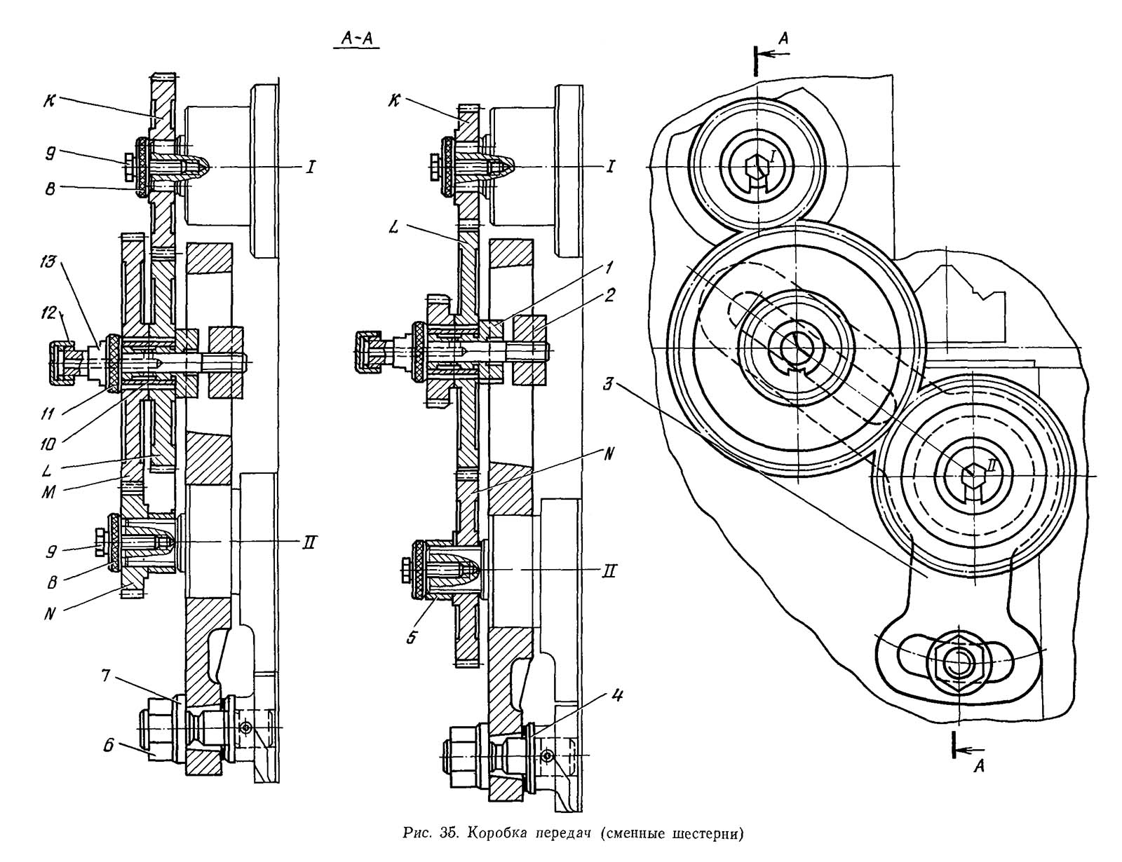
Кресленняи сменных шестерен токарно-гвинторізного верстата 16к20
Кресленняи сменных шестерен токарно-гвинторізного верстата 16к20. Дивитись у збільшеному масштабі

Коробка передач (гітара) токарно-гвинторізного верстата 16к20
Коробка передач (гітара) токарно-гвинторізного верстата 16к20. Дивитись у збільшеному масштабі
Нарезание многозаходных резьб. При нарезании многозаходных різьб необходимо:
Ланцюг головного руху (см. кинематическую схему) задает вращательное рух шпинделю верстата (вал VI). От електродвигуна M (N = 10 кВт, n = 1460 об/мин через клиноременную передачу і коробку швидкостей шпиндель може получить 24 различных значений частоти обертання в диапазоне 12,5… 1600 мин –1 (табл. 4.1) і при етом мати прямое і обратное вращение.
Винторезная ланцюг (ланцюг поздовжньої подачі) согласует вращательное рух заготовки і поступательное перемещение резьбового резца вдоль оси заготовки так, чтобы за один оборот заготовки різець переместился на шаг (если резьба однозаходная) или на ход (если резьба многозаходная). Начальным звеном етой ланцюги является шпиндель верстата, далее рух идет через коробку подач. Конечным звеном является ходовой винт верстата з шагом Pх = 12 мм (см. рис. 4.2). Настройку на шаг нарезаемой різьби проводят з помощью гітари сменных зубчатых колес (K, L, M, N) і коробки подач (см. рис. 4.6).
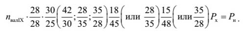
Рівняння кинематического баланса винторезной ланцюги имеет вид
1 об/шп · (60/60)·(30/25)·(25/45)·(K/L)·(M/N) iк.п Px = Pн
где:
iк.п – передаточное отношение коробки подач.
Это рівняння используется при выводе расчетных формул по подбору сменных колес гітари для різьб з шагом Pн, равным табличному Pт или отличающимся от него.
Коробка подач (см. кинематическую схему) имеет две основні кинематические ланцюги. Одна ланцюг служит для нарізання метрических і модульных резьб, а также поздовжньої і поперечної механической подачі. При етом муфты М2 і М6 выключены, а муфты М3, М4 і М5 включены:

Другая ланцюг предназначена для нарізання дюймовых і питчевых резьб. При етом рух на ходовой винт передається, когда муфты М2, М3, М4 і М6 выключены, а муфта М5 включена:

При нарезании метрических і дюймовых різьб устанавливают стандартный набор сменных зубчатых колес гітари:
(K/L)·(L/N) = (40/86)·(86/64)
а при нарезании модульных резьб:
(K/L)·(M/N) = (60/73)·(86/36)
При нарезании різьб з шагом Px, отличающимся от табличного Pт, сменные зубчасті колеса гітари подбирают расчетным путем. Подбор колес проводят по заранее выбранному значению передаточного отношения коробки подач (примем передаточное отношение коробки подач равным единице).
Наладку верстата на резьбонарезание осуществляют в следующем порядке:
1) по заданной скорости різання рассчитываем частоту обертання шпинделя:
n = ν·1000·60/d об/мин,
где:
ν – заданная скорость різання, м/с;
d – диаметр заготовки, мм.
Полученное значение n корректируем по Таблице різьб і подач;
2) по табл. 4.2 определяем соответствие заданного шага нарезаемой різьби табличному значению;
3) если заданный шаг соответствует табличному, то нарезать резьбу можно без специальной налаштування, пользуясь указаниями на положение рукояток коробки подач, находящимися на станке;
4) если заданный шаг не соответствует табличному (см. табл. 4.2), то для нарізання різьби необходимо выполнить специальную налаштування, применяя расчетную формулу для определения передаточного отношения гітари сменных колес.
Например, для метрической різьби расчетная формула имеет вид:
(K/L)·(M/N) = (5/8)·(Pн/Pт)
где
Pн – шаг нарезаемой різьби,
Pт – табличное значение шага, ближайшее к шагу нарезаемой різьби.
По результатам расчета сменные колеса выбирают из следующего набора:
36, 40, 44, 45, 46, 48, 50, 52, 54, 56, 57, 60, 64, 65, 66, 70, 72, 73, 75, 80, 86, 90, 127
(все зубчасті колеса имеют одинаковый модуль m = 2мм).
Нарезание різьби в зависимости от шага Pн проводят за несколько проходов.
Различают четные і нечетные різьби:
Четной называют резьбу, у которой отношение шага (хода) к шагу ходового гвинта верстата (или наоборот) является целым числом.
Нечетной – ту, у которой указанное отношение дробное.
Это разделение определяет приемы налаштування верстата, которые используются при нарезании різьби.
При нарезании четной різьби по окончании прохода різець перемещают в исходное положение вручную или механически (ускоренно) при разомкнутой разъемной гайке ходового гвинта. Кинематическая связь шпинделя і ходового гвинта обеспечивает возможность увімкнення разъемной гайки ходового гвинта при любом положении резца относительно різьби і гарантирует точное попадание его в нарезаемую канавку різьби.
При нарезании нечетной різьби після каждого робочого прохода різець отводят от заготовки в поперечном направлении, переключают супорт на обратный ход и, не размыкая разъемную гайку, отводят різець в исходное положение. Затем різець устанавливают на заданную глубину різання і выполняют следующий проход.
Рассмотрим наладку верстата на примере.
Пример.
Требуется нарезать метрическую резьбу з шагом Pн = 5,5 мм.
Наружный диаметр заготовки D = 40 мм. Материал заготовки – конструкционная сталь. Материал резца – быстрорежущая сталь. Скорость різання v = 0,33 м/с.
Решение:
1) по заданной скорости різання рассчитываем частоту обертання шпинделя:
nшп = 1000 · 60 · v / (πD) = 1000 · 60 · 0,33 /( 3,14 · 40) = 159 об/мин
Полученное значение nшп = 159 об/мин корректируем по табл. 4.1. Для налагодження верстата принимаем ближайшее к расчетному табличное значение – nшп = 160 мин–1;
2) по табл. 4.2 определяем соответствие заданного шага Pн нарезаемой різьби табличному значению Pт;
3) заданный шаг різьби Pн не соответствует табличному Pт.
Выполняем специальную налаштування, пользуясь расчетной формулой для определения передаточного отношения гітари сменных колес для метрической різьби.
Ближайшие к шагу нарезаемой різьби Pн значения Pт равны 5 или 6 мм. Выбираем Pт = 6 мм і подставляем ето значение в расчетную формулу:

Числа зубьев сменных колес выбираем из набора сменных колес:
K = 50, L = 80, M = 66, N = 72
Проверяем условие сцепляемости подобранных сменных зубчатых колес (рис. 4.7)

Из конструктивных соображений зубчасті колеса гітари должны мати наступні значения числа зубьев:
K ≤ 88, N ≤ 73; K + L + M ≥ 260
4) подобранные расчетным путем сменные колеса устанавливаем на верстат. При етом коробку подач настраиваем з помощью рукояток на шаг Pт = 6 мм.
После налагодження верстата, закрепления обрабатываемой детали, установки і закрепления резца, включают верстат і начинают нарезать резьбу, незначительно углубив різець в металл. На поверхности детали получается винтовая риска, шаг которой проверяют линейкой, штангенциркулем или резьбомером. Перед началом следующего прохода різець углубляют по лимбу на требуемую величину.
Нарезать профиль треугольной різьби резцами можно следующими способами.
Первый способ.

Резец устанавливают перпендикулярно оси детали (рис. 224, а), пользуясь шаблоном, как показано на рис. 219.
Перед каждым новым проходом різець выводят из канавки, перемещая поперечний супорт на себя. Затем дают верстату обратный ход, возвращая продольные салазки суппорта в начальное положение. По возвращении продольных салазок резцу дают поперечное перемещение (рис. 224, б). Отсчет ведут по лимбу гвинта поперечної подачі. Так повторяют все ети приемы до тех пор, пока резьба не будет нарезана на полную глубину профиля.
Как видно из рис. 224, б, резьба в етом случае нарезается равномерно обеими режущими кромками. При черновом нарезании отделяющиеся толстые стружки мешают друг другу, поетому возможно заедание резца і получение шероховатой, надорванной поверхности різьби; при чистовом нарезании, когда снимается небольшая стружка, поверхность получается чистой.
Такой способ подачі резца применяется для нарізання різьб з шагом Sp меньше 2 мм; как на черновых, так і на чистовых проходах різець подается за каждый проход на глубину t = 0,05.. 0,2 мм.
Второй способ. Если шаг нарезаемой різьби больше 2 мм, резьбу нарезают особым резцом (рис. 225, а). Его устанавливают в верхней частини суппорта, повернутой на угол α/2 равный половине угла профиля різьби, і подают боковым врезанием, перемещая верхнюю часть суппорта под углом к оси детали в направлении, указанном стрелкой. При такой установці резца резание осуществляется в основном левой режущей кромкой (рис. 225, б); правая режущая кромка снимает очень тонкую стружку, поетому изнашивается медленно.

После каждого прохода різець выводят из канавки, перемещая поперечний супорт на себя (верхнюю часть суппорта не трогают). Затем включают обратный ход верстата і возвращают продольные салазки суппорта в их начальное положение. Перед каждым следующим проходом подают поперечний супорт в прежнее положение (по лимбу, либо по упору). Углубляют різець переміщенням верхней частини суппорта по лимбу.
Для получения более точной різьби окончательное нарезание выполняют по первому способу (см. рис. 224).
Канавки для выхода резьбового резца. При нарезании как наружной, так і внутренней різьби у деталей з уступами необходимо предусматривать канавки для выхода резца, чтобы предохранить его от поломки (рис. 226 і 227). Глубина канавки должна быть немного больше глубины різьби, а ширина канавки должна равняться 2—3 шагам різьби.

Нарезание правой і левой резьб. При нарезании правой різьби ходовой винт і шпиндель вращаются против часовий стрелки, а супорт з резцом перемещаются от задньої бабки к передньої (см. рис. 193, а). При нарезании левой різьби трензель должен быть установлен так, чтобы ходовой винт вращался в обратном направлении, т. е. по часовий стрелке при обычном направлении обертання шпинделя. При етом супорт должен перемещаться к задньої бабке (см. рис. 193, б), следовательно, нарезание левой різьби должно начинаться з левого кінця детали, т. е. ближайшего к передньої бабке.
Охолодження. Застосування змащувальних та охолоджуючих рідин при нарізанні різьблення є обов'язковим. Рясне охолодження оберігає різець від затуплення та сприяє отриманню чистих бічних поверхонь різьблення. Як охолоджуючі рідини при нарізанні різьблення в сталі і латуні рекомендуються емульсії, сульфофрезол (дає кращі результати); чавунні деталі можна нарізати всуху або з гасом.
Каталог справочник токарно-винторезных верстатів і их аналогов
Схеми та паспорти до токарно-гвинторізних верстатів та обладнання