Постачальником настільного токарного верстата Профі-350 (Profi-350) є Tengzhou Uni-tech machinery Co. Ltd. , Китай, м. Tengzhou, Shandong.
Настільний токарно-гвинторізний верстат Profi 350 є верстатом класу «хобі», і призначений для індивідуального (побутового) застосування, тобто за своїми конструктивними особливостями та технічними характеристиками верстат не призначений для використання на виробництві.
Токарний верстат металу Profi 350 призначений для обробки заготовок з металу, деревини, всіх видів пластмаси методом точення.
Верстат Profi 350 є настільним токарним верстатом і призначається для всіляких токарних робіт:
Широкий діапазон регулювання частоти обертання та швидкості поздовжньої подачі збільшує арсенал ріжучого інструменту, що застосовується.
Традиційне наочне компонування верстата у поєднанні з відпрацьованою кінематичною схемою дозволяє впевнено забезпечити токарну обробку з класом точності «Н» протягом тривалого терміну експлуатації.
У порівнянні з пропонованими на ринку малогабаритними верстатами - він простий в експлуатації, надійний та довговічний.
Верстат Профі-350 працює від однофазної мережі змінного струму напругою 220 В частотою 50 Гц.
Верстат Profi 350 може експлуатуватися за таких умов:
Лита станина і жорсткі загартовані напрямні забезпечують високу точність деталі, що обробляється. Він зручний для обробки деталей невеликих розмірів у майстернях, сервісному автомобілі, вдома.

Фото токарного верстата Профі-350. Дивитись у збільшеному масштабі

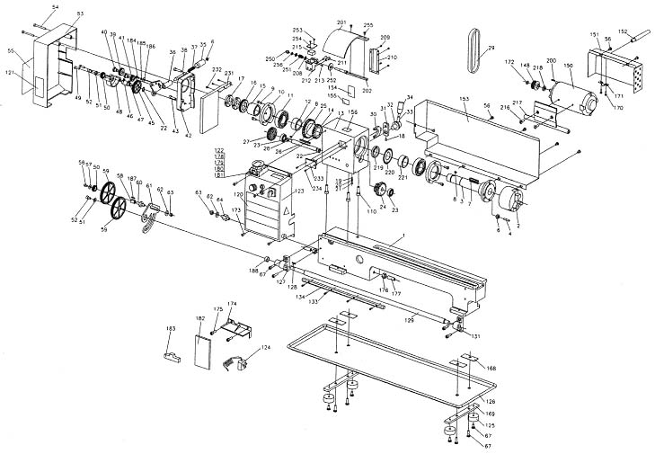
Пряма передача від двигуна до шпинделя здійснюється за допомогою ременя із внутрішнім зачепленням. Швидкість шпинделя є змінною і регулюється за допомогою ручки контролю швидкості (23), розташованої на головній панелі керування.
Шпиндель оснащений внутрішнім конусом для направлення центру для використання з передньою панеллю або затискачем, що обертається.
3-хкулачковий затиск, що самоцентрується (4) встановлений на Фланці шпинделя (2). Для видалення затиску просто видаліть три затискні гайки на задній частинині фланця, послабивши їх разом із трьома кріпильними розпірками.
Затискач також оснащений трьома зовнішніми кулачками, які збільшують його потужність. Їх застосування та спосіб збирання описані в розділі «Додаткове обладнання».
На фланці шпинделя розташовані шість отворів, просвердлених для його з'єднання з передньою панеллю, 4-хкулачковим затискачем і т.д. (Див. «Додаткове обладнання»)
Ходова частинина захищена кожухом (22), який знімається шляхом відгвинчування двох шестигранних болтів.
Передача на провідний шнек здійснюється за допомогою механізму зубчастої передачі, зображеного на Рис. 2. Ведучий шнек працює як черв'ячний гвинт, передача на супорт/салазки і послідовно на ріжучий інструмент відбувається за допомогою важеля автоматичної подачі (15), який зчепляється з провідним шнеком за допомогою муфти. Таким чином, забезпечується подача енергії для нарізки різьблення або основних дій токарного верстата. Швидкість обертання ведучого шнека та темп подачі ріжучого інструменту визначається конфігурацією шестерень. Детальне пояснення дається у розділі "Нарізка різьблення".
Привід провідного шнека може бути вимкнений за допомогою важеля (27). Цей важіль використовується для перемикання обертання ведучого шківа у напрямку вперед і назад. (Ці дії докладно описані в розділі "Нарізка різьблення").
Задня бабка (9) може переміщатися вздовж станини і закріплюється на станині в заданому положенні за допомогою однієї гайки (10). Шпиндель задньої бабки оснащений внутрішнім конусом №2 для використання із центром. Двигун, що обертається, і свердлильний патрон також можуть бути поставлені дилером (див. «Додаткове обладнання»).
Санки несуть на собі Поперечний повзун (6), на якому встановлений Складовий повзун (7) з Різцеутримувачем (5), що дозволяє виконувати складні та витончені операції зі верстатом. Для забезпечення автоматичної подачі при функціонуванні Важіль автоматичної подачі (15), встановленому на Фартуху (17), вони рухаються провідним шківом за допомогою провідної муфти.
Розташування різця здійснюється шляхом повороту Рукояті подачі поперечного повзуна (16), що переміщується навколо верстата, і супорта/санок або Рукояті ручної подачі (18), яка рухається по ньому в поздовжньому напрямку. На додаток до цього Рукоятка подачі складного повзуна (13) може бути використана для переміщення різця на невеликі відстані в напрямку під прямим кутом до поперечного повзуна. Повзун може бути встановлений під кутом до поперечного повзуна, таким чином можуть виконуватися конусоподібні та косі зрізи. Докладніше це описано у розділі «Косі зрізи».
Подавачі поперечного та складового різців оснащені шкалами, що використовуються для точного вимірювання переміщення матеріалу – один поділ відповідає 0,001“ (0,025 мм). При повороті ручки подачі повертається і шкала. Шкала на подавачі поперечного повзуна може утримуватися в нерухомому стані і при повороті рукояті, що дозволяє шкалі виробляти «обнулення». Спосіб застосування такої дії детально описується у розділі «Експлуатація».
Різцеутримувач оснащений вісьмома ггвинтами з шестигранними головками під торцевий ключ, що використовуються для закріплення різця в будь-якому заданому положенні. Конструкція чотирьох лез різця забезпечує швидкість їх встановлення та легкість заміни. Два з них зображені у встановленому вигляді.
Різцетримач повертається шляхом ослаблення до потрібного ступеня важеля (А) на верхній частинині, після чого тримач трохи піднімається і повертається у заданому напрямку.
Завжди стежте, щоб до початку роботи верстата тримач був туго закріплений шляхом затягування важеля.
Розбирання двигуна не рекомендується. Щітки можуть бути замінені у спосіб, описаний у розділі «Обслуговування». З усіх питань, пов'язаних з ремонтом та обслуговуванням обладнання, звертайтеся до дилера обладнання.


| Найменування параметру | Профі-350 | |
|---|---|---|
| Основні параметри верстата | ||
| Найбільший діаметр заготовки над станиною, мм | 180 | |
| Найбільший діаметр заготовки над супортом, мм | ||
| Найбільша довжина заготовки у центрах (РМЦ), мм | 350 | |
| Рекомендована глибина точення за один прохід, мм | ||
| Максимальна глибина точення за один прохід, мм | ||
| Максимальний розмір державки різця, мм | 8 х 8 | |
| Шпиндель | ||
| Діаметр наскрізного отвору в шпинделі, мм | 20 | |
| Приєднання шпинделя | ||
| Число ступенів частот прямого обертання шпинделя | 6 | |
| Частота прямого обертання шпинделя, об/хв | 100..3000 | |
| Диаметр токарного патрона, мм | ||
| Супорт (поперечний повзун). Подання | ||
| Найбільше поздовжнє переміщення каретки супорта, мм | ||
| Переміщення супорта поздовжнє на один поділ лімба, мм | ||
| Найбільше поперечне переміщення супорта, мм | 65 | |
| Переміщення супорта поперечне на один поділ лімба, мм | ||
| Найбільше переміщення різцевих санчат (верхній супорт, складовий повзун), мм | 55 | |
| Кут повороту різцевих санчат, град | ±45° | |
| Межі поздовжніх робочих подач супорту, мм/про | 0,1..0,2 | |
| Межі кроків різьб метричних, що нарізаються, мм | 0,4..2,0 мм, 10 кроків | |
| Межі кроків різьблення дюймових, ниток на дюйм | 12..52, 18 кроків | |
| Задня бабка | ||
| Найбільше переміщення пінолі, мм | ||
| Електроустаткування | ||
| Номінальна напруга живлення, | 220 в 50 Гц | |
| Електродвигун постійного струму головного приводу, кВт | ||
| Габарити та маса верстата | ||
| Габарити верстата (довжина ширина висота), мм | 900 х 400 х 400 | |
| Маса верстата, кг | 54 |