metalinstryment.com
Довідник по металорізальних верстатів та пресовому обладнанні

ОЦ1И22 Верстат фрезерный вертикальний з ЧПУ і АСИ
Схеми, опис, характеристики

Верстат вертикально-фрезерный ОЦ1И22 з ЧПУ і АСИ







Відомості про виробника фрезерного верстата ОЦ1И22

Разработчик і производитель фрезерного верстата ОЦ1И22 - НИТИ Прогресс (Научно-исследовательский технологический институт) г. Ижевск, созданный в 1959 году.

Производство верстатів ОЦ1И22 прекращено в 90-х годах. Всего было выпущено 630 верстатів.






ОЦ1И22 Верстат фрезерный вертикальний з ЧПУ і АСИ (Обрабатывающий центр). Назначение, область применения

Обрабатывающий центр ОЦ1И22 предназначен для фрезерування, сверления, зенкерования, развертывания, растачивания і нарізання різьби в условиях мелкосерийного і серийного производств, а также в составе переналаживаемых автоматизированных лініях і механообрабатывающих комплексах.

Принцип роботи і особливості конструкції верстата

В процессе обробки одной детали обеспечивается автоматическая смена до 15 инструментов з одновременным изменением частоти обертання шпинделя.

Фрезерный верстат ОЦ1И22 должен експлуатироваться в сухих закрытых помещениях при температуре окружающего воздуха от + 1°С до + 35°С, относительной влажности от 30 до 80%, атмосферном давлении 0,101 + 0,003 мПа (760 + 25 мм рт. ст.) і при отсутствии в окружающей среде агрессивных примесей, токопроводящей і абразивной пыли.

Керування верстатом ОЦ1И22 осуществляется пристрійм числового программного керування (УЧПУ) моделі ЛУЧ-43М.

Программоноситель - перфолента по ГОСТ 10860-68. Верстат ОЦ1И22 оснащен наклонно-поворотным столом, позволяющим обрабатывать отверстия, расположенные под углом.

В станке использовано изобретение по а.с. № 645815 і по заявке № 2854197/28.

Верстат ОЦ1И22 является продуктом отраслевого станкостроения (Миноборонпром), которое в советское время по своим результатам часто превосходило успехи станкоинструментальной промышленности. Каждое отраслевое министерство готовило верстати «под себя» з различной степенью успешности, копируя как зарубежных станкостроителей, так і друг друга, но наиболее серьезных успехов в создании і производстве металлорежущих верстатів в 80-е – 90-е годы добились в Минавиапроме і Миноборонпроме. Верстат ОЦ1И (в прошлом – ОЦ «Ижевск») явился итогом ряда разработок НИТИ «Прогресс» і был доведен до серийного производства в начале 80-х годов. За годы серийного производства было выпущено более 630 верстатів, которые і сейчас на многих предприятиях бывшего Миноборонпрома є базовой частью парка верстатів фрезерно-сверлильной группы.

Для того, чтобы оценить технический уровень верстата, стоит вспомнить, как развивалось отечественное станкостроение (а именно, верстати з ЧПУ фрезерно – сверлильно-расточной группы) в то время?

Большая часть предприятий шла по пути создания верстатів типа «обрабатывающий центр» путем конструктивной доработки ранее выпускавшихся базовых верстатів: оснащения механізмами смены инструментов, УЧПУ, встройки ШВП. Так, например, на базе расточных верстатів созданы верстати з горизонтальным шпинделем типа 2204, 2205 (Одесса), 2623ПМФ4 і др. производства завода им. Свердлова, часть верстатів производства г. Иваново. Універсально-фрезерные верстати вертикальной консольной компоновки стали основой для создания верстатів типа ГФ2171 (Горьковский завод фрезерных верстатів). На базе вертикально-сверлильных верстатів возникли верстати типа СС2В (Стерлитамак). Даже в верстатах современного уровня типа 400V, 500V, 600V і другие, выпускаемых в Стерлитамаке, легко проследить их происхождение от вертикально-сверлильных верстатів, что ведет к определенным проблемам при фрезерной обработке.

В отличие от приведенных примеров, верстат ОЦ1И22 был создан без применения конструктивного заимствования технических решений универсальных верстатів. Технічні идеи, заложенные в нем, явились результатом тщательного подбора і изучения специалистами НИТИ «Прогресс» конструктивных решений і тенденций, отечественного і мирового станкостроения тех лет. Поетому і сейчас, через четверть века з начала его серийного производства, в станке удается выявить і реализовать конструктивные і технические резервы, позволяющие его осочасуть і подвести к техническому уровню сегодняшнего станкостроения.

Отметим основні конструктивные особливості верстата.

Компоновка. Верстат ОЦ1И22 имеет крестовый стол. В отличие от верстатів консольной компоновки, таких, как ГФ2171, СВМ1 (бывш. Ворошиловград), такая компоновка увеличивает жесткость і грузоподъемность верстата, а, например, в отличие от верстатів з переміщенням шпинделя в двух координатах (ФП-7, ФП-17 – САВМА) – сокращает массу верстата. Следует также выделить соотношение длины і ширины стола (1250 х 400 мм), в результате чего на столе нашлось место поворотному устройству і задньої бабке.

Направляющие верстата выполнены в виде накладных цементированных планок високою твердости, з которыми сопрягаются роликовые опори качения (на крестовом столе в горизонтальных плоскостях) либо чугунные поверхности подвижных базовых деталей. Такое сочетание позволяет использовать верстат как в режиме легкой і точной обробки, так і при тяжелой обработке, требующей високою жесткости.

Механізми смены инструмента выполнены по схеме з промежуточным гнездом, что позволяет исключить из часу смены инструмента время его выбора в магазине і извлечения из магазина, обеспечить возможность возврата инструмента в то же гнездо магазина, из которого он был извлечен. Емкость магазина – 15 инструментов.

Поворотное пристрій з задньої бабкой позволило резко расширить область применения верстата за счет возможности обробки спиральных пазов, наклонных поверхностей, других видов обробки под различными углами. Для часу создания верстата верстати з силовым координатным поворотным пристрійм были редкостью. Сейчас варіанти верстатів з поворотным пристрійм имеются у многих станкостроительных предприятий, но цены на них весьма значительны.

Датчик вылета инструмента (0Z): для часу создания верстата являлся его уникальным отличием, позволяющим резко сократить время і трудоемкость подготовки инструмента і при етом повысить точность обробки.

Выгодным преимуществом верстата также является отсутствие гідрооборудования (вспомогательные механізмы работают от пневматики), что избавляет от утечек масла і улучшает состояние робочого места.

Таким образом, технический уровень верстата ОЦ1И22, заложенный при его создании, обеспечил возможность его соответствия современности в течение многих лет.

В процессе серийного выпуска в конструкцию верстата постоянно вносились усовершенствования. Безусловным шагом вперед оказались понаступні моделі верстатів, разработанные НИТИ «Прогресс» і явившиеся развитием верстата ОЦ1И. Это верстат ОЦ2И, предназначенный для роботи в безлюдном производстве, обеспечивающий автоматическую смену деталей, мойку деталей, удаление стружки, при обслуживании автоматическим транспортным средством – смену инструментальных магазинов і др. Верстат ОЦ1И32 (разработана гамма моделей), который, имея технологическое назначение идентичное ОЦ1И22, благодаря новой конструктивной базе выгодно отличался по своим техническим характеристикам, имел направляющие качения кругом, безредукторные привода, механізмы смены инструментов под стандартную оправку. К сожалению, в связи з общеекономическим кризисом, выпуск верстатів указанных моделей ограничился несколькими единицами.




Посадочные і присоединительные розміри верстата ОЦ1И22

Посадочные і присоединительные розміри і конец шпинделя ОЦ1И22

Посадочные і присоединительные розміри і конец шпинделя ОЦ1И22

Посадочные і присоединительные розміри і конец шпинделя ОЦ1И22. Скачать в увеличенном масштабе



ОЦ1И22 Загальний вигляд вертикального фрезерного верстата з ЧПУ і АСИ

Фото обрабатывающего центра ОЦ1И22

Фото обрабатывающего центра ОЦ1И22

Фото обрабатывающего центра ОЦ1И22. Скачать в увеличенном масштабе



Фото обрабатывающего центра ОЦ1И22

Фото обрабатывающего центра ОЦ1И22

Фото обрабатывающего центра ОЦ1И22. Скачать в увеличенном масштабе



Фото обрабатывающего центра ОЦ1И22

Фото обрабатывающего центра ОЦ1И22

Фото обрабатывающего центра ОЦ1И22. Скачать в увеличенном масштабе



Фото обрабатывающего центра ОЦ1И22

Фото обрабатывающего центра ОЦ1И22

Фото обрабатывающего центра ОЦ1И22. Скачать в увеличенном масштабе



Фото обрабатывающего центра ОЦ1И22

Фото обрабатывающего центра ОЦ1И22 модернізованого в Іжпрест ООО



Фото обрабатывающего центра ОЦ1И22

Фото обрабатывающего центра ОЦ1И22 модернізованого в Іжпрест ООО

Фото обрабатывающего центра ОЦ1И22. Скачать в увеличенном масштабе



Фото обрабатывающего центра ОЦ1И22

Фото обрабатывающего центра ОЦ1И22 модернізованого в Іжпрест ООО

Фото обрабатывающего центра ОЦ1И22. Скачать в увеличенном масштабе



Фото обрабатывающего центра ОЦ1И22

Фото обрабатывающего центра ОЦ1И22 модернізованого в Іжпрест ООО

Фото обрабатывающего центра ОЦ1И22. Скачать в увеличенном масштабе



Фото обрабатывающего центра ОЦ1И22

Фото обрабатывающего центра ОЦ1И22 модернізованого в Іжпрест ООО






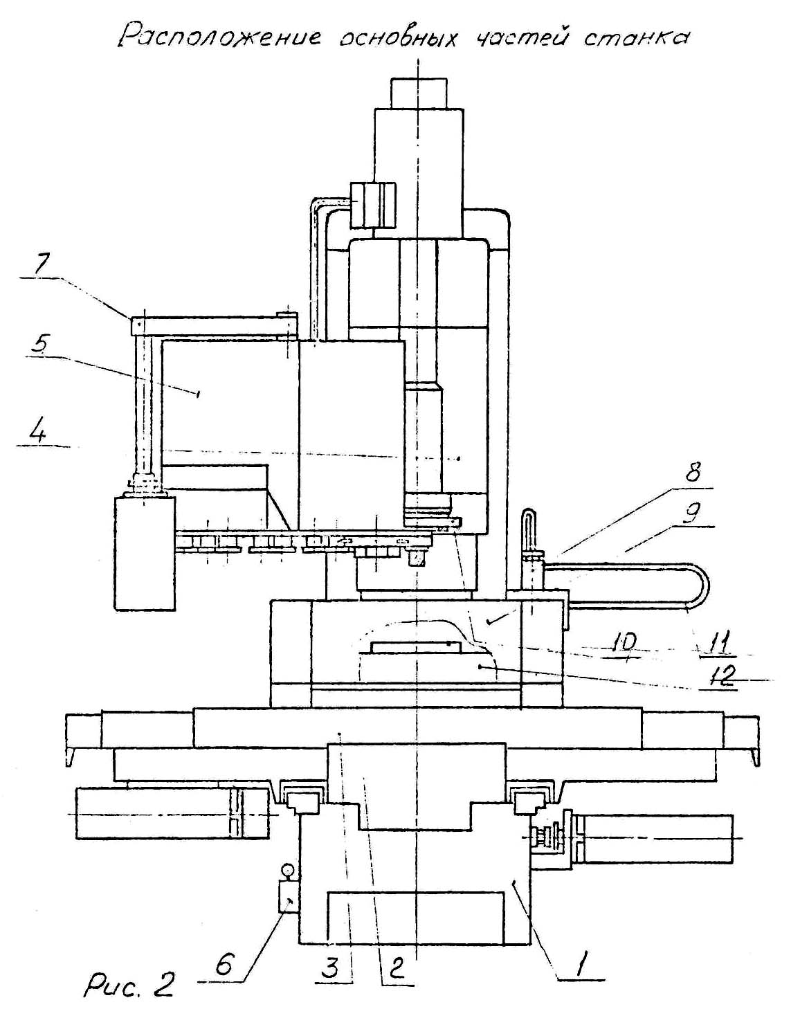
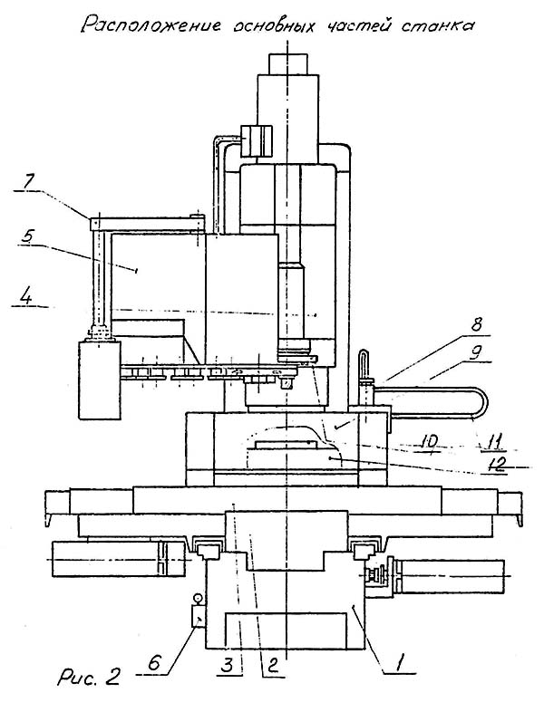
Розташування складових частин фрезерного верстата ОЦ1И22

ОЦ1И22.с5 Розташування складових частин фрезерного верстата з ЧПУ і АСИ

Розташування складових частин фрезерного верстата ОЦ1И22

Розташування складових частин фрезерного верстата ОЦ1И22. Скачать в увеличенном масштабе



Специфікація складових частин фрезерного верстата ОЦ1И22

  1. Основание - 0.024-071.10.000
  2. Стойка - 0.024-071.20.000
  3. Стол крестовый - 0.024-071.30.000
  4. Головка фрезерна - 0.024-071.40.000
  5. Механізм автоматичною сиены инструмента - 0.024-071.50.000
  6. Пневмообладнання - 0.024-071.60.000
  7. Електроустаткування верстата - 0.024-071.90.000
  8. Механізм поворота датчика "Нуль Z" - 0.024-064.70.000
  9. Щиток - 0.024-025.30.000
  10. Охлаждение - 0.024-025.60.000
  11. Ограждение - 0.024-025.70.000
  12. Стол наклонно-поворотный - О.АДХ.024-081.11.000

Список органів керування фрезерным верстатом ОЦ1И22

  1. Пульт керування верстатом
  2. Пульт керування електрошафи
  3. Пульт керування УЧПУ
  4. Пульт керування наклонно-поворотным столом



Кінематична схема фрезерного верстата ОЦ1И22

Кінематична схема ОЦ1И22 cтанок вертикальний фрезерный

Кінематична схема фрезерного верстата з ЧПУ ОЦ1И22

Кінематична схема фрезерного верстата з ЧПУ ОЦ1И22. Скачать в увеличенном масштабе



Схемa принципова кінематична

Кінематична схема верстата состоит из кинематических ланцюгів окремих его механізмов, номера позиций кинематических елементів которых указаны на рис.3, а перечень кинематических елементів в табл. 4


Опис конструкції основних вузлів верстата

Основание

Чугунное основа (рис.4) сверху имеет стальные закаленные направляющие 1, 2 і 3. По направляющим 1 і 3 на роликовых опорах качения перемещаются салазки крестового стола, а направляющая 2 (направляющая ковзання) служит для сообщения салазками направления при перемещении.

К верхней плоскости основания крепится редуктор 4 з шариковой винтовой передачей приводу поперечної подачі стола і стойка верстата.

В задньої нише основания размещается пневмообладнання, а в левой - система змазки крестового стола.

Внутреннее пространство основания служит резервуаром для охлаждающей жидкости, уровень которой определяется по маслоуказателю 5.

С правой стороны основания под крышкой 6 установлен електронасос для подачі охлаждающей жидкости, короб 7 для сбора стружки і пристрій подготовки воздуха 8.

Стойка

Чугунная стойка (рис.5) служит для установки фрезерной головки, которая перемещается по вертикальным направляющим I.

К верхней плоскости стойки закреплен редуктор 2 приводу вертикальной подачі фрезерной головки, выходным звеном которого является винт 3 шариковой винтовой передачи, гайки которой посредством кронштейна 4 закреплены на корпусе фрезерной головки.

К верхней плоскости стойки закреплен кронштейн 5 з расположенными в нем осями 6 со звездочками 7. С помощью ланцюгів 8 противовес 9 уравновешивает фрезерную головку.

Для ограничения ходу фрезерной головки в крайних положениях служат конечные выключателя 10, 11 і кулачки, закрепленные на головке фрезерной.

Для контроля отсутствия инструмента в шпинделе установлен конечный выключатель 17.

Жестким упором для фрезерной головки в верхнем положении является упор 14, а в нижнем - прилив 12.

В задньої нише стойки размещается електрообладнання.

Датчик вертикального переміщення фрезерной головки

Датчик служит для измерения величины вертикального переміщення фрезерной головки при работе верстата от УЧПУ. Он расположен г передньої нише стойки.

Датчик состоит из линейки і головки, которые установлены относительно друг друга з зазором.

Головка 13 датчика (см.рис.5) посредством кронштейна 15 закреплена на корпусе фрезерной головки і вместе з ней перемещается, а линейка 16 датчика закреплена на стойке.

Усилитель 37 датчика закреплен на корпусе фрезерной головки (рис. 8).

Редуктор приводу вертикальной подачі фрезерной головки

От електродвигуна 1 (рис.6) через предохранительную муфту 2 две пары зубчатых передач вращение передається выходному валу 2, в котором закрепляется винт шариковой винтовой передачи. Вал 2 установлен в двух радиальных підшипниках 3, а осевые зусилля воспринимаются упорными підшипниками 4, регулювання натяга в которых производится прокладкой 5.

Регулювання крутящего момента на предохранительной муфте производится гвинтами 6.

Для ручного поворота служит втулка 7. На указателе 8 имеется риска, которая в сочетании з риской на корпусе редуктора позволяет определять величину люфта привода.

Передача шариковая винтовая приводу вертикальной подачі фрезерной головки

Шариковая винтовая передача (рис, 7) состоит из гвинта I і гаек 2, установленных в кронштейне 3. Регулювання натяга производится прокладкой 4.

Шариковая винтовая передача защищена кожухом 6.




Головка фрезерна

Фрезерная головка обеспечивает вращение шпинделя з заданной частотой.

Вращение от електродвигуна к шпинделю може передаваться через ременную передачу - при частоте обертання шпинделя 1250..2500 об/мин или через зубчасті передачи - при частоте обертання шпинделя 20..800 об/мин.

Для натяжения ремней применяется, натяжной шкив I (см.рис. 8).

При использовании ременной передачи кулачковая муфта, состоящая из деталей 2 і 3 находится во включенном положении; а блок зубчатых колес 4 находится в нейтральном положении.

Переключення муфты производится пневмоцилиндром 5, шток которого перемещает вилку 6, крайние положения которой определяются лепестком 7 і конечными выключателями 8 і 9.

Блок зубчатых колес 4 имеет три положения: верхнее і нижнее - при частоте обертання шпинделя 20..900 об/мин і среднее – при частоте обертання шпинделя 1250..2500 об/мин.

Переключення блока зубчатых колес 4 производится посредством вилки 10, аналогично переключению муфты.

Вилка 10 имеет три положения - верхнее, среднее і нижнее, которые определяются конечными выключателями 11, 12, 13 і лепестком 14.

На верхней плоскости фрезерной головки установлен многосекционный пневмоцилиндр 15, который совестно з механізмом зажиму инструмента, расположенным в шпинделе верстата, служит для разжима инструмента в шпинделе.

Механізм зажиму і разжима инструмента

Механізм зажиму і разжима инструмента (рис.9 ) служит для зажиму і разжима инструмента в шпинделе верстата і состоит из многосекционного пневмоцилиндра I і механізма зажиму 2.

В верхнем положении головки фрезерной шток 3 многосекционного пневмоцилиндра нажимает на стакан 4. При етом снимается пакет 5 из 30 тарельчатых пружин і вал 6 вместе з кулачками 7 перемещается вниз. Когда кулачки переместятся в нижнюю часть втулки 8, они под действием пружины 9 сближаются, а вал 6, опускаясь ниже, сдвигает оправку 10 з инструментом относительно шпинделя. В етом положении оправка з инструментом може быть изъята из шпинделя верстата. При етом размер "А"от торца шпинделя до торца вала 6 должен быть 133,1 ± 0,1 мм. Регулювання размера "А" осуществляется з помощью болта II.

Для зажиму оправки в шпинделе переключается многосекционный пневмоцилиндр I. При етом пакет тарельчатых пружин разжимается і перемещает вал 6 вверх, а післядний з помощью кулачков 7 зажимает оправку з инструментом в шпинделе верстата.

Стол крестовый

Стол перемещается в двух взаимноперпендикулярных направлениях: по направляющим салазок в продольном направлении і вместе з салазками по направляющим основания в поперечном направлении.

Салазки I (рис.10) перемещаются на роликовых опорах качения 2 во стальным закаленным направляющим 3 основания. Перемещение салазок осуществляется приводом поперечної подачі стола, расположенным з правой стороны основания і состоящим из електродвигуна 4 редуктора 5 і шариковой винтовой передачи 6, винт которой посредством кронштейнов 7 і 8 закреплен на салазках.

Для ограничения поперечного переміщення стола в крайних положениях служат два конечных выключателя 9 і кулачки 10.

Стол имеет пристрій для автоматичного возврата в нулевое положение в поперечном направлении, состоящее из индикатора нуля II і кулачка 12.

Захист поперечных направляючих от грязи, стружки і механических повреждений осуществляется телескопическими щитками 13, 14 і щитками 15 і 16.

Стол 17 перемещается на роликовых опорах качения 18 по стальным закаленным направляющим 19 салазок. Перемещение стола осуществляется приводом поздовжньої подачі стола, расположенным з левой стороны салазок і состоящим из електродвигуна 20, редуктора 21, зубчатых колес 22, 23 і 24, шариковой винтовой передачи 25, винт 26 которой закреплен на столе.

Для ограничения продольного переміщення стола в крайних положениях служат два конечных выключателя 27 і кулачки 28.

Стол имеет пристрій для автоматичного возврата в нулевое положение в продольном направлении, состоящее из индикатора нуля 29 і кулачка 30.

Захист продольных направлявших от грязи, стружки і механических повреждений осуществляется телескопическими щитками 31.

Для ручного переміщення стола служат: в поперечном направлении вал 32, в продольном - вал 33.

Датчик поперечного переміщення стола

Датчик предназначен для измерения величины поперечного переміщення стола при работе верстата от УЧПУ. Датчик аналогичен датчику вертикального переміщення фрезерной головки.

Линейка 34 датчика (см.рис.10) посредством кронштейнов 35 і 36 закреплена на салазках і вместе з ними перемещается. Головка 37 датчика і усилитель 38 датчика закреплены на основании.

Датчик продольного переміщення стола

Датчик предназначен для измерения величины продольного переміщення стола при работе верстата от УЧПУ. Датчик аналогичен датчику вертикального переміщення фрезерной головки.

Линейка 39 датчика (см.рис.10) посредством планки 40 закреплен на столе і вместе з ним перемещается. Головка 41 датчика і усилитель 42 датчика закреплены на салазках.

Датчик от механических повреждений, грязи, стружки і охлаждающей жидкости защищен кожухом 43.

Редуктор приводу поперечної подачі стола

От вала I (рис.11) через зубчасті колеса 2 і 3 вращение передається стакану 4, в который устанавливаются гайки шариковой винтовой передачи. Вал I соединен з електродвигуном 4 (см.рис.10) валом 44.

Редуктор приводу поздовжньої подачі стола

Редуктор (рис.12) имеет зубчасті колеса I і 2, которые передаст вращение от електродвигуна 20 (см.рис.10) к шариковой винтовой передаче. Указатель 3 (см.рис.12) совместно з валом 4 служит для определения люфта приводу поздовжньої подачі стола.




Датчик "Нуль Z"

Датчик (рис.13) предназначен для автоматичною установки инструмента по высоте в размер 400 ± 0,01 мм от поверхности стола.

При перемещении штока I стержень 2 смещает якорь 3 относительно катушки 4. В нулевом положении подается сигнал на УЧПУ.

Для уменьшения скорости переміщення штока при подходе в нулевое положение служит микропереключатель 5.

В аварийной ситуации шток I посредством микропереключателя 6 отключает верстат.

Механізм поворота датчика "Нуль Z"

Для установки датчика "Нуль Z" в зону измерения і відведення его в исходное положение служит механізм поворота датчика "Нуль Z " (рис.14).

Вращение от електродвигуна I через зубчасті колеса 2 і 3, предохранительную муфту 4, червячную передачу 5 і вал 6 передається кронштейну 7, несущему датчик "Нуль Z " 8.

Ограничение ходу кронштейна 7 в крайних положениях осуществляется микропереключателями 9, 10 і кулачками 11, 12. Для предохранения от ударов кронштейна 7 об упоры в кінці ходу имеется кинематичное замыкание, осуществляемое кулачками 13 і 14.

Механізм автоматичною смены инструмента

Механізм автоматичною смены инструмента состоит из двух вузлів:

Магазин инструментов

Магазин предназначен для розміщення инструментальных оправок, устанавливаемых в спутники I (рис.16) і передачи их в промежуточное гнездо руки.

Оправки удерживаются в спутниках шариками 2.

Магазин имеет 15 гнезд для розміщення спутников з инструментальными оправками.

Вращение от електродвигуна 3 через предохранительную шариковую муфту, четыре пары зубчатых передач, мальтийский механізм 4, зубчатую передачу 5, передається валу 6, на котором закреплен диск магазина 7 і кодовый диск 8.

Выбор необходимого положения магазина производится посредством кодового диска 8 і микровыключателей 9.

Фиксация магазина осуществляется мальтийским механізмом 4.

Для ручного поворота магазина служит вал 10.

Передача инструментальных оправок из магазина в приемное гнезда руки производится захватом II, перемещающимся от пневмооператора 12.




Рука механізма автоматичною смены инструмента

Механізм руки предназначен для передачи инструмента из приемного гнезда руки в шпиндель і обратно.

Рычаг I (рис.17) на обоих концах имеет захваты, в которых оправки з инструментом удерживаются защелкой 2, блокируемой стержнем 3 і замком 4.

Привід руки аналогичен приводу магазина инструментов.

Поворот рычага I контролируется кодовым барабаном 5 і микровыключателями 6.

Для ручного поворота служит вал 7.

Верхнее і нижнее положения руки определяются конечными выключателями 8, 9 і кулачками 10, 11.

Стол наклонно-поворотный

Стол наклонно-поворотный (рис.18) состоит из корпуса I, в котором собраны все основні вузли, і двух стоек; к левой стойке 2 на кронштейнах 3, 4 крепится пульт керування 5 і вузли електроПневмоОборудования.

Oт електродвигуна 6 вращение передається через муфту 7 і спироидную передачу 8, 9 на планшайбу 10, вращающейся в комбинированном подшипнике II. Комбинированный подшипник II жестко крепится в корпусе I. Кінець оси 12 планшайби 10 вращается в подшипнике 13, установленном в корпусе I.

Через корпус 1 проходит вал 14, цапфы которого лежат во втулках левой стойки 2 і правой стойки 15. Настановний, наклон корпуса стола з планшайбой 10 производят вращением квадрата спироидного червяка 16 через спироидное колесо 17, закрепленное муфтой 18 на валу 14. После установки планшайби 10 на необходимый угол зажимают винты 19 і гайку 20.

Начало координат контролируется лампочкой 21 на пульті керування 5, которая загорается при срабатывании датчика нуля 22 от упора 23.

Датчик нуля 22 имеет два конечных выключателя: один дает команду на замедление обертання планшайби; другой - обеспечивает его точную остановку в начале координат при автоматичною установці в нуль. При етом нуль на лимбе 24 должен находиться против риски на планке 25. Очередность выдачи команд осуществляет упор 23 при вращении планшайби в любом направлении.

Величина поворота планшайби контролируется индуктивным датчиком круговых перемещений, состоящим их ротора 26 я статора 27.

Поворот планшайби 10 вручную осуществляется вращением муфты 7 или маховичком 28 пульта 5.

Зажим планшайби 10 при позиционной схеме обробки деталей осуществляется пневмоцилиндром 29 через рычаг 30, который зажимает вращающийся вместе з планшайбой диск 31.

Контроль зажиму планшайби осуществляется двумя бесконтактными включателями от лепестков 32, закрепленных на рычаге 29.




Пневмообладнання

Пневмообладнання (рис.19) обеспечивает работу пневмоцилиндров (оператора магазина, руки, блокировки, разжима инструмента, переключения блоков зубчатых колес головки фрезерной і зажиму планшайби стола наклонно-поворотного.

Принципиальная пневматическая схема представлена на рис.20, а перечень елементів - в табл.5.

Воздух через кран I (поз.А1), фильтр-влагоотделитель 4 (поз.ВД) маслораспылитель 5 (поз.МР), распределительную плиту і пневмораспределители 9-15 (поз.Р1, Р2 і Р3) поступает в пневмоциліндри 16-21 (поз.Ц1-Ц6).

Давление воздуха регулируется клапаном 6 (поз.КР) і контролируется манометром 2 і 3 (поз.МН).

Падение давления воздуха в пневмосети контролируется реле давления 8 (поз.РД).

Для сбора масла предусмотрен маслоотделитель 7 (поз.A3).

Для осуществления периодической подачі змазки на направляющие крестового стола служит пневмораспределитель 9 (поз.Р3).

Позиции, указанные в скобках, см.рис.20.

Система охлаждения

Система охлаждения обеспечивает подачу охлаждающей жидкости в зону різання.

В резервуар основания заливается охлаждающая жидкость, уровень которой определяется по указателю I (рис.21).

Подача жидкости в зону різання производится насосом 2. Жидкость по трубке 3 поступает к крану 4 і далее по трубке 5 к датчику контроля подачі СОЕ б. От датчика по трубке 7 жидкость подается к коллектору 8, из которого - к выходным соплам 9.

Регулювання количества жидкости производится краном 4.

Слив жидкости производится через шланг 10 в резервуар.

Насос включается і выключается по программе или вручную тумблером на пульті керування.

Для контроля подачі COЖ установлен датчик 6, который в случае отсутствия охлаждающей жидкости во время різання дает команду на відключення верстата.

Система змазки

В таблицах 6 і 8 указаны перечень елементів системы змазки і перечень точок змазки.

Схема змазки принципова показана на рис.22.





ОЦ1И22 Верстат фрезерный вертикальний з ЧПУ і АСИ. Відеоролик.




Основні технические данные і характеристики верстата ОЦ1И22

Наименование параметра ГФ2171с5 ОЦ1И22
Основні параметри
Класс точності по ГОСТ 8-82 Н Н
Модель пристроя ЧПУ 2С45-65 Луч-43
Количество управляемых координат, всего/ одновременно 3/2 4/3
Наименьшее і наибольшее расстояние от торца шпинделя до стола, мм 250..500 400
Наименьшее і наибольшее расстояние от торца шпинделя до планшайби, мм - 0..372
Расстояние от оси шпинделя до вертикальних направляючих станины (вылет), мм 500
Предельные розміри обрабатываемых поверхности (длина х ширина х высота), мм 850 х 250 х 380
Максимальная нагрузка на стол (по центру), кг 400
Рабочий стол
Розміри рабочей поверхности стола (длина х ширина), мм 1600 х 400 1250 х 400
Число Т-образных пазов Розміри Т-образных пазов 3 3
Наибольшее продольное перемещение стола (X), мм 1010 ±600
Наибольшее поперечное перемещение стола (Y), мм 400 ±200
Наибольшее вертикальное перемещение стола (установочное) (Z), мм 250 -
Предел рабочих подач стола і ползуна, мм/мин 3..6000 0..4800
Скорость быстрых перемещений стола (X, Y) / ползуна (Z), мм/мин 7000 4800
Допустимое усилие подачі по координате X і Y, Н 15690
Допустимое усилие подачі по координате Z, Н 9806
Точность позиционирования на длине 300, мм 0,015 0,020
Стол наклонно-поворотный
Диаметр планшайби наклонно-поворотного стола, мм - Ø 320
Высота наклонно-поворотного стола, мм - 205
Наибольшие продольные / поперечные программируемые переміщення стола относительно оси шпинделя, мм - ±600 /±200 /
Наибольшие круговые программируемые переміщення стола относительно оси шпинделя, мм - ±360°
Наибольший диаметр обрабатываемого вироби, мм - Ø 200
Наибольший угол наклона планшайби, мм - 90°
Шпиндель
Наибольшее перемещение ползуна з фрезерным шпинделем (Z), мм 260 300
Частота обертання шпинделя, об/мин (число ступеней) 50..2500 (12) 31,5..2500 (12)
Количество швидкостей шпинделя 18 12
Наибольший крутящий момент, кНм 0,615
Коеффициент ряда выходных частот обертання шпинделя 1,26
Ескіз кінця шпинделя по ГОСТ 24644-81 7:24 50 50
Магазин инструмента
Емкость магазина инструмента 12 15
Время смены инструмента от реза до реза, с 20 27
Максимальный диаметр фрезы торцовой, мм 125
Максимальный диаметр фрезы кінцівой, мм 40
Максимальный диаметр сверления, мм 30 30
Максимальный вес инструмента, кг 15
Вылет инструмента от торца шпинделя, мм, не более 250 200
Електроустаткування і привод
Електродвигун приводу головного руху, кВт (об/мин) 7,5 (1450) 14 (3000)
Электродвигатели приводу подач HG-112B, HG-112C (оси X, Y), Нм 17
Электродвигатели приводу подач ползуна HG-112C (ось Z), Нм 23
Электродвигатели приводу подач ползуна (ось Z), кВт 1,1 х 3 (500)
Електродвигун наладочного переміщення консоли, кВт (об/мин) 2,2 (1450)
Електродвигун гідростанції, кВт (об/мин) 2,2 (1450)
Електродвигун насоса змазки, кВт (об/мин) 0,27 (1500)
Электронасос охлаждающей жидкости Мощность, кВт 0,12 (2800) 0,12 (2800)
Производительность насоса СОЖ, л/мин 8
Тип гідростанції 5АГ48-22Н
Габарити і масса верстата
3680 х 4170 х 3150 4770 х 2300 х 3000
Масса верстата, кг 6580 5800

    Список литературы:

  1. Центр обрабатывающий ОЦ1И22. Руководство по експлуатации 0.АДХ.024-081.00.000 РЭ часть 1..4, 1983

  2. Грачев Л.Н. Конструкція і наладка верстатів з программным керуванням і роботизированных комплексов, 1986
  3. Панов Ф.С. Работа на верстатах з ЧПУ, 1984
  4. ГОСТ Р 50369—92. Электроприводы. Термины і определения, 1993. — 16 с.
  5. Завгороднев П.И. Работа оператора на верстатах з программным керуванням, 1981. — 136 с.
  6. Косовский В.Л. і др. Программное керування верстатами і промышленными роботами 1989
  7. Программное керування верстатами і промышленными роботами : учебник / [В.Л.Косовский, Ю.Г.Козырев, А.Н.Ковшов і др.], 1989. — 272 с.
  8. Сергиевский Л.В. Пособие наладчика верстатів з ЧПУ / Л. В. Сергиевский, В.В.Русланов, 1991. — 176 с.
  9. Соломенцев Ю.Н. Керування гибкими производственными системами / Ю. Н. Соломенцев, В.Л.Сосонкин, 1988. — 552 с.
  10. Сосонкин В.Л. Микропроцессорные системы числового программного керування верстатами / В.Л. Сосонкин, 1985. — 288 с.
  11. Черпаков Б.И. Металлорежущие верстати : Учебник для нач. проф. образования / Б. И. Черпаков, Т. А. Альперович, 2004. — 368 с.
  12. Числовое программное керування верстатами / [В.Л. Сосонкин, О. П. Михайлев, Ю. А Павлов і др.]; под ред. В. Л. Сосонкина, 1981. — 398 с.