metalinstryment.com
Довідник по металорізальних верстатів та пресовому обладнанні

Н-475 Ножницы гильотинные для листового металла з наклонным ножом общего назначения
Схеми, опис, характеристики

Н-475 Ножницы кривошипные листовые (гильотинные) з наклонным ножом для обробки листового металла



Прессы механические, прессы гідравлические, верстати поперечно-строгальные

Відомості про виробника ножниц Н-475

Изготовителем ножниц Н-475 является Львовский машиностроительный завод.

В настоящее время производит ПАО «Кувандыкский завод КПО «Долина» Оренбургская обл., г. Кувандык






Н-475 Ножницы гильотинные листовые з наклонным ножом. Назначение і область применения

Ножницы кривошипные листовые Н-475 з наклонным ножом для резки листа толщиной не свыше 6,3 мм і шириной до 2000 мм предназначены для листового материала з при σвр 50 кг/мм 2вр = 500 МПа).

Поперечная резка листа производится за один ход ножа по разметке или з помощью заднего упора.

Продольная резка — при длине реза более 2000 мм — производится рядом повторных резов при продвижении листа вдоль линии реза.

Ножницы могут быть использованы на складах і цехах различных предприятий при температуре окружающей среды -20°С ... +40°С, где требуется резка листовой стали.

При резке стали з пределом прочности больше или меньше 50 кг/мм 2 для расчета максимальной толщины реза необходимо пользоваться формулой, указанной в разделе «Регулювання ножниц». При етом твердость разрезаемого листа не должна превышать 35 единиц Роквелла по шкале «С».

Привід гильотинных ножниц Н475 осуществляется от електродвигуна через клиноременную передачу. Ножевая балка гильотины получает возвратно-поступательное рух от коленчатого вала через шатуны. Уравновешена ножевая балка пружинным уравновешивателем.

Усилие на ножевую балку от коленчатого вала передається двумя шатунами. Муфта увімкнення ножниц з двумя поворотными шпонками, тормоз ленточный, периодического дії. Периодичность торможения достигается за счет ексцентричного розположення шкива по отношению к оси коленчатого вала. Это торможение происходит тогда, когда ножевая балка находится в верхнем положении, чем устраняется її забегание под действием сил инерции.

Разрезаемый материал прижимается к столу ножниц прижимной балкой, рух которой согласовано з движением ножевой балки.

Механические ножницы Н 475 снабжены задним упором. Для безопасной роботи на ножницах предусмотрена защитная решетка.

Гильотинные ножницы Н-475 могут работать на одиночных і автоматических ходух. Керування кнопкове з пульта керування і от ножной педали.

Ножницы изготовляются з основними параметрами по ГОСТ 6282—64


Ножницы кривошипные листовые з наклонным ножом для обробки листового металла

Синонимы: ножницы гильотинные, ножницы листовые, ножницы механические, ножницы кривошипные, ножницы гідравлические, shears for sheet metal working, guillotine shears, crank shears.

Гильотинные ножницы - ножницы з наклонным ножом предназначены для прямолинейной поздовжньої і поперечної резки листового металла. На гильотинных ножницах може производиться резка листов, как по разметке, так і без нее - по заднему или боковому упорам.

В зависимости от типа приводу верхнего ножа гильотинные ножницы бывают:

Гідравлические гильотинные ножницы є наиболее мощными, длина реза у них достигает 8 і более метров, толщина разрезаемого материала - до 60 миллиметров.

Гильотинные ножницы з механическим приводом во многом схожи з гідравлическими ножницами, основным отличием является система привода: оба руху лезвия (и вверх і вниз) обеспечиваются кривошипным механізмом.

Ножницы з механическим приводом не обладают високою мощностью і применяются для резки материалов максимальной толщиной 3 - 8мм. Однако скорость реза у етого класса гильотин достаточно высока – до 56 резов в минуту (для сравнения, у гідравлических ножниц количество резов варьируется от 3 до 18 в минуту).

Гильотинные ножницы различают, также, по конструкції приводу верхнего ножа:

У гильотинных ножниц з прямым ходом верхнее лезвие закреплено на раме, которая за счет кривошипа или 2-х гідроцилиндров перемещается вниз по прямым направляющим, расположенным на внутренней поверхности боковых стенок машины.

У гильотинных ножниц з поворотной балкой перемещение верхнего ножа происходит за счет обертання балки вокруг центров, находящихся на боковых стенках в задньої частини верстата. Поскольку система приводу поворотной балки находится внутри корпуса машины - ножницы з поворотной балкой более компактные.

При относительно низкой стоимости ножниц з поворотной балкой, компактности і простоте их исполнения, у них все же имеется определенный недостаток: угол резки не изменяется, оставаясь равным установленному производителем, вне зависимости, режутся ли толстые или тонкие листы.





Загальний вигляд гильотинных ножниц Н-475

Н-475 Габарит робочого простору і креслення общего вида ножниц


Фото гильотинных ножниц Н-475

Н 475 фото гильотинных ножниц

Н 475 фото гильотинных ножниц


Кінематична схема ножниц Н-475

Н475 кинематика ножниц гильотинных


Конструкція гильотинных ножниц Н-475

Листовые ножницы состоят из станины, приводу і валов, шпоночной муфты увімкнення, тормоза, ножевой балки і прижима, керування, заднего упора.

Станина гильотинных ножниц Н-475

Станина из листовой стали - сварная. В передньої її частини укреплен болтами стол, на котором установлены удлинители з Т-образными пазами, служащими (в случае необходимости) для удлинения стола. Угольник: 2 служат для упора разрезаемого листа.

Стол для регулировки зазору между ножами можно перемещать болтами, предварительно отпустив зажимные болты, которые після регулировки требуется снова затянуть. При поздовжньої резке направляющий угольник снимается.


Привід кривошипных ножниц Н-475

Н475 Привід кривошипных механических ножниц Н-475

Привід і валы кривошипных ножниц Н-475

Електродвигун передает вращательное рух через четыре клиновых ремня на маховик через зубчасті колеса на коленчатый вал. Промежуточный вал вращается в конических підшипниках. Коленчатый вал вращается в підшипниках ковзання.


Муфта увімкнення кривошипных ножниц Н-475

Н475 Муфта увімкнення кривошипных ножниц

Муфта увімкнення

На левом кінці коленчатого вала в ступице зубчатого колеса установлена шпоночная муфта увімкнення. Втулки 1, 2, і 3 нерухомо посажены в ступице зубчатого колеса. Остальные детали соединены з валом. Поворотные (рабочая і запорная) шпонки муфты увімкнення включаются пружинами 7 и, поворачиваясь, захватываются полукруглыми пазами втулки 2. Втулки 9 і 10, имеющие полукруглые пазы, дополняют гнезда для круглых концов шпонки.

Правый конец рабочей шпонки снабжен легкосъемным языком 4, который, ударяясь об один из пальцев 2 или 3 (см. рис. 8), отключает шпонки, соединенные между собой рычагами 5 і 6 (рис. 5).

При включении і выключении шпонок угол поворота післядних ограничивается пазом ведущей втулки 8.

Тормоз

На правом кінці коленчатого вала насажен тормоз периодического дії. Периодичность торможения осуществляется за счет ексцентрического розположення шкива 2 (рис. 6) по отношению к оси коленчатого вала 1. Это торможение происходит тогда, когда ножевая балка находятся в верхнем положении, чем устраняется її забегание под действием инерции. Ножевая балка і прижим. Усилие от коленчатого вала передається на ножевую балку 1 (рис. 7) посредством двух шатунов 3. Прижимается разрезаемый материал балкой прижима 2, которая работает автоматически і согласованно з движением ножевой балки.

Усилие нажатия прижима регулируется пружинами 4, вмонтированными в стаканы на прижимной балке.


Схема керування кривошипными ножницами Н-475

Н475 Схема керування кривошипными ножницами

Керування ножницами

Для получения одиночных резов після подачі листов при включенном електродвигателе нажимается расположенная по всему фронту ножниц педаль 1 (рис. 8), которая, нажимая на конечный двигатель, замыкает ланцюг електромагнита і вытянутый якорь післяднего поворачивает вилку з пальцами 2 і 3, освобождая зацепляющийся з ними язычок 4, связанный з рабочей поворотной шпонкой. После етого под действием пружин 7 (см. рис. 5) шпонки поворачиваются і включают коленчатый вал. Происходит одиночный рез.

Для получения реза достаточно нажать педаль на одно мгновение, но і при длительной задержке педали повторного реза не произойдет, так как язычок 4 (рис. 8) будет задержан пальцем 2, который при нажатии педали становится на место пальца 3.

Для получения повторного реза вначале нужно отпустить педаль і нажать її снова. Для получения непрерывных резов пальцы необходимо вывести из зацепления з язычком 4, укоротив тягу 6 з помощью легко перестанавливающегося гвинта 7, і переключатель керування 5 установить против таблички "Непрерывные резы". В таком положении ножницы остаются до тех пор, пока не потребуется осуществить одиночные резы.

Задний упор

Задний упор состоит из двух цилиндрических реек 1 (рис. 9), на которых вращением маховика 2 передвигаются кронштейны 3.

Передвигая кронштейны по конусу 4, устанавливают упорную линию 5 на необходимое расстояние от кромки ножа, чем достигается мерная резка з помощью заднего упора.





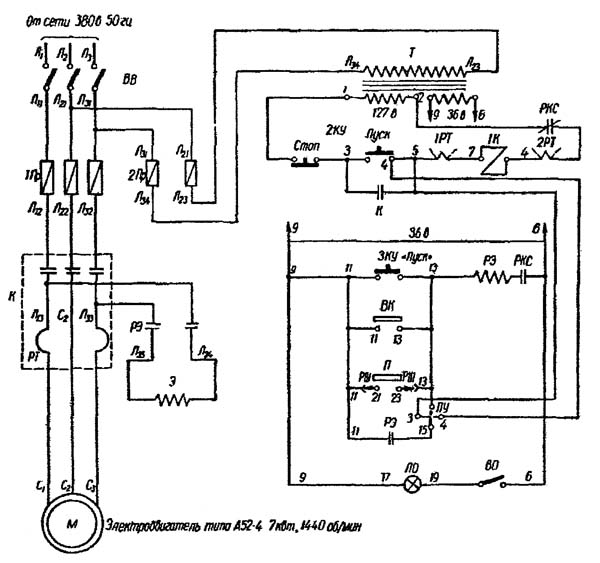
Схема електрична принципова гильотинных ножниц Н-475

Схема електрична принципова гильотинных ножниц Н-475

Електроустаткування ножниц Н-475

Ножницы имеют електрическое керування. Для подачі напряжения служит вводный пакетный выключатель ВВ (рис. 10). Использовать выключатель ВВ для прямого увімкнення і виключення електродвигуна запрещается.

Запуск електродвигуна возможен только при установці переключателя керування ПУ в положение «Одиночные ходы» (контакт 3—4). После етого нажатием на кнопку «Пуск» 2КУ включается електродвигатель з помощью магнитного пускателя 1К. Блок-контакт (3—5) магнитного пускателя 1К обеспечивает дальнейшую работу електродвигуна при возврате кнопки «Пуск» 2КУ в исходное положение, а также при перемене положения переключателя керування ПУ «Непрерывные ходы» (контакт 15—13), -

Увімкнення ножниц на одиночные ходы можно производить лишь після набора маховиком нужного числа оборотів нажатием кнопки «Пуск» ЗКУ, расположенной на панелі ниже переключателя керування, ножной педалью при помощи конечного выключателя ВК, расположенного на боковой стойке ножниц, или специальной переносной педалью, включаемой в штепсельную розетку РШ.

Для роботи ножниц на непрерывных ходух надо установить при работающем електродвигателе переключатель ПУ в положение «Непрерывные ходы» і включить ходы нажатием на кнопку «Пуск» ЗКУ или педали. Для виключення непрерывных ходов достаточно установить переключатель керування в положение «Одиночные ходы».

Остановка електродвигуна і аварийная остановка осуществляются нажатием кнопки «Загальний стоп» 2КУ.

Нагревательный елемент теплового реле РТ, служащего для защиты електродвигуна от перегрузки, включен в силовую ланцюг післядовательно; нормально закрытый контакт етого реле включен в ланцюг катушки магнитного пускателя 1К. При перегрузке тепловые елементы нагреваются і размыкают нормально закрытый контакт, отключая електродвигатель от сети. Повторный запуск електродвигуна возможен только після остывания биметаллических пластин реле. Для повторного пуска необходимо нажать кнопку «Возврат» теплового реле.

Так как реле помещено внутри запирающегося шкафа, пуск електродвигуна після перегрузки возможен только електромонтером, обслуживающим ножницы. Перед пуском необходимо выяснить і устранить причины перегрузки.

Захист от внутренних повреждений електродвигуна осуществляется плавкими предохранителями Пр, защита от падения напряжения — магнитным пускателем 1К. На ножницах предусмотрено местное освещение напряжением 36 В. Увімкнення і вимкнення освещения осуществляется выключателем ВО.

Ланцюги керування рассчитаны согласно требованиям техники безопасности на напряжение 127 і 36 в. Для етой цели применяется понижающий трансформатор Тр, имеющий две вторичных обмотки 36 і 127 в.

Муфта увімкнення ножниц работает лишь при вращении електродвигуна і приводу в одну сторону (по стрелке, установленной на ограждении). При обратном вращении возможна поломка муфты увімкнення.

Для контроля направления обертання і скорости обертання на електродвигатель установлено реле контроля скорости РКС блокирующее схему керування ножниц.

На ножницах в експортном тропическом виконанні реле контроля скорости РКС не устанавливается.


Креслення ножа гильотинных ножниц Н-475

Нож гильотинных ножниц Н-475

Нож для гильотинных ножниц 16 х 60 х 550

  1. Ножи должны изготавливаться из стали марок 5ХВ2С, 6ХВ2С і 6ХС по ГОСТ 5950—73
  2. Твердость ножей — HRC 54 ... 58
  3. Допуск плоскостности поверхности Б — не более 0,1 мм на длине 100 мм
  4. Поле допуска размеров s а В комплекта ножей — по h11
  5. Допускаемая разность размеров ножей комплекта в месте стыка не более 0,03 мм
  6. H14; h14; ±IT14/2
  7. На ноже должна быть нанесена следующая маркировка: товарный знак предприятия-изготовителя, обозначение ножа, клеймо ОТК, шифр (номер) комплекта (для складових ножей).
  8. Остальные технические требования для комплекта ножей по ГОСТ 25306-82 Ножи плоские к листовым ножницам. Основні і присоединительные розміри. Технічні требования



Н-475 Ножницы кривошипные листовые гильотинные з наклонным ножом для обробки листового металла. Відеоролик.




Технічні характеристики гильотинных ножниц Н-475

Наименование параметра Н-475
Основні параметри ножниц
Наибольшая толщина разрезаемого листа при σвр 50 кг/мм 2вр = 500МПа), мм 6,3
Наибольшая длина разрезаемых листов в мм, мм 2000
Число ходов ножа в минуту не менее 40
Ход ножа, мм 80
Максимальное усилие реза, тс 19
Угол наклона подвижного ножа в градусах 1°56'
Ширина отрезаемого листа по заднему упору, мм 500
Число режущих кромок ножа 4
Расстояние между стойками в свету, мм 2250
Расстояние от уровня пола до плоскости нижнего ножа, мм 800
Расстояние от кромки нерухомого ножа до станины (вылет), мм 600
Количество прижимов 1
Ход прижима, мм 10
Усилие прижима, кг 700
Режимов роботи 2 (одиночный/ непрерывный)
Нормы точності
Зазор между поверхностями ковзання ножей балки і направляющими стойками, мм 0,1..0,2
Биение маховика в радиальном направлении при его вращении, мм 0,1
Биение маховика в осевом направлении при его вращении, мм 0,2
Зазор между поверхностями ковзання прижима і направляющими, мм 0,1..0,3
Зазор между верхними і нижними ножами, мм 0,08..0,35
Електроустаткування
Електродвигун, кВт 7
Габарит і масса ножниц
Габарит ножниц (длина х ширина х высота), мм 2900 х 1970 х 2175
Масса ножниц, кг 4500

    Список литературы:

  1. Банкетов А.Н., Бочаров Ю.А., Добринский Н.С. і др. Кузнечно-прессовое обладнання, 1970
  2. Бочаров Ю.А., Прокофьев В, Н. Гідропривід кузнечно-прессовых машин, 1969
  3. Белов А.Ф., Розанов Б. В., Линц В. П. Объемная штамповка на гідравлических прессах, 1971
  4. Живов Л.И. Кузнечно-штамповочное обладнання, 2006
  5. Кузьминцев В.Н. Ковка на молотах і прессах, 1979
  6. Розанов Б.В. Гідравлические прессы, 1959
  7. Титов Ю.А. Обладнання кузнечно-прессовых цехов, 2001
  8. Щеглов В.Ф. Кузнечно-прессовые машины, 1989
  9. Берлет Разработка чертежей поковок, 2001
  10. Рудман Л.И. Справочник по оборудованию для листовой штамповки, 1989
  11. Романовский В.П. Справочник по холодной штамповке, 1965
  12. Охрименко Я.М. Технология кузнечно-штамповочного производства, 1966
  13. Кузьминцев В.Н. Ковка на молотах і прессах, 1979
  14. Мещерин В.Т. Листовая штамповка. Атлас схем, 1975