metalinstryment.com
Довідник по металорізальних верстатів та пресовому обладнанні

ИЭ-6009А Верстат комбинированный деревообрабатывающий
Схеми, опис, характеристики

ИЭ-6009А Верстат комбинированный деревообрабатывающий







Производителем комбинированного деревообрабатывающего верстата ИЭ-6009А является МогилевЛифтМаш, г. Могилев, Адрес сайта: http://liftmach.by

ОАО «Могилевлифтмаш» в настоящее время выпускает машины деревообрабатывающие бытовые ИЭ-6009А2.1-02 і ИЭ-6009А4.2-02. Указанные машины выполняют функции пиления продольного, поперечного, а также пиления под углом, операции строгания по плоскости, по ребру і под углом. Машина ИЭ-6009А2.1-02 выполняет операцию фрезерування дисковий фрезой (отбор четверти).

Производителем комбинированного деревообрабатывающего верстата ИЭ-6009А является, также, ОАО "Завод "Ветразь". Витебская область, Докшицкий район, г.п. Бегомль, Адрес сайта: http://zavod-vetraz.by/, которое входит в холдинг МогилевЛифтМаш.





ИЭ-6009А2 Верстат комбинированный деревообрабатывающий. Назначение, область применения

Верстат деревообрабатывающий ИЭ-6009А представляет собой компактное настольное пристрій для обробки пиломатериалов хвойных і лиственных пород.

Верстат деревообрабатывающий бытовой ИЭ-6009А выпускается в следующих модификациях:

Верстат выполняет наступні операции механической обробки древесины:

Верстат должен использоваться в закрытых бытовых помещениях, кpoме жилых.

Виконання по степени защиты влаги - незащищенное.

Верстат може работать в следующих условиях.

Особливості конструкції деревообрабатывающего верстата ИЭ-6009А

Высокая мощность установленного електродвигуна, что позволяет выполнять роботи з большей производительностью.

Значительное внимание в конструкції машин уделено удобству і безопасности роботи:

Питание і керування електродвигуном машины осуществляется от однофазной сети переменного тока номинальным напряжением 230 В частотой 50 Гц. Машины не требуют стационарного заземления.


Комплект поставки деревообрабатывающего верстата ИЭ-6009А

Комплект поставки деревообрабатывающего верстата ИЭ-6009А

  1. Механізм приводу - 1 1 шт
  2. Линейка направляющая (без уголков) - 2 1 шт
  3. Приспособление защитное - 3 1 шт
  4. Приспособление прижимное - 4 1 шт
  5. Плита - 5 1 шт
  6. Плита угловая - 6 1 шт
  7. Кронштейн правый (с гвинтами) - 7 1 шт
  8. Кронштейн левый (с гвинтами і гайками) - 8 1 шт
  9. Стол - 9 1 шт
  10. Уголок - 10 2 шт
  11. Стержень - 11 2 шт
  12. Кожух - 12 1 шт
  13. Кожух - 13 1 шт
  14. Пила - 15 1 шт
  15. Шаблон - 17 1 шт
  16. Винт (для крепления линейки направляющей) - 18 2 шт
  17. Болт М8 х 50 ГОСТ 7796-70 (для крепления машины) - 24 2 шт
  18. Шайба А8 ГОСТ 11371-78 (на болте) - 24 4 шт
  19. Гайка М8 ГОСТ 15521-70 (на болте) - 24 2 шт
  20. Винт М6 х 16 ГОСТ17475-80 - 25 2 шт
  21. Гайка М6 ГОСТ 5915-70 (на винте) - 25 2 шт
  22. Шайба А6 ГОСТ 11371-78 (на винте) - 25 2 шт
  23. Винт М4 х 8 ГОСТ 1491-80 (для крепления кожуха) - 26 2 шт
  24. Ключ 7811-4002 (S-32) - 30 1 шт
  25. Беруши LASER LITE LL-1 ГОСТ 12.4.051-87 - 2 шт
  26. Руководство по експлуатации - 1 шт

ИЭ-6009А Загальний вигляд комбинированного деревообрабатывающего верстата

Фото вигляд комбинированного верстата ИЭ-6009А

Фото вигляд комбинированного верстата ИЭ-6009А

Фото вигляд комбинированного верстата ИЭ-6009А


Cклад комбинированного верстата ИЭ-6009А

Cклад комбинированного верстата ИЭ-6009А


Пристрій комбинированного верстата ИЭ-6009А

Верстат состоит из следующих механізмов вузлів і пристосувань:

  1. механізм привода;
  2. прижимное пристрій;
  3. пристрій для пиления і фрезерування;
  4. пристрій защитное;
  5. стол для сверления і фрезерування.

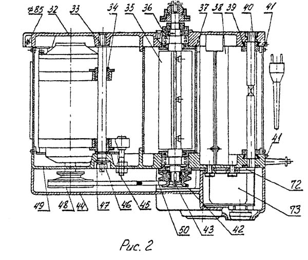
Механізм привода (рисунок 2) состоит из двух алюминиевых стенок 32 і 49 з приливами і отверстиями для крепления етих стенок резьбовыми шпильками. Стенки предназначены для розміщення підшибників ножевого барабана 35, ексцентрика 40, коробки 38 з конденсаторами, основания 72 з размещёнными на нём електроаппаратами, обеспечивающими нулевую защиту і защиту от короткого замыкания, крышки 73 з размещёнными на ней кнопками увімкнення і виключення машины. На стенках выполнены резьбовые отверстия для крепления пристосувань. В верхней частини стенок выполнены резьбовые отверстия для крепления плиты, пазы типа ласточкин хвост для установки лыжи 39. В нижней частини стенок имеются отверстия 8,5 мм і Т-образный паз шириной 9 мм (рисунок 3) для крепления машины к верстаку.

Натяжение приводного ремня осуществляется поворотом двигуна относительно шпильки 33 з післядующей фиксацией его з помощью гаек 45. С внутренней стороны стенок имеются приливы для крепления кожуха 37 для відведення стружки.

Выводы от обмоток статора двигуна (рисунок 6) присоединяются к електроаппаратуре согласно схеме (рисунок 7). Ротор 61 двигуна установлен на двух підшипниках 59 в передних і задних щитах 58 і 62.

На выходном кінці вала двигуна на шпонке смонтирован ведущий шкив 48.

Передача крутящего момента ножевому барабану осуществляется при помощи клинового ремня 50.

В двух пазах ножевого барабана кренятся ножи. Барабан вращается на двух підшипниках качения 36. Для предотобертання попадания, пыли в крышке підшибниківого вузла устанавливаются сальники.

На одном кінці вала барабана на шпонке установлен ведомый шкив 42. Фиксация шкива от осевых перемещений осуществляется з помощью гвинта 43. Другой конец вала барабана выполнен конусным для установки конусной втулки і патрона.

Стальная плита 56 закрепляется на стенках машины неподвижно. Алюминиевая лыжа 39 имеет пазы типа ласточкин хвост для переміщення её при регулировании глубины строгания. Перемещение лыжи производится при помощи поворота ексцентрика 40 гаечным ключом.

На механізм установлен кожух 53, который предотвращает попадание опилок в вентиляционные окна двигуна при пилении і предохраняет от травмы Приспособление прижимное 4 устанавливается сверху машины і крепится двумя гвинтами.

Приспособление прижимное 4 состоит из литого алюминиевого корпуса з приливами для крепления двух стержней з кронштейнами і пружинами, двух осей з роликами і гвинта з головкой для регулювання прижимного зусилля. Максимальная толщина обрабатываемого материала - 50 мм.


Cклад комбинированного верстата ИЭ-6009А


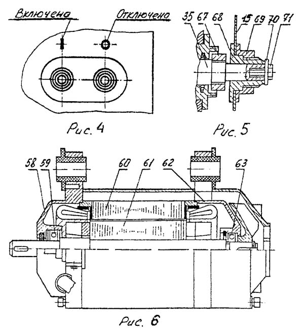
Приспособление для пиления і фрезерування (см. рисунок 3) состоит из плиты 5, плиты угловой 6, кронштейнов 7 і 8, стержней 11. Плита 5 закрепляется посредством кронштейнов на угловой плите 6 і перемещается горизонтальной і вертикальной плоскости, може устанавливаться под углом. Фиксация приспособления осуществляется з помощью гаек - барашков 54 і гаек 55.

Приспособление защитное (рисунок 3) состоит из ножа 52 і козыръка 51. Нож з помощью гайки-барашки 54 закрепляется на приливе стенки і выставляется специальной гайкой в плоскости обертання пильного диска.

Стол для сверления і фрезерування 9 (рисунок 1) состоит из алюминиевой плиты, в которой закреплены два направляючих стержня. Стол устанавливается на угловую плиту 6.


Cклад комбинированного верстата ИЭ-6009А


На кожухе машины нанесены символы органів керування (рисунок 4).

Примечание: изделие може мати некоторые конструктивные отличия от описання і рисунков в связи з его постоянным совершенствованием.


Работа на комбинированном станке ИЭ-6009А

Работа на комбинированном станке ИЭ-6009А


Строгание пиломатериалов по плоскости (рисунок 8)

Для выполнения етой операции:

Правильность установки ножей проверяется з помощью шаблона 17 (рисунок 1), прижатого гранью к стальной плите 56. При повороте ножевого барабана правильно установленные ножи должны слегка касаться краями режущей кромки нижней грани шаблона. После выверки болты клиньєв, крепящих ножи, надёжно затяните.

Установленные заводом - изготовителем в отбалансированный ножевой барабан ножи, клинья і болты комплектно подобраны по массе. Во избежание нарушения балансировки ножевого барабана і появления вибрации переводить детали из одного комплекта в другой запрещается.

Установите прижимное пристрій так, чтобы направление подачі материала, указанное на табличке 66 корпуса прижимного приспособления, было в сторону стальной плиты 56. Надёжно прикрепите пристрій прижимное к механізму фуговальному гвинтами, находящимися в отверстиях корпуса. Головкой 65, расположенной сверху приспособления, установите прижимные ролики 64 на нужную толщину обрабатываемого вироби.

При строгании коротких брусьев пиломатериала обязательно пользуйтесь дополнительным бруском для проталкивания пиломатериала, при етом работающий должен всегда находится слева от зоны обробки, а не позади обрабатываемою пиломатериала.


Строгание пиломатериалов под углом і по ребру (рисунки 9 і 10)

Для выполнения етой операции:

ВНИМАНИЕ! При выполнении данных операций соблюдайте осторожность при выходе обрабатываемого материала, так как верхняя зона режущих ножей не закрыта от прикосновения.


Распиловка пиломатериалов вдоль і поперёк волокон (рисунок 11)

Для выполнения етой операции:

Подачу доски осуществите равномерно со скоростью не более одного метра в минуту.

При распиловке поперек длинных заготовок линейка направляющая должна быть снята.


Распиловка на определённую глубину пропила (рисунок 12)

Для выполнения етой операции:


Распиловка пиломатериалов под углом (рисунок 13)

Вверните в нижние резьбовые отверстия стенки два направляючих стержня 11, установив на них плиту угловую 6 і законтрив, направляющие стержни гайками М16х1,5.

Выставьте плиту 5 на нужный угол і застопорите сектора і направляющие плиты гайками - барашками 54.


Фрезерование пазов (рисунок 14)

Для выполнения етой операции:


Сверление і фрезерование пазов (рисунок 15)

Для выполнения етих операций:

Сверление і фрезерование производится по разметке. Подача осуществляется переміщенням по столу обрабатываемого материала.


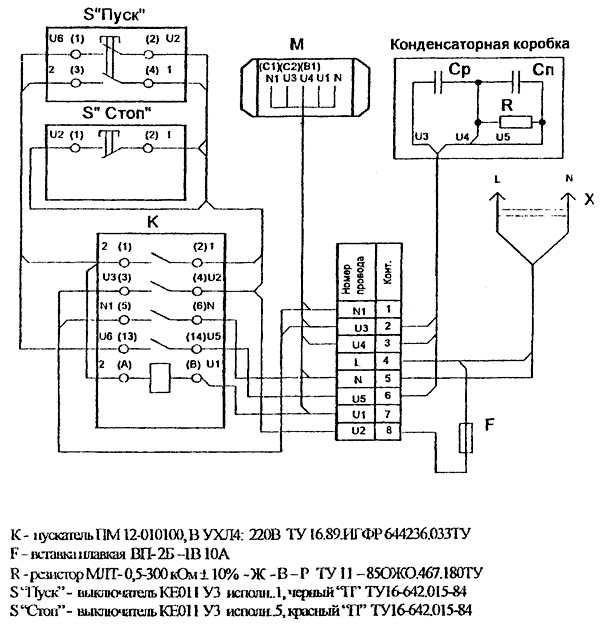
Схема електрична принципова комбинированного деревообрабатывающего верстата ИЭ-6009А

Схема електрична комбинированного верстата ИЭ-6009А

Тип електродвигуна - Асинхронный однофазный з рабочими і пусковыми конденсаторами.





ИЭ-6009А. Відеоролик










Технічні характеристики комбинированного верстата ИЭ-6009А

Наименование параметра ИЭ-6009
А2
ИЭ-6009
А2.1
ИЭ-6009
А4.1
ИЭ-6009
А4.2
ИЭ-6009
А4.2-01
ИЭ-6009
А2.1-02
ИЭ-6009
А4.2-02
Операции, выполняемые на станке
Распиловка продольная, поперечная + + + + + + +
Строгание по плоскости, по ребру + + + + + + +
Распиловка под углом + - - - - + +
Фрезерование дисковий фрезой (отбор четверти) + + - - + + -
Сверление + - - - + + +
Фрезерование цилиндрической (торцовой) фрезой + - - - + + +
Основні параметри верстата
Толщина распиливаемой заготовки, мм 45 50 85 95 95 50 95
Наибольшая ширина фугования (строгания), мм 200 200 280 280 280 200 280
Наибольшая глубина снимаемого слоя за один проход при строгании, мм 2,4 3,0 3,0 3,0 3,0 3,0 3,0
Частота обертання ножевого барабана на холостом ходу, об/мин 5000 5000 5400 5400 5400 5000 5400
Частота обертання пилы на холостом ходу, об/мин 2200 2200 2300 2300 2300 2200 2300
Количество строгальных ножей 2 2 2 2 2 2 2
Сверление
Диаметр хвостовика сверла, мм 3..16 - - - 3..16 3..16 3..16
Диаметр хвостовика для установки сверлильного патрона, мм, мм Конус Морзе В18 - - - Конус Морзе В18 Конус Морзе В18 Конус Морзе В18
Електроустаткування верстата
Род тока питающей сети 220В 50Гц 220В 50Гц 220В 50Гц 220В 50Гц 220В 50Гц 220В 50Гц 220В 50Гц
Количество електродвигателей на станке, шт 1 1 1 1 1 1 1
Електродвигун - номинальная мощность, кВт 1,7 1,7 2,4 2,4 2,4 1,7 2,4
Габарит і масса верстата
Габарит верстата (длна х ширина х высота), мм 700 х 670 х 420 740 х 510 х 470 900 х 800 х 500 900 х 820 х 500 900 х 820 х 500 740 x 490 x 470 900 x 820 x 540
Масса верстата БРУТТО, кг 53 57 72 71 72 57 70





Продукция