metalinstryment.com
Довідник по металорізальних верстатів та пресовому обладнанні

Д2430Б Пресс гідравлический рамный для прессования изделий из пластмасс
схеми, опис, характеристики

Д2430Б Фото гідравлічного пресса рамного



Прессы механические, прессы гідравлические, верстати поперечно-строгальные

Відомості про виробника гідравлічного пресса Д2430Б

Производителем гідравлічного пресса Д2430Б является Рязанский завод тяжелого кузнечно-прессового оборудования, "ТяжПрессМаш", основанный в 1955 году.

В настоящее время однокривошипный пресс Д2430Б производит ПАО «Кувандыкский завод КПО «Долина» Оренбургская обл., г. Кувандык






Д2430Б пресс гідравлический рамный для прессования изделий из пластмасс. Назначение, область применения

Пресс гідравлический моделі Д2430Б предназначен для изготовления деталей из различных видов термореактивных пластических масс методами прямого і литьевого прессования. Пресс може быть использован также для мелких вытяжных і штамповочных работ.

Благодаря своей универсальности і наличию индивидуального приводу пресс Д2430Б може быть использован как на крупных специализированных предприятиях по переработке пластмасс, так і для индивидуального производства пластмассовых изделий на заводах машиностроения, а также в радио- і електропромышленности. Пресс оснащен гідроагрегатом моделі Г4617.

Пресс гідравлический моделі Д2430Б выполнен вертикальным, рамным.

Гідроагрегат монтируется на фундаменте слева от пресса і соединяется з ним трубопроводами.

Конструкція і аппаратура пресса обеспечивают прямое і литьевое прессование изделий на напівавтоматическом режиме роботи, а также позволяют наблюдать за нагревом пресс-форм, давлением жидкости і предусматривают автоматическую регулировку температуры обогрева.

Станина пресса рамного типа, сваренная из стального листа. В верхней частини станины имеется отверстие для установки головного цилиндра, а в нижней — для установки выталкивателя.

Горизонтальная массивная плита з центральным отверстием і Т-образными пазами является столом пресса.

Для направления руху ползуна пресса служат направляющие.

Регулювання зазору между ползуном і направляющим производится гвинтами. Левая ниша станины предназначена для розміщення трубопроводов. В правой нише установлены конечные выключатели керування ползуном і в подвешенном к ней на петлях електрошкафе размещается електроаппаратура.

В нижней частини верхней поперечини станины предусмотрено два отверстия М36 для установки механического выталкивателя, выполненного в виде шпилек, которые кроме роли выталкивателя, в целях безопасности (при навинчивании на них гаек), удерживают ползун в верхнем положении во время ремонта.


Пресс гідравлический. Загальні відомості

Гідравлический пресс — ето гідравлічна машина, предназначенная для создания больших сжимающих усилий. Ранее назывался «пресс Брама», так как изобретён і запатентован Джозефом Брама в 1795 году.

Гідравлический пресс состоит из двух сообщающихся гідравлических цилиндров (с поршнями) разного диаметра. Цилиндр заполняется гідравлической жидкостью, водой, маслом или другой подходящей жидкостью.

Гідравлические прессы в отличие от молотов деформируют металл при малых скоростях руху робочого инструмента — до 30 см/с. Эта скорость в начале деформирования заготовки равна нулю.

Основная робота совершается гідропрессами давлением рабочей жидкости (воды, емульсии, масла), создаваемым в рабочих цилиндрах. Чем выше ето давление і чем больше площадь рабочих цилиндров, тем значительнее усилие, развиваемое прессом. В настоящее время в гідравлических прессах создаются давления до 100 МПа (1000 ат). Усилие наиболее крупных гідравлических прессов доходит до 740 МН (75 000 тс).





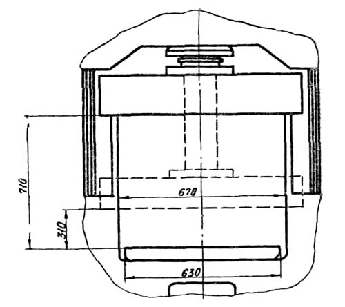
Габаритные розміри робочого простору пресса Д2430Б

д2430б Габаритные розміри робочого простору гідропресса


Габаритные розміри робочого стола пресса Д2430Б

д2430б Габаритные розміри робочого стола гідропресса


Загальний вигляд гідравлічного пресса Д2430Б

д2430б Загальний вигляд  гідропресса


Розташування органів керування гідравлическим прессом Д2430Б

Д2430Б Розташування органів керування гідравлическим прессом

Список органів керування гідравлічного пресса Д2430Б

  1. Кнопка «Аварийный разъем»
  2. Кнопка «Ползун вниз»
  3. Кнопка «Ползун вверх»
  4. Переключатель «Выдержка з двигателем»
  5. Переключатель «С механическим выталкивателем»
  6. Переключатель увімкнення обогрева матрицы
  7. Лампочка «Обогрев матрицы»
  8. Лампочка «Сеть»
  9. Кнопка «Пуск електродвигуна»
  10. Кнопка «Стоп електродвигуна»
  11. Кнопка «Ползун вниз»
  12. Лампочка «Обогрев пуансона»
  13. Переключатель увімкнення обогрева пуансона
  14. Переключатель на три положения «Наладка», «С выталкивателем», «Без выталкивателя»
  15. Переключатель на два положения «Литьевое прессование», «Прямое прессование»
  16. Переключатель «Работа з подпрессовками»
  17. Кнопка «Выталкиватель вверх»
  18. Кнопка «Выталкиватель вниз»
  19. Автоматический выключатель

Опис конструкції гідравлическим прессом Д2430Б

Ползун — чугунная плита з четырьмя диагональными ребрами. В нижней частини ползуна имеются Т-образные пазы — место крепления инструмента. В правой боковой стенке ползуна имеются резьбовые отверстия для крепления стоек з кулачками, которые действуют на ролики конечных выключателей ползуна.

Главный цилиндр поршневого типа находится в верхней поперечине станины пресса. В стальном кованом корпусе 1, закрытом сверху крышкой 3, находится поршень 2, закрепленный на стальном штоке 4. Уплотнение поршня, крышки і штока осуществляется манжетами 5 і 6.

Выталкиватель пресса размещен в нижней поперечине станины (под столом) і представляет собой цилиндр поршневого типа. В стальном корпусе 1, закрытом знизу крышкой 3, находится поршень 2 з поршневыми чугунными кольцами 5, закрепленными на стальном штоке 4. Шток направляется втулкой 6 і уплотняется манжетами 8, поджатыми гайкой 7.

Клапан предохранительно-разгрузочный служит для регулювання зусилля выталкивателя при прямом і литьевом прессовании. Клапан установлен на линии выталкивателя, подводящей масло в бесштоковую полость цилиндра. Налаштування клапана на требуемое давление производится по манометру, который устанавливается в предусмотренное гнездо на линии подвода.

Трубопроводы пресса выполнены из цельнотянутых стальных труб з использованием кінцівых з'єднань, рассчитанных на давление жидкости 320 кг/см2. Давление жидкости контролируется при помощи електроконтактного манометра, установленного на прессе, имеющего защиту от гідравлічного удара — демпфер.





Схема електрична принципова гідравлічного пресса Д2430Б

Схема електрична принципова гідравлічного пресса Д2430Б

Схема електрична принципова пресса Д2430Б. Дивитись у збільшеному масштабі


Електроустаткування гідравлічного пресса Д2430Б

Електрична схема обеспечивает работу пресса в наладочном, напівавтоматическом прямом і литьевом режимах.

В напівавтоматическом прямом режиме може осуществляться робота пресса: «Ползун з выталкивателем», «Ползун без выталкивателя».

Кроме того, в зависимости от установки переключателя ПУ5 і налаштування реле часу РВ1, пресс може работать подпрессовками. В напівавтоматическом прямом і литьевом режимах возможна робота з механическим выталкивателем.

В наладочном режиме руху ползуна і выталкивателя совершаются, пока нажаты соответствующие кнопки на пульті керування. Опускание кнопки вызывает немедленную остановку руху.

В целях безопасности роботи на прессе в електросхеме предусмотрено двурукое керування, т. е. опускание ползуна можно произвести только при одновременном нажатии на две кнопки Кн3 і Кн8 обеими руками. Это исключает возможность защемления свободной руки при движении ползуна вниз. Для економии електроенергии і увеличения срока службы гідроагрегата выдержка деталей под давлением може быть осуществлена з отключением на етот период електродвигуна, для чего переключатель ПУ4 необходимо перед работой поставить в положение «Без двигуна"

В целях безопасности роботи на прессе в електросхеме предусмотрено двурукое керування, т. е. опускание ползуна можно произвести только при одновременном нажатии на две кнопки Кн3 і Кн8 обеими руками. Это исключает возможность защемления свободной руки при движении ползуна вниз. Для економии електроенергии і увеличения срока службы гідроагрегата выдержка деталей под давлением може быть осуществлена з отключением на етот период електродвигуна, для чего переключатель ПУ4 необходимо перед работой поставить в положение «Без двигуна"

Електрична схема обеспечивает контроль і регулировку температуры обогрева изделий в прессформе. Напряжение для обогрева прессформ подается от отдельной внешней цеховой сети или отдельного понижающего трансформатора В електрической схеме, пресса предусмотрена возможность аварийного разъёма прессформы, для чего достаточно на пульті керування нажать на грибовидную кнопку Кн7. В любом режиме ползун поднимается вверх.

При нажатии на кнопку Кн7 включится реле АР, которое своими замыкающими контактами в точках 13—17, 39—37 і 39—79 включит магнитный пускатель К1 і реле РЭ1 і РЭ3. Магнитный пускатель К1 своими замыкающими контактами включит електродвигатель гідроагрегата, а реле РЭ1 і РЭ3 своими замыкающими контактами в точках 113—117, 11—113, 113—115 і 109—111 включат ланцюги живлення електромагнитов Эм1, Эм3 і Эм4. После увімкнення електромагнитов ползун независимо от места положения начнет быстро подниматься до срабатывания конечного выключателя ВК1 в точках 13—39. После того, как будет выяснена причина роботи аварийным разъемом (аварийным разъемом следует пользоваться только в аварийных случаях), следует открыть електрошкаф і нажать на кнопку Кн9 «Деблокировка», т. е. возвратить реле АР в исходное положение, иначе роботи електросхеми, а следовательно і пресса, будет невозможна.

Питание на електросхему подается вводным автоматическим выключателем А1, при етом на пульті керування загорится сигнальная лампа ЛС1 з плафоном синего цвета. Електродвигун гідроагрегата і трансформатор керування Тр подключаются к сети напряжением 380 в (400 в, 220 в) 50 гц (60 гц). Ланцюги керування прессом питаются напряжением 110 в через понижающий трансформатор Тр.

Все керування прессом сосредоточено на пульті керування, который расположен на електрошкафе. Панели з електроаппаратами размещены в електрошкафе. Для получения нужных выдержек схема оборудована двумя реле часу. Для ограничения ходов ползуна і выталкивателя і получения импульсов на переключение на прессе установлено шесть конечных выключателей.

Для защиты ланцюгів керування і сигнализации в електросхеме предусмотрены плавкие предохранители.

Захист електродвигуна гідроагрегата от токов короткого замыкания осуществляется автоматическим выключателем А1, а от перегруза—тепловым реле РТ, смонтированным в магнитном пускателе К1.

Захист ланцюгів обогрева прессформы осуществляется плавкими предохранителями Пр4 і Пр5.





Технічні характеристики пресса Д2430Б

Наименование параметра Д2430Б
Основні параметри
Номинальное усилие пресса, кН (т) 1000 (100)
Номинальное усилие обратного ходу, кН (т) 100 (10)
Номинальное усилие выталкивателя вверх, кН (т) 250 (25)
Наибольший ход штока (ползуна), мм 400
Наибольшее расстояние между столом і штоком - открытая высота пресса, мм 710
Расстояние между стойками в свету, мм 670
Розміри стола, мм 630 х 630
Высота стола над уровнем пола, мм 900
Скорость штока - рабочий ход, мм/сек 4,2
Скорость штока - холостой ход, мм/сек 120
Скорость штока - возвратный ход, мм/сек 120
Скорость выталкивателя при ходе вверх, мм/сек 17
Скорость выталкивателя при ходе вниз, мм/сек 45
Максимальная выдержка под давлением, мин 15
Цикл роботи пресса Полуавтомат
Електроустаткування
Количество електродвигателей 1
Електродвигун насоса гідростанції, кВт 5,5
Габарити і масса пресса
Габарити пресса (длина ширина высота), мм 1740 х 1185 х 2780
Масса верстата, кг 2750