metalinstryment.com
Довідник по металорізальних верстатів та пресовому обладнанні

ЦПА-40 Верстат торцовочный круглопильный з прямолинейным движением суппорта
Схеми, опис, характеристики

ЦПА-40 Верстат торцовочный з прямолинейным движением суппорта







Відомості про виробника круглопильного диленно-реечного верстата ЦА-2А

Производителем круглопильного торцовочного верстата ЦПА-40 является Уссурийский машиностроительный завод.

Предприятие ЗАО Уссурийский машиностроительный завод ИНН 2511044410 ликвидировано. Действовало з 07.05.2003 по 18.02.2014.






ЦПА-40 Верстат торцовочный круглопильный з прямолинейным движением суппорта. Назначение, область применения

Верстат круглопильный торцовочный ЦПА-40 з прямолинейным движением суппорта предназначен для поперечної распиловки досок, брусьев і щитов, а также може быть использован для вырезки пазов.

Верстат ЦПА-40 является обладнанням общего назначения для деревообрабатывающих производств.

На станке установлены два електродвигуна:

  1. Електродвигун приводу пильного диска 3,2 кВт
  2. Електродвигун приводу насоса гідростанції 2,2 кВт

Суппорт верстата ЦПА-40 опирается на підшипники качения и, в начале роботи, може вручную подниматься і опускаться посредством маховичка і зубчатой передачи. После подъема или опускания супорт фиксируется на определенной высоте.

В течении роботи посредством гідроприводу супорт совершает возвратно-поступательные руху. В головной частини суппорта крепится електродвигатель з режущим диском на валу.


Торцовочные верстати. Загальні відомості

Все верстати для поперечного раскроя называются торцовочными. К торцовочным верстатам з подачей пилы по дуговой траектории относятся балансирные і маятниковые. Наибольшее распространение имеют торцовочные верстати з прямолинейным надвиганием пилы на материал, к которым относятся шарнирные і суппортные. Суппортные торцовочные верстати обеспечивают более точную распиловку, чем шарнирные.

Торцовочные верстати были і остаются неотъемлемой частью большинства типовых технологических процессов деревообробки, будь то производство обрезной доски, столярных изделий или мебели. Развитие специальных направлений, таких как изготовление срощенного бруса, мебельного щита, только ускорило процесс модернизации етого класса оборудования. Благодаря чему появились шедевры технической мысли — системы оптимизации раскроя древесины, в основе которых лежит «классика жанра» — торцовочная пила.

Принцип дії

Принцип дії торцовочного верстата заключается в делении заготовки из древесины дисковий пилкою, перпендикулярной її волокнам і формирование торца деталей. Строго говоря, плоскость різання може располагаться і не под прямым углом к волокнам.

Торцовочные верстати используют в двух случаях: для формообразования торца детали і при вырезке дефектных мест. Заготовка післядовательно проходит несколько етапов. Первоначально її перемещают до достижения требуемого положения относительно инструмента. Затем происходит фиксация і собственно пиление. И только після відведення прижимов полученные детали извлекают из зоны обробки.

Конструкція торцовочных верстатів

Основным елементом торцовочного верстата без преувеличения является пильный узел. Дело в том, что качество получаемой поверхности в основном зависит от роботи именно етого конструктивного блока. В нем используются, например, дисковые пилы со специальной формой зубьев, з дополнительными строгальными ножами, «зачищающими» торец детали. Из-за того, что древесина обладает выраженной анизотропией — физико-механическими свойствами, зависящими от выбранного сечения — процесс різання протекает по-разному в продольном і поперечном условных направлениях. В частности, волокна при поперечном раскрое практически не деформируются, что исключает «зажим» инструмента. Поетому нет необходимости в использовании расклинивающих ножей. С другой стороны, поперечний распил часто сопровождается сколами і отрывом волокон по периферии торца. Применение антискольных устройств по аналогии з фрезерными верстатами малоеффективно — прорезь в подложке из древесины при многократных проходах пилы быстро расширяется. Основным методом борьбы з такого рода дефектами остается высокая скорость різання качественным, заточенным инструментом.

За разгон і соответствующую частоту обертання пилы отвечает главный привод. В торцовочных верстатах используются і высокомоментные асинхронные двигатели з роторами-шпинделями, і ременные многоступенчатые передачи, а также высокоскоростные приводы постоянного тока, способные развивать скорость, например в настольных верстатах, до 5−6 тыс. об/мин. В среднем, для торцовки заготовки сечением 400×100 мм достаточна мощность двигуна 3−4 кВт.

Помимо обертання, пильный узел должен перемещаться относительно заготовки во время різання. Конструкции механізма его подачі — самые разнообразные.

Качающийся маятниковый рычаг - условная схема

Качающийся маятниковый рычаг - условная схема


Качающийся маятниковый рычаг. Шарниры делают его износостойким і долговечным. Малый ход переміщення предопределяет высокое быстродействие верстата в целом.

Маятник приводится в рух гідравлическим или пневматическим цилиндром. Диаметр пилы D пилы накладывает ограничение на ширину распиливаемой заготовки, которая зависит еще і от її высоты: при высоте заготовки h2 ширина b1, а при h1 — b2 соответственно. При диаметре пилы 400 мм среднее сечение заготовки будет в пределах 200 х 100 мм (верстат СТБ-002). При нижнем расположении пильного вузла (пила находится под заготовкой) требуется обязательный принудительный прижим торцуемой детали. Конструкція качающегося маятникового рычага широко используется в большинстве известных системах оптимизированного раскроя древесины.

Рычажной механізм торцовочного верстата - условная схема

Рычажной механізм торцовочного верстата - условная схема


Рычажной механізм. Пила двигается как от пневмоцилиндра, так і от зусилля оператора. Причем в ручном виконанні при подаче используется потенциальная енергия массивного рычага, а при возвратном ходе — ресурс сжатой пружины. Кроме того, принципова схема механізма исключает самопроизвольный подъем пилы, а сила різання дополнительно прижимает і фиксирует заготовку к базовой плоскости. Таким рычажным механізмом оснащались популярные в прошлом столетии верстати серии ЦМЭ. При диаметре пилы 500 мм максимальный размер сечения составляет 400×100 мм.

Линейная направляющая пильного вузла - условная схема

Линейная направляющая пильного вузла - условная схема


Линейная направляющая пильного вузла ограничивает ширину заготовки только собственной длиной. Так, в моделі ЦПА-40 ход пильного суппорта достигает 400 мм. Чтобы пристрій двигалось в одном направлении — направлении подачі пилы, супорт имеет несколько типов роликов. Да і форма самой направляющей достаточно сложная. Она подвержена интенсивному износу, воздействию контактных і изгибных нагрузок, так как имеет консольную форму.





Габаритные розміри торцовочного верстата ЦПА-40

Габаритные розміри торцовочного верстата ЦПА-40

Габаритные розміри торцовочного верстата ЦПА-40


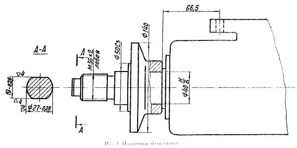
Посадочные базы торцовочного верстата ЦПА-40

Посадочные базы торцовочного верстата ЦПА-40

Посадочные базы торцовочного верстата ЦПА-40


Загальний вигляд торцовочного верстата ЦПА-40

Загальний вигляд  торцовочного верстата ЦПА-40

Фото торцовочного верстата ЦПА-40


Загальний вигляд  торцовочного верстата ЦПА-40

Фото торцовочного верстата ЦПА-40


Загальний вигляд  торцовочного верстата ЦПА-40

Фото торцовочного верстата ЦПА-40






ЦПА-40 Розташування складових частин торцовочного верстата

Розташування складових частин торцовочного верстата ЦПА-40

Розташування складових частин торцовочного верстата ЦПА-40

Розташування складових частин торцовочного верстата. Дивитись у збільшеному масштабі



  1. Станина
  2. Педаль увімкнення ходу суппорта
  3. Маховик подъема і опускания суппорта на колонне
  4. Рукоятка фиксации суппорта на колонне
  5. Стол для базирования заготовки
  6. Направляющая линейка
  7. Кожух пилы
  8. Електродвигун пилы (8 кВт 2900 об/мин)
  9. Роликовая обойма
  10. Роликовая обойма
  11. Пильный суппорт
  12. Пылеприемник
  13. Колонна
  14. Винт подъема і опускания суппорта на колонне
  15. Колонна з гайкой
  16. Пара зубчатых конических колес
  17. Електродвигун приводу насоса гідростанції
  18. Электрошкаф

Розташування складових частин торцовочного верстата ЦПА-40

Основні вузли торцовочного верстата ЦПА-40

Список складових частин торцовочного верстата ЦПА-40:

  1. Педаль керування подачей суппорта
  2. Маховичок подъема і опускания суппорта
  3. Зажим суппорта по высоте
  4. Валики транспортные
  5. Захист пильного диска
  6. Дискова пила
  7. Вал пильного диска
  8. Упорная планка
  9. Суппорт
  10. Гідроцилиндр подачі суппорта
  11. Опорный корпус суппорта
  12. Станина верстата
  13. Электродигатель - привід насоса гідростанції

ЦПА-40 Розташування органів керування торцовочным верстатом

Розташування органів керування торцовочным верстатом ЦПА-40

Розташування органів керування торцовочным верстатом ЦПА-40

Список органів керування торцовочного верстата ЦПА-40:

  1. Педаль керування ходом суппорта
  2. Маховик подъема і опускания суппорта
  3. Рукоятка закрепления суппорта на колонне
  4. Кнопки «Пуск», «Стоп» електродвигателей пилы
  5. Винт регулировки позиции «Стоп» суппорта
  6. Лимб регулировки скорости руху суппорта
  7. Кран манометра (для отключения манометра от гідросистемы во время роботи верстата)
  8. Ограничитель холостого ходу суппорта
  9. Электромагнит
  10. Винт регулировки давления в гідросистеме верстата
  11. Ограничитель робочого ходу суппорта
  12. Кнопки автоматичного выключателя (включено, отключено)




Схема кінематична торцовочного верстата ЦПА-40

ЦПА-40 Схема кінематична торцовочного верстата

Кінематична схема торцовочного верстата ЦПА-40


Пристрій і опис складових частин верстата

Верстат торцовочный моделі ЦПА-40 прост по устройству і надежный в експлуатации при условии выполнения всех требований, изложенных в настоящем руководстве.

На станине — полой чугунной отливке, являющейся одновременно масляным резервуаром, смонтирован опорный корпус суппорта. Корпус совместно з суппортом, при надобности, може подниматься і поворачиваться на определенную величину. Суппорт опирается на підшипники качения і посредством гідроприводу совершает возвратно-поступательные руху. В головной частини суппорта крепится електродвигатель з режущим инструментом на валу.

Управляется верстат дистанционно, посредством педали





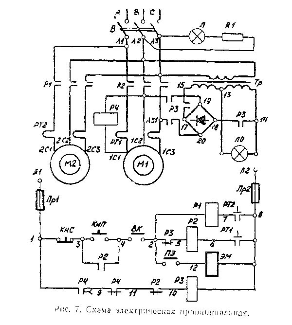
Схема електрична принципова торцовочного верстата ЦПА-40

Схема електрична торцовочного верстата ЦПА-40

Електрична схема торцовочного верстата ЦПА-40


Схема електрична принципова торцовочного верстата ЦПА-40

Електросхема верстата ЦПА-40 передбачає дистанционное керування електродвигунами верстата посредством кнопочной станції.

Подключение верстата к електросети производится включением автомата В.

Увімкнення електродвигателей Ml, M2 производится кнопкой КнП з помощью магнитных пускачів Р1 і Р2.

Остановка електродвигателей осуществляется кнопкой КнС, разрывающей ланцюг керування. Пускатели Р1 і Р2, отключаются, при етом нормально закрытый блок-контакт Р1 замыкается, срабатывает пускатель РЗ і на обмотки електродвигуна Ml подается постоянный ток — происходит динамическое торможение.

Через определенный промежуток часу електросхема обесточивается посредством реле часу — Р4.





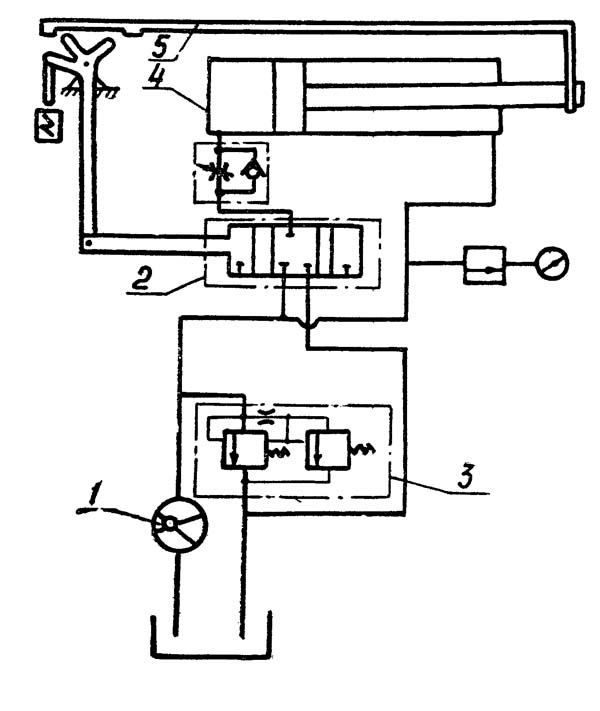
Схема гідравлічна принципова торцовочного верстата ЦПА-40

Схема гідравлічна торцовочного верстата ЦПА-40

Гідравлічна схема торцовочного верстата ЦПА-40


Схема гідравлічна торцовочного верстата ЦПА-40

Гідравлічна схема торцовочного верстата ЦПА-40


Гідропривід верстата состоит из следующих вузлів і механізмов:

  1. Лопастной насос Г12-33
  2. Золотник
  3. Предохранительный клапан Г52-23
  4. ГідроЦилиндр подачі суппорта
  5. Механізм керування

В процессе роботи верстата гідропривід обеспечивает три позиции (положения) суппорта: «рабочий ход», «обратный ход», «стоп».

Для получения робочого ходу, ногой нажимают на педаль керування. При етом золотник сообщает з насосом обе полости цилиндра одновременно. Вследствие разности создаваемых усилий, поршень движется в сторону штоковой полости — супорт совершает рабочий ход.

В кінці робочого ходу спеціальний упор (ограничитель) перемещает золотник в положение, при котором післядний сообщает бесштоковую полость цилиндра со сливом — супорт совершает обратный ход.

Подходя к исходному положению, супорт посредством ограничителя холостого ходу ставит золотник в среднее — нейтральное положение - слив из бесштоковой полости прекращается, супорт останавливается. Масло через сверление в золотнике свободно идет на слив.

Для повторения цикла необходимо снова нажать на педаль керування.





ЦПА-40 Верстат торцовочный круглопильный з прямолинейным движением суппорта. Відеоролик.




Технічні характеристики торцовочного верстата ЦПА-40

Наименование параметра ЦПА-40
Основні параметри верстата
Наибольшая ширина обрабатываемой заготовки, мм 400
Наибольшая высота пропила, мм 100
Диаметр дисковий пилы, мм 400
Угловая скорость пильного вала, рад/сек 303,5
Наибольшая высота подъема суппорта пилы, мм 100
Наибольшая скорость руху суппорта, м/сек 0,55
Расчетное рабочее давление в гідросистеме, н/м2 1,47 * 103
Время торможения пилы, с, не более 6
Електроустаткування верстата
Род тока питающей сети 380В 50Гц
Количество електродвигателей на станке, шт 2
Електродвигун пилы, кВт 3,2
Електродвигун гідронасоса, кВт 2,2
Габарит і масса верстата
Габарит верстата (длна х ширина х высота), мм 2300 х 790 х 1450
Масса верстата, кг 550

    Список литературы:

  1. Верстат торцовочный з прямолинейным движением суппорта ЦПА-40. Руководство по експлуатации, 1975

  2. Амалицкий В.В. Деревообрабатывающие верстати і инструменты, 2002
  3. Афанасьев А.Ф. Резьба по дереву, Техника, Инструменты, Изделия, 2014
  4. Бобиков П.Д. Мебель своими руками, 2004
  5. Борисов И.Б. Обработка дерева, 1999
  6. Джексон А., Дей Д. Библия работ по дереву, 2015
  7. Золотая книга работ по дереву для владельца загородного участка, 2015
  8. Ильяев М.Д. Резьба по дереву, Уроки мастера, 2015
  9. Комаров Г.А. Четырехсторонние продольно-фрезерные верстати для обробки древесины, 1983
  10. Кондратьев Ю.Н., Питухин А.В... Технология изделий из древесины, Конструирование изделий і расчет материалов, 2014
  11. Коротков В. И. Деревообрабатывающие верстати, 2007
  12. Лявданская О.А., Любчич В.А., Бастаева Г.Т. Основы деревообробки, 2011
  13. Любченко В.И. Рейсмусовые верстати для обробки древесины, 1983
  14. Манжос Ф.М. Дереворежущие верстати, 1974
  15. Расев А.И., Косарин А.А. Гідротермическая обработка і консервирование древесины, учебное пособие, 2010
  16. Рыженко В.И. Полная енциклопедия художественных работ по дереву, 2010
  17. Рыкунин С.Н., Кандалина Л.Н. Технология деревообробки, 2005
  18. Симонов М.Н., Торговников Г.И. Окорочные верстати, 1990
  19. Соловьев А.А., Коротков В.И. Наладка деревообрабатывающего оборудования, 1987
  20. Суханов В.Г. Круглопильные верстати для распиловки древесины, 1984
  21. Фокин С.В., Шпортько О.Н. Деревообработка, Технологии і обладнання, 2017
  22. Хилтон Билл Работы по дереву, Полное руководство по изготовлению стильной мебели для дома, 2017