metalinstryment.com
Довідник по металорізальних верстатів та пресовому обладнанні

СФ-676 Верстат фрезерный універсальний
Паспорт, руководство, схеми, опис, характеристики

Універсальный фрезерный верстат СФ-676







Відомості про виробника фрезерного універсального верстата СФ-676

Верстат фрезерный універсальний СФ-676 выпускался заводом Сельмаш https://selmash.group/ г. Киров з 70 х годов прошлого века.

С 2012 года серийное производство фрезерного верстата СФ-676 освоено компанией Вятский Станкостроительный Завод, ООО, сайт: http://vsp-kirov.ru/.






СФ-676 Верстат фрезерный широкоуніверсальний. Назначение і область применения

Широкоуніверсальний фрезерный верстат СФ-676 был разработан Одесским Специальным Конструкторским Бюро Прецизионных Станков (СКБ ПС) при Одесском Заводе Фрезерных Станков им. Кирова (ОЗФС), которое было назначено головным в разработке координатно-расточных і широкоуниверсальных фрезерных верстатів.

Фрезерный верстат СФ-676 предназначен для фрезерування деталей цилиндрическими, дисковыми і фасонными фрезами при помощи горизонтального шпинделя, і торцовыми, кінцівыми і шпоночными фрезами при помощи вертикального поворотного шпинделя.

На станке можно выполнять, также, сверление і рассверливание, центрование, цекование, зенкерование, развертывание, растачивание.

Дополнительная оснастка і приспособления, предлагаемые производителем верстата, позволяют помимо фрезерування выполнять, также, долбление, нарезание різьби і другие операции.

Універсальный фрезерный верстат СФ676 наиболее предпочтительно использовать в инструментальных цехах машиностроительных заводов или мастерских для изготовления небольших пристосувань, инструмента, рельефных штампов і прочих изделий.

Принцип роботи і особливості конструкції верстата

Фрезерный верстат СФ-676 имеет два шпинделя - горизонтальный і вертикальний (поворотный), которые позволяют обрабатывать сложную заготовку без її переустановки на рабочем столе, что существенно повышает производительность.

На станке СФ676 можно выполнять ряд фрезерных і расточных работ з високою точностью, которая може быть достигнута, если верстат установлен в помещении з постоянной температурой 20±2°С і влажностью 65±5%, если вблизи верстата нет источников тепла і вибрации.

Широкий диапазон оборотів шпинделя і подач, наличие механических подач і быстрых перемещений обеспечивают економичную обработку различных деталей в оптимальных режимах.

Горизонтальный і вертикальний шпиндели находятся в шпиндельной бабке і соединены друг з другом зубчатой передачей.

Шпиндельная бабка смонтирована на горизонтальных направляючих і осуществляет поперечную подачу на станке. Поперечная подача шпиндельной бабки може производится от двигуна через коробку подач (16 подач от 13 до 395 мм/мин) или вручную от маховика.

Коробка швидкостей сообщает горизонтальному і вертикальному шпинделям 16 различных швидкостей обертання (50-1630 і 63..2040 об/мин соответственно).

Класс точності верстата Н.

Особливості конструкції універсального фрезерного верстата СФ-676


Модифікації і обозначения універсального фрезерного верстата СФ-676 (ТУ-3816-001-67559892) ООО "ВСЗ"





СФ-676 Габаритные розміри робочого простору фрезерного верстата

Габаритные розміри робочого простору фрезерного верстата СФ676

Габаритные розміри робочого простору фрезерного верстата СФ-676


СФ-676 Посадочные і присоединительные базы фрезерного верстата

Посадочные і присоединительные базы верстата СФ676

Посадочные і присоединительные базы фрезерного верстата СФ-676


СФ-676 Загальний вигляд широкоуніверсального фрезерного верстата

Фото універсального фрезерного верстата СФ-676

Фото універсального фрезерного верстата СФ-676 производства ВСЗ



Фото універсального фрезерного верстата СФ-676

Фото універсального фрезерного верстата СФ-676 производства ВСЗ

Фото універсального фрезерного верстата СФ-676. Дивитись у збільшеному масштабі



СФ-676 Загальний вигляд  широкоуніверсального фрезерного верстата

Фото фрезерного верстата СФ-676


Фото універсального фрезерного верстата СФ-676

Фото універсального фрезерного верстата СФ-676

Фото універсального фрезерного верстата СФ-676. Дивитись у збільшеному масштабі



СФ-676 Загальний вигляд  широкоуніверсального фрезерного верстата

Фото фрезерного верстата СФ-676


СФ-676 Загальний вигляд  широкоуніверсального фрезерного верстата

Фото фрезерного верстата СФ-676 з УЦИ


СФ-676 Загальний вигляд  широкоуніверсального фрезерного верстата

Фото фрезерного верстата СФ-676 горизонтальный шпиндель


СФ-676 Маслостанція фрезерного верстата СФ-676

Маслостанція фрезерного верстата СФ-676


Розташування органів керування консольно-фрезерным верстатом СФ-676

Розташування органів керування консольно-фрезерным верстатом СФ-676

Розташування органів керування фрезерным верстатом СФ-676

Розташування органів керування фрезерным верстатом СФ-676. Дивитись у збільшеному масштабі



Список органів керування консольно-фрезерным верстатом СФ-676

  1. Выключатель електронасоса
  2. Выключатель сети
  3. Упоры отключения механической вертикальной подачі
  4. Маховик ручного переміщення стола в вертикальном направлении
  5. Маховик ручного переміщення стола в горизонтальном направлении
  6. Рукоятка ускоренного ходу суппорта і шпиндельной бабки
  7. Рукоятка увімкнення горизонтальной і вертикальной механической подачі стола
  8. Диск набора швидкостей
  9. Рукоятка ручной подачі вертикального шпинделя
  10. Винты зажиму хобота шпиндельной бабки і хобота вертикального шпинделя
  11. Квадрат зажиму инструмента в горизонтальном шпинделе
  12. Рукоятка зажиму трубки охлаждения
  13. Выключатель освещения
  14. Упоры отключения механической поперечної подачі
  15. Маховик ручного обертання шпинделя
  16. Кнопки керування "пуск" і "стоп"
  17. Рукоятки увімкнення швидкостей
  18. Рукоятка увімкнення подач
  19. Диск набора подач
  20. Реверсирование двигуна
  21. Упоры отклонения механической поздовжньої подачі
  22. Рукоятка зажиму стола в горизонтальном направлении
  23. Рукоятка зажиму гильзы вертикального шпинделя
  24. Рукоятка зажиму суппорта в вертикальном направлении
  25. Маховик ручной подачі шпиндельной бабки
  26. Рукоятка зажиму шпиндельной бабки
  27. Установка вертикальной головки в нулевое положение
  28. Рукоятка увімкнення механической подачі шпиндельной бабки
  29. Упор величины переміщення вертикального шпинделя
  30. Квадрат зажиму конуса инструмента в вертикальном шпинделе

Список складових частин широкоуніверсального фрезерного верстата СФ-676

Дополнительная спецификация широкоуніверсального фрезерного верстата СФ-676




Схема кінематична фрезерного верстата СФ-676

Схема кінематична фрезерного верстата СФ-676

Кінематична схема фрезерного верстата СФ-676

Схема кінематична фрезерного верстата СФ-676. Дивитись у збільшеному масштабі

Схема розположення підшибників на фрезерном станке СФ-676. Дивитись у збільшеному масштабі



Графічні символы на табличках фрезерного верстата СФ-676

Графічні символы на табличках фрезерного верстата СФ-676

Графічні символы на табличках фрезерного верстата СФ-676. Дивитись у збільшеному масштабі



Опис конструкції широкоуніверсального фрезерного верстата СФ-676 і его приладдя

Універсальный фрезерный верстат СФ676 состоит из основних вузлів (перечень ниже), органически определяющих его конструкцию, і ряда съемных вузлів і приладдя, благодаря которым значительно расширяются его експлуатационные возможности

На чугунном основании закреплена станина, на которой монтируется все основні вузли верстата.

На боковой стороне станины установлены коробки швидкостей і коробка подач.

В верхней частини станины, по горизонтальным направляющим, перемещается бабка з горизонтальным шпинделем. К переднему торцу бабки, при надобности, крепят головку вертикального шпинделя.

По вертикальным направляющим станины перемещается суппорт, а по горизонтальным направляющим суппорта - стол.

К вертикальной (базовой) плоскости стола крепят угловой горизонтальный стол, который служит для установки і крепления обрабатываемых изделий.

Електродвигун приводу ланцюги головного руху і ланцюги подачі помещен в основании. Охлаждающая жидкость подается електронасосом, установленным на основании, которое одновременно используется как резервуар.

Электроаппаратура размещена под крышками в станине.

Коробка швидкостей верстата СФ-676

Коробка швидкостей верстата СФ-676

Коробка швидкостей верстата СФ-676

Коробка швидкостей верстата СФ-676. Дивитись у збільшеному масштабі



Коробка швидкостей шестеренчатого типа собрана в спеціальний корпус, который крепят фланцем к боковой стороне станицы, сообщает горизонтальному і вертикальному шпинделям 16 различных швидкостей путем селективного набора.

Изменение швидкостей производится механізмом переключения, размещенным на передньої стенке корпуса коробки, следующим образом: рукоятку переключения швидкостей (4) нужно поднять вверх. При етом разводятся диски (6), имеющие ряд отверстий. При повороте диска набора швидкостей (1) і связанных з ним дисков изменяется положение отверстий дисков относительно пальцев (7). Этим самым производится подготовка для переключения швидкостей.

Рух рукоятки переключения вниз диски снова сводятся в первоначальное положение. При етом пальцы, перемещаясь, переводят при помощи рычагов переводные шестерни коробки швидкостей.

При переключении возможны случаи совпадения торцов зубьев зацепляемых шестерен. При етом диски не сводятся. В етом случае необходимо провернуть маховиком вал 1 (см. рис. 6).

Во избежание поломки шестерен переключение швидкостей под нагрузкой запрещается.

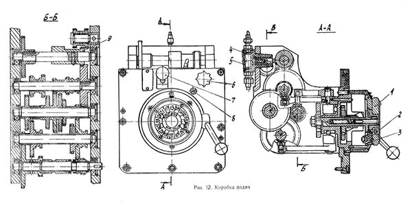
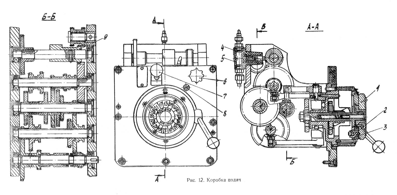
Коробка подач фрезерного верстата СФ-676

Коробка подач фрезерного верстата СФ-676

Коробка подач фрезерного верстата СФ-676

Коробка подач фрезерного верстата СФ-676. Дивитись у збільшеному масштабі



Коробка подач сообщает суппорту і шпиндельной бабке 16 различных подач і ускоренные переміщення.

Валы коробки подач получают вращение от 1 вала коробки швидкостей (см. рис. 6). Последний (ведомый) вал коробки передач связан з валиком, на котором размещены две звездочки (10, 11) (см. рис, 10), передающие рух механізмам суппорта і шпиндельной бабки.

Изменение подач производится таким же образом, как і изменение в коробке швидкостей (см. опис механізма набора швидкостей в узле «Коробка швидкостей»).

При переключении подач необходимо следить за тем, чтобы крестовая рукоятка суппорта находилась в нейтральном положении.

Ускоренное перемещение осуществляется при нажатии рукоятки (7). При отпущенной рукоятке продолжается рабочая подача.

Для осуществления постоянного направления обертання шестерен коробки подач при реверсе коробки швидкостей служит шестерня (9), автоматически сохраняющая направления обертання.

Для змазки шестерен коробки швидкостей, коробки подач і шпиндельной бабки служит поршневой насос (5). Поршень (4) насоса приводится в возвратно - поступательное рух от ексцентрика шестерни (9). При возвратно-поступательном движении поршня насоса происходит всасывание масла из резервуара станины і его разбрызгивание. Создается масляный туман, который і смазывает все шестерни. Для наблюдения за работой насоса на фланце коробки подач установлен прозрачный глазок (6), в котором видно пульсирование масла.

Суппорт фрезерного верстата СФ-676

Суппорт несет основной стол (9) верстата з вертикальной рабочей плоскостью і перемещает его в вертикальном і горизонтальном направлениях.

Суппорт состоит из корпуса (5), имеющего вертикальные направляющие в виде "ласточкиного хвоста"

Перемещаясь по направляющим станины, супорт осуществляет вертикальную подачу стола. Продольная подача производится движением стола по горизонтальным направляющим суппорта.

В корпусе суппорта расположен механізм керування подачей стола. Механізм керування приводится во вращение ходовым валом (4), получающим вращение от коробки подач, і передает вращение на вертикальний (3) і горизонтальный (12) ходовые винты.

Шпиндельная бабка фрезерного верстата СФ-676

Шпиндельная бабка фрезерного верстата СФ-676

Шпиндельная бабка фрезерного верстата СФ-676

Шпиндельная бабка фрезерного верстата СФ-676. Дивитись у збільшеному масштабі



Горизонтальный шпиндель (1) монтируется в спеціальний корпус (12), который перемещается по направляющим станины, осуществляя тем самым поперечную подачу верстата.

Шпиндель получает вращение от коробки швидкостей через промежуточную барабанную шестерню (18), (см. рис. 11), смонтированную в станине і шестерню (9), сидящую на шпинделе.

Верхние направляющие шпиндельной бабки предназначены для крепления вертикальной головки (рис. 15) і хобота (11). На хоботе крепится серьга (17) для поддержки оправок. Зажим вертикальной головки, хобота і серьги осуществляется сухарями при завинчивании винтов (10) (см. рис. 5) з внутренним шестигранником.

Передней опорой горизонтального шпинделя является двухрядный роликовый подшипник (4) з коническим отверстием. Осевые нагрузки воспринимаются упорными шарикопідшибниківыми (5). Средняя і задня опори горизонтального шпинделя - радиальные шарикопідшипники (8,10), служащие одновременно опорами шестерни (9).

Зажим инструмента в горизонтальном шпинделе производится шомполом (13).

Величина механического переміщення шпиндельной бабки устанавливается промежуточными упорами (16).

Перемещение шпиндельной бабки производится жестко связанным з ней винтом (14) і вращающейся гайкой (17) (см. рис. 10), укрепленной в станине.

Конструкція верстата обеспечивает возможность точных перемещений бабки для координатно-расточных работ. Для етого на бабке установлен индикатородержатель (18), а к станине прикреплен плиткодержатель, на который устанавливают плиткопараллельные мерные плитки.

Підшипники горизонтального шпинделя

Горизонтальный шпиндель верстата СФ-676 смонтирован на 5-и підшипниках:


Регулювання горизонтального шпинделя

Шпиндельная бабка (см. рис. 14). Радиальный зазор в передньої опоре горизонтального шпинделя устанавливается з помощью гайки (7). При етом необходимо снять фланец (2) і компенсационное кольцо (3). Радиальный зазор выбирается распиранием внутреннего кольца підшипника конусом шпинделя. Это достигается осевым переміщенням підшипника относительно шпинделя. После регулировки радиального зазору измеряют расстояние между буртом шпинделя і торцем кольца радиального підшипника і шлифуют компенсационное кольцо до получения етого размера. Высоту компенсационного кольца можно определить по формуле:

В=С-16Δ,

где С - расстояние от бурта шпинделя до торца кольца підшипника в мм,

Δ - фактический диаметральный зазор, підшипника в мм. Радиальный зазор в переднем подшипнике нужно отрегулировать в пределах 0..0,005 мм. Затем собирают компенсационное кольцо і фланец.

Регулювання осьового зазору шпинделя производится гайкой (6). Для етого нужно снять пружинное кольцо з наружного диаметра гайки і «слабить два гвинта. После достижения необходимого осьового зазору, если нужно подрезать торец фланца (2) і поставить его на место. Затем гайку (6) стопорят гвинтами і надевают пружинное кольцо.

Нормально отрегулированные підшипники передньої опори должны вращаться бесшумно при 50..325 об/мин, і з легким шуршащим звуком при 410..1630 об/мин. Появление писка не допускается.


Головка вертикальная фрезерного верстата СФ-676

Головка вертикальная фрезерного верстата СФ-676

Головка вертикальная фрезерного верстата СФ-676

Головка вертикальная фрезерного верстата СФ-676. Дивитись у збільшеному масштабі



Вертикальный шпиндель смонтирован в специальной головке з хоботом для крепления в верхних направляючих шпиндельной бабки. Головка при необходимости може быть повернута на планшайбе хобота (18) на ±90° от вертикали. Установка на нуль в вертикальное положение фиксируется двумя коническими штифтами з рукояткой. Зажим головки на планшайбе хобота производится болтами з внутренним шестигранником.

Вертикальный шпиндель (23) смонтирован в гильзе (5), которая при помощи реечного валика (24) перемещается в корпусе (6) вручную.

Зажим гильзы осуществляется рукояткой-звездочкой (25), имеющей для более надежного зажиму шестигранник.

Вес шпинделя уравновешивается спиральной пластинчатой пружиной, один конец которой соединен з реечным валиком, другой - з корпусом вертикальной головки.

Конические шестерни головки имеют опори из сдвоенных радиальных підшибників (10,17). Вращение хвостовику шпинделя от вертикальной конической шестерни (9) передається шлицами. Горизонтальная коническая шестерня (19) получает вращение через шлицы от горизонтального вала (20).

Нижня опора вертикального шпинделя - двухрядный роликовый подшипник (3) з коническим отверстием.

Верхня опора вертикального шпинделя - два радиально упорных підшипника (7), воспринимающих также осевые нагрузки.

Смазка вертикальной головки производится ежедневно з помощью шариковых пресс-масленок (8,11). Предохранением от утечки змазки і загрязнения служат лабиринтные уплотнения (1,13).

Підшипники вертикального шпинделя

Шпиндель вертикальной головки верстата СФ-676 смонтирован на 5-и підшипниках:

Регулювання вертикального шпинделя

Головка вертикальная (см. рис. 15). Радиальный зазор нижней опори шпинделя (23) регулируется при помощи гайки (4). В том случае, когда затяжкой гаек невозможно достигнуть требуемого радиального зазору, следует уменьшить толщину компенсационного кольца (2).

В основном же принцип регулировки радиального зазору нижней опори шпинделя похож на регулировку радиального зазору в горизонтальном шпинделе.

Осевой зазор верхней опори шпинделя регулируется гайкой (15). В случае надобности, как і в нижней опоре, нужно изменить толщину компенсационных колец (16).


Стол угловой горизонтальный універсального верстата СФ-676

Угловой горизонтальный стол представляет собой чугунную отливку і крепится к вертикальной поверхности основного стола болтами.

Горизонтальная плоскость стола имеет три Т- образных паза.


Тиски

Тиски прилагаются к верстату для крепления деталей, имеют поворот 360° в горизонтальной плоскости. Тиски могут устанавливаются как на вертикальной поверхности стола, так і на горизонтальной, а также на круглом столе.


Стол круглый

Стол поворотный круглый з ручным приводом предназначен для установки і закрепления деталей при их обработке. Стол може устанавливаться как на вертикальной поверхности основного стола, так і на горизонтальной поверхности стола.


Головка долбежная к верстату СФ676

Долбяк (3) долбежной головки смонтирован в специальном корпусе (5) з хоботом (9) для крепления в верхних направляючих шпиндельной бабки.

Хобот взаимозаменяем і служит для монтажа в вертикальном положении как вертикальной, так і долбежной головок





Регулювання фрезерного верстата СФ676

В процессе роботи некоторые детали верстата постепенно изнашиваются, і его нормальная робота нарушается.

Конструкцией верстата предусмотрена возможность регулировки его вузлів по мере износа деталей.

Коробка швидкостей (см. рис.11). Четкость роботи микропереключателей (8) обеспечивается его регулировкой. Для чего необходимо снять крышку (5), отвернуть винт (9) і повернуть планку до щелчка микропереключателя, після етого винт (9) натуго завернуть. Регулювання микропереключателя производится при включенной скорости. Четкость переключения диска набора швидкостей (1) достигается регулировкой пружины (2) фиксатора (3).

Коробка подач (см. рис. 12). Четкость переключения диска набора подач (1) достигается регулировкой пружины (2) фиксатора (3).

Четкость увімкнення ускоренной подачі достигается регулировкой пружины рычага переключения при помощи гвинта (8).

В случае ненормальной роботи насоса (отсутствие масла) необходимо проверить работу его клапанов. Для етого нужно снять крышку на станине, вывинтить клапаны, прочистить их і проверить его работу. Чтобы насос работал нормально, нужно периодически промывать фильтр і доливать масло до необходимого уровня.

Суппорт (см. рис. 13). Осевой зазор между витками ходовой частини (11) і гвинта (12) продольного ходу стола (9) регулируется поворотом гайки (10). Для етого снимают крышку (8) і перемещают стол до совпадения гайки з окном в суппорте, снимают фиксатор і при помощи специального ключа поворачивают гайку до получения необходимого зазору. После етого гайка снова стопорится фиксатором.

Зазор в продольных направляючих суппорта регулируется при помощи конусного клина (6). Положение клина определяется винтом (1) і втулкой (2). При регулировке зазору ослабить винт і снять втулку. После етого затягивают винт до получения требуемого зазору, замеряют расстояние между торцами гвинта суппорта і шлифуют втулку до етого размера. После шлифовки втулку ставят на свое место і затягивают винтом.

При регулировке зазору в вертикальних направляючих необходимо поднять супорт в верхнее положение і снять кожух, закрывающий ходовой вал (4) і ходовой винт (3). Регулировать зазор нужно таким же способом, как описано выше.

Четкость фиксации крестовой рукоятки (17) при включении вертикальной подачі достигается регулировкой пружины (24) фиксатора (23), а при включении поздовжньої подачі - регулировкой через винт (18).

Усилие зажиму продольного переміщення стола регулируется переміщенням втулки (21) вместе з ексцентриком (20) вдоль оси конического отверстия зажиму (19). Добившись нулевого зазору между концом ексцентрика і стенкой конического отверстия-зажиму втулки засверлить і застопорить снова винтом. Зажим производится рукояткой (22).

Зажим вертикального переміщення стола производится рукояткой (24) через винт і штырь зажиму (см. рис.5).

Станина (см. рис. 10). Высота пальцев, выключающих механическую подачу шпиндельной бабки, регулируется гвинтами і фиксируется гайками. Для регулировки пальцы необходимо вынуть из корпуса. Четкость фиксации рукоятки механической подачі і муфты (15) обеспечивается регулировкой пружины фиксатора.

Натяжка ремней производится з помощью кронштейна (2), опускающегося при отжатых гвинтах крепления. После достижения необходимого натяга ремней, кронштейн прижимается к основанию болтами (3). Для натяжки ланцюгів і регулировки предохранительной муфты (8) нужно снять задний кожух (5) станины. При етом предварительно снимают маховик (12). Регулювання натяга ланцюгів производится з помощью натяжных, звездочек (6,13), закрепленных на планках. После регулировки планки плотно закрепляют гвинтами (7).

Усилие пружины предохранительной муфты (8) регулируется гайками (9). Муфта должна срабатывать, когда на столе возникает усилие різання 500..650 кг. Это соответствует усилию 12..15 кг на маховике продольного ходу стола.

Регулювання зацепления конических шестерен производится компенсационными кольцами (14), (21), которые по необходимости нужно подшлифовать. Наблюдение за качеством регулювання конических шестерен (полное зацепление) производится через отверстие корпуса (6).

Головка долбежная (см. рис. 16). Регулювання бокового зазору долбяка направляючих корпуса (5) производится гвинтами на правой стороне головки.


Особливості разборки і сборки при ремонтi

Периодически, в соответствии з графиком плановопредупредительных ремонтов, верстат необходимо разбирать для текущего, среднего і капитального ремонтов в следующем порядке:

а) отключить верстат от електросети;

б) снять принадлежности (вертикальную головку, стол і другое);

в) снять хобот шпиндельной бабки;

г) вывести шпиндельную бабку из своих направляючих, для чего:

- снятьупоры (16) (см. рис. 14),

- снять болты і конические штифты, крепления кронштейна і гвинта (14),

- освободить клин в станине і движением вперед вывести бабку из направляючих;

д) снять маховик (12) (см. рис. 10), а затем задний кожух (5), приводные клиновые ремни, ланцюги, освободив для етого натяжные звездочки (6,13);

е) произвести демонтаж вала приводу коробки швидкостей, создавая етим возможность для свободного снятия коробки швидкостей, а затем вала, связанного з коробкой подач;

ж) извлечь из станины коробку швидкостей, предварительно сняв винты і штифты крепления фланца коробки;

з) снять крышку на станине со стороны, противоположной стороне крепления коробки подач, отделить насос от корпуса коробки, а затем, освободив крепежные винты і штифты, вынуть коробку подач;

и) разобрать основной рабочий стол (см. рис. 13), для чего:

- освободить приставные опори гвинта;

- вывернуть винт из ходовой гайки;

- освободить клин;

- вывести рабочий стол из горизонтальных направляючих суппорта;

к) снять супорт со станины освободив клин вращением маховика(15), поднять супорт вверх до выхода гвинта (3) из ходовой гайки. Суппорт снимается со станины подъемником.

Вузли системы охлаждения і електроустаткування снимаются по мере надобности.

Дальнейшую разборку вузлів следует производить по чертежам общих видов вузлів, приведенным в руководстве.

Разобранные детали следует тщательно промыть керосином или уайт-спиритом і насухо протереть. На вращающихся втулках необходимо сделать метки, определяющие их положение до разборки. Это обеспечит их соосность.

Сборку після ремонта производить в порядке, обратном разборке.

При сборке следует обратить внимание на регулировку підшибників качения (избегать излишних натягов, способных вызвать перегрев підшибників). При капитальных ремонтах: шлифовании или шабровке направляючих нужно помнить, что правильное положение ходовых винтов определяется компенсаторами, толщина которых устанавливается в процессе сборки.


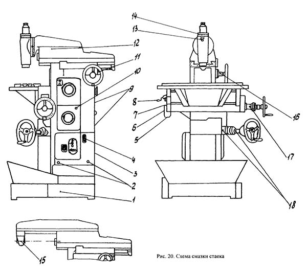
Смазка фрезерного верстата СФ-676

Схема змазки фрезерного верстата СФ-676

Схема змазки фрезерного верстата СФ-676

Схема змазки фрезерного верстата СФ-676. Дивитись у збільшеному масштабі



Перед пуском верстата необходимо:

Залить масло в резервуар насоса принудительной змазки до верхней риски маслоуказателя (4). Заливка масла производится через проем в корпусе (12) шпиндельной бабки при отодвинутом хоботе.

Контроль роботи насоса осуществляется через глазок (10), находящийся на коробке подач. Для слива масла служит пробка (3). Если насос не работает, что определяется отсутствием масла в глазке, открыть нагнетательный клапан і проверить наличие масла. При отсутствии масла в корпусе маслонасоса залить его.

Залить масло в резервуар (6) смазочной станції суппорта. Путем качания рукоятки (8) станції (не более 5 качков) смазать механізм суппорта, но предварительно перед експлуатацией верстата заполнить трубопроводы смазочной станції суппорта маслом путем качания рукоятки (8) станції не менее 20 качков.

Смазку производить только в крайнем левом положении углового горизонтального стола (или салазок).

В процессе експлуатации верстата необходимо следить за тем, чтобы смазка верстата производилась в сроки, указанные в спецификации к схеме змазки. Один раз в 3 месяца масло следует менять.

Масло, залитое в смазочные места, не должно содержать грязи і посторонних примесей, должно быть отфильтровано от посторонних частиниц з абсолютным размером более 40 мкм. За уровнем масла необходимо следить за маслоуказателем. Для змазки всего верстата і его приладдя применять масло Индустриальное И-30А і смазку ЦИАТИМ-201. Смазкой ЦИАТИМ-201 смазывают підшипники і трущиеся поверхности верстата через пресс-масленки при помощи ручного шприца.

Цапфы кривошипно-шатунного механізма долбежной головки смазываются автоматически. Направляющие доски смазывать через масленку. Густую смазку ЦИАТИМ-201 закладывать периодически в підшипники.





Технічні характеристики підшипника № 4-3182112

Подшипник 3182112 - ето двухрядный роликовый радиальный подшипник, з короткими цилиндрическими роликами, з безбортовым наружным кольцом (вследствие чего комплект тел качения на сепараторе способен перемещаться і создавать «плавающую» опору), з коническим посадочным отверстием (1:12), канавкой і отверстиями для внесения смазочного материала. Основное место експлуатации таких підшибників — верстати различного применения, вузли где действуют высокие радиальные нагрузки і скорости. Этот типоразмер, как і большинство роликопідшибників етой серии производится в настоящее время только высокоточным.

Подшипник всегда выпускался на московском заводе ГПЗ-1, сейчас же его производство переводят в Волжский, на филиал Завода Авиационных Подшипников при 15 ГПЗ (все заводы объединены под егидой Европейской Подшипниковой Корпорации). Изготавливается несколько модификаций, отличающихся по классу точності і материалу сепаратора. Буква К означает наличие кольцевой проточки і трех отверстий для внесения змазки, Е — полиамидный сепаратор. Купить підшипники з гарантией качества можно только у официальных представителей ЕПК, которые есть во многих регионах страны, поскольку в подавляющем большинстве других фирм реализуют неликвидные вироби, которые могут работать і хорошо, но чаще нет. Ориентировочная цена новых заводских изделий составляет до 3800 рублей.

Импортные підшипники етого типоразмера имеют обозначение NN3012K (наличие буквы К в номере обязательно, так как она указывает на коническую посадку). В Россию поставляется продукция разной ценовой категории: наиболее дорогие і надежные — FAG, SKF, подешевле — NACHI і NSK. Еще более дешевый варіант — продукция восточно-европейских производителей — ZKL і FLT, которая чаще всего реализуется неликвидного качества, иногда даже уже бывшая в употреблении, производства 80-ых годов прошлого века. Ориентировочная цена наиболее качественных і дорогих импортных підшибників етого типа составляет около 280 евро, они как есть на складах компаний, так і поставляются под заказ.

Розміри і характеристики підшипника 3182112 (NN3012K)

Схема підшипника 3182112

Схема підшипника 3182112 фрезерного верстата СФ-676


Фото підшипника 3182112

Фото підшипника 3182112 фрезерного верстата СФ-676


Технічні характеристики підшипника № 3182110

Подшипник 3182110 - ето двухрядный роликовый радиальный подшипник, з короткими цилиндрическими роликами, з безбортовым наружным кольцом (вследствие чего комплект тел качения на сепараторе способен перемещаться і создавать «плавающую» опору), з коническим посадочным отверстием (1:12), канавкой і отверстиями для внесения смазочного материала. Основное место експлуатации таких підшибників — верстати различного применения, вузли где действуют высокие радиальные нагрузки і скорости. Этот типоразмер, как і большинство роликопідшибників етой серии производится в настоящее время только высокоточным.

Подшипник всегда выпускался на московском заводе ГПЗ-1, сейчас же его производство переводят в Волжский, на филиал Завода Авиационных Подшипников при 15 ГПЗ (все заводы объединены под егидой Европейской Подшипниковой Корпорации). Изготавливается две модификации — 4-3182110К і 2-3182110К. Буква К означает наличие кольцевой проточки і трех отверстий для внесения змазки. Произведенные в прошлом підшипники часто имеют дополнительное обозначение Л (латунный сепаратор). Покупать підшипники з гарантией качества следует у официальных представителей ЕПК, которые есть во многих регионах страны. Ориентировочная цена новых заводских изделий — около 3400 рублей, однако редкий представитель держит их на складе. Оперативно из наличия в основном можно купить только підшипники з хранения, неликвиды, бывшие в употреблении в фирмах соответствующего профиля.

Импортные підшипники етого типоразмера имеют обозначение NN3010K (наличие буквы К в номере обязательно, так как она указывает на коническую посадку). В Россию поставляется продукция разной ценовой категории: наиболее дорогие і надежные — FAG, SKF, KOYO, IBC, подешевле — NACHI і NSK. Еще более дешевый варіант — продукция восточно-европейских производителей — ZKL і FLT, которая чаще всего реализуется неликвидного качества, иногда даже уже бывшая в употреблении. Ориентировочная цена наиболее качественных і дорогих підшибників етого типа составляет около 270 — 280 евродолларов.

Розміри і характеристики підшипника 3182110 (NN3010K)

Схема підшипника 3182110 (NN3010K)

Схема підшипника 3182110 (NN3010K) токарного верстата ТВ-7





СФ-676 Верстат фрезерный широкоуніверсальний. Відеоролик.




Технічні характеристики фрезерного верстата СФ-676

Наименование параметра СФ676 680 680-М
Основні параметри верстата
Класс точності по ГОСТ 8-82 Н Н Н
Розміри горизонтального (углового) стола, мм 250 х 800 225 х 750 225 х 750
Розміри вертикального стола, мм 250 х 630
Максимальная масса обрабатываемой детали, кг 100
Расстояние от оси горизонтального шпинделя до рабочей поверхности горизонтального стола, мм 80..460 15..315 30..300
Расстояние от торца вертикального шпинделя до рабочей поверхности горизонтального стола, мм 0..350
Наибольший вылет оси вертикального шпинделя, мм 125..375
Наибольшее расстояние от оси шринделя до хобота, мм 125 125
Наибольшее расстояние от торца шринделя до підшипника подвески, мм 330 330
Наибольший продольный ход стола (X), мм 450 450 450
Наибольший ход шпиндельной бабки (Y), мм 300
Наибольший поперечний ход стола (при снятой стойке) (Y), мм 150 150
Наибольший вертикальний ход стола (Z), мм 380 300 300
Цена деления лимбов, мм 0,05
Горизонтальный шпиндель верстата
Частота обертання горизонтального шпинделя, об/мин (число ступеней) 50..1630 (16) 47,5..530 (8) 47,5..530 (8
Частота обертання вертикального шпинделя, об/мин (число ступеней) 63..2040 (16)
Количество швидкостей шпинделей 16 8 8
Наибольшее осевое перемещение вертикального шпинделя, мм 80
Наибольший угол поворота вертикальной головки в вертикальной плоскости, градус ±90°
Конус горизонтального і вертикального шпинделей 40АТ5
Морзе 4
Пределы подач шпиндельной бабки, мм/мин (число ступеней) 13..395 (16)
Количество подач шпиндельной бабки 16
Наибольшее усилие різання, допускаемое/ предельное механізмом подач, Н 5500/ 6000
Допустимое значение осевой составляющей силы різання, действующей на вертикальний шпиндель, не более, Н 1300
Стол
Пределы продольных подач стола (X), мм/мин 13..395 16..475 (16) 16..475 (16)
Пределы вертикальних подач стола (Z), мм/мин 13..395 16..475
Пределы поперечных подач стола (Y), мм/мин 13..395 15..468
Ускоренный ход стола, мм/мин 935
Електроустаткування і привід верстата
Напряжение силовой ланцюги ~ 380 В 50 Гц ~ 380 В 50 Гц ~ 380 В 50 Гц
Напряжение ланцюги освещения ~ 24 В 50 Гц
Мощность двигуна головного привода, кВт (об/мин) 3 (1500) 3,14 (1430) 3,14 (1430)
Мощность двигуна електронасоса СОЖ, кВт (об/мин) 0,12 (2800)
Суммарная мощность електродвигателей, кВт 3,12
Габарит і масса верстата
Габарити верстата (длина х ширина х высота), мм 1200
1240
1780
1280 х 1330 1280 х 1330
Масса верстата, кг 1050 800 800


    Список литературы:

  1. Верстат специализированный фрезерный СФ 676. Руководство по устройству і експлуатации. Сельмаш, 1980 год
  2. Верстат специализированный фрезерный СФ 676. Руководство по устройству і експлуатации. ФГУП Сельмаш, 2001 год
  3. Инструкция по уходу і обслуговування универсально-фрезерного верстата типа 680 і горизонтально-фрезерного верстата типа 680-М. ГЗФС им. Л.М. Кагановича, 1937

  4. Аврутин С.В. Основы фрезерного дела, 1962
  5. Аврутин С.В. Фрезерне дело, 1963
  6. Ачеркан Н.С. Металлорежущие верстати, Том 1, 1965
  7. Барбашов Ф.А. Фрезерне дело 1973, с.141
  8. Барбашов Ф.А. Фрезерные роботи (Профтехобразование), 1986
  9. Блюмберг В.А. Справочник фрезеровщика, 1984
  10. Григорьев С.П. Практика координатно-расточных і фрезерных работ, 1980
  11. Копылов Р.Б. Работа на фрезерных верстатах,1971
  12. Косовский В.Л. Справочник молодого фрезеровщика, 1992, с.180
  13. Кувшинский В.В. Фрезерование,1977
  14. Ничков А.Г. Фрезерные верстати (Библиотека станочника), 1977
  15. Пикус М.Ю. Справочник слесаря по ремонту металлорежущих верстатів, 1987
  16. Плотицын В.Г. Расчёты настроек і наладок фрезерных верстатів, 1969
  17. Плотицын В.Г. Наладка фрезерных верстатів,1975
  18. Рябов С.А. Современные фрезерные верстати і их оснастка, 2006
  19. Схиртладзе А.Г., Новиков В.Ю. Технологическое обладнання машиностроительных производств, 1980
  20. Тепинкичиев В.К. Металлорежущие верстати, 1973
  21. Чернов Н.Н. Металлорежущие верстати, 1988
  22. Френкель С.Ш. Справочник молодого фрезеровщика (3-е изд.) (Профтехобразование), 1978






СФ-676 Паспорт широкоуніверсального консольно-фрезерного верстата, (djvu) 1,1 Мб, Скачать




Заказать