metalinstryment.com
Довідник по металорізальних верстатів та пресовому обладнанні

5М14 Верстат зубодолбежный вертикальний напівавтомат
схеми, опис, характеристики

5М14 Загальний вигляд  зубодолбежного верстата







Производитель вертикального зубодолбежного напівавтомату 5М14 Харьковский завод агрегатных верстатів, ХЗАС.






5М14 Верстат зубодолбежный вертикальний механический універсальний напівавтомат. Назначение і область применения

Зубодолбежный напівавтомат 5М14 является представителем гаммы зубодолбежных верстатів 5121, 5122 і 5140, разработанных в ЭНИМС в начале семидесятых.

Жесткая стойка соединена со станиной, по горизонтальным направляющим которой перемещается стол, несущий нарезаемое колесо. В суппорте расположен долбяк, совершающий возвратно-поступательное рух і отскок при обратном ходе на величину 0,45 мм. В верстатах 5А12, 5В12, 5М12 такой отскок совершает деталь.


Універсальный механический зубодолбежный верстат напівавтомат 5М14 предназначен для высокопроизводительного нарізання прямых зубьев цилиндрических зубчатых колес з наружным і внутренним зацеплением. Ввиду малого перебега долбяка верстат приспособлен для нарізання блоков зубчатых колес. Нарезание зубьев осуществляется круговыми модульными долбяками методом обкатки инструмента і вироби.

Простота налагодження напівавтомату дает возможность использовать его в условиях единичного і серийного производства.

При установці в суппорте специальных винтовых направляючих, изготовляемых по техническому заданию заказчика, на напівавтоматі можно обрабатывать зубчасті колеса з косым зубом.

Жесткая кінематична ланцюг, отсутствие вертикальних валов позволяют выпускать на его базе специальные верстати: для обробки деталей в центах, деталей з коническим (поднутренным) зубом, повышенным рабочим пространством, гідравлическим переміщенням суппорта. Полуавтомат може комплектоваться гідравлическим зажимным патроном і пристрійм для нарізання зубьев реек. При наличии специального инструмента возможна обработка фасонных профилей.

Принцип роботи зубодолбежного верстата 5М14

Верстат имеет вертикальную компоновку, то есть ось детали і инструмента расположены вертикально.

Нарезание зубчатых колес производится способом обкатки заготовки колеса инструментом, называемым долбяком. Долбяк имеет форму зубчатого колеса, модуль которого одинаков з модулем нарезаемого колеса.

Долбяк во время роботи получает возвратно-поступательное рух параллельно оси заготовки (рух різання) і одновременно вращается вокруг своей оси (круговая подача).

В начале різання зуба долбяк після каждого ходу автоматически перемещается в направлении оси вироби (радиальная подача) пока не будет достигнута требуемая высота зуба.

Изделие, укрепленное на рабочем столе во время роботи вращается согласованно з вращение долбяка.

Таким образом, долбяк і заготовка представляют собой два зубчатых колеса находящихся в зацеплении.

При обратном (холостом) ходе долбяка стол з заготовкой автоматически отходит от долбяка (отскок), что уменьшает трение і износ режущих зубьев, а к началу робочого ходу стол з заготовкой автоматически подходит к долбяку.

Обработка заготовки осуществляется под керуванням автомата, который осуществляет радиальную подачу долбяка і отсчет полных оборотів нарезаемого колеса (1, 2 или 3).

По окончании нарізання зубчатого колеса супорт автоматически отводится в исходное положение, долбяк поднимается і верстат выключается.

Технічна характеристика верстата:

Класс точності напівавтомату Н.

Шероховатость обработанной поверхности при чистовом проходе V6.

Нарезание цилиндрических колес на зубодолбежных верстатах. Загальні відомості

Образование профиля зубьев при нарезании долбяком

Обработку колес на зубодолбежных верстатах осуществляют режущим инструментом, выполненным в виде зубчатого колеса — долбяком, у которого одна торцовая плоскость служит для опори при закреплении на станке, а на второй имеются режущие кромки.

Обкатка профиля зубьев колеса профилями зубьев долбяка

Обкатка профиля зубьев колеса профилями зубьев долбяка

  1. профиль зуба долбяка
  2. профиль нарезаемого зуба колеса
  3. срезаемый слой металла за один ход долбяка

Зубья колеса нарезают долбяком по методу обкатки, профили зубьев долбяка не совпадают з профилями нарезаемых зубьев, хотя их і выполняют по евольвенте. Поетому одним і тем же долбяком данного модуля можно нарезать колеса з разными числами зубьев. Обкатка осуществляется при післядовательном положении профилей зубьев долбяка относительно профилей нарезаемых зубьев колеса в процессе их зацепления, пока они находятся в контакте. При обкатке долбяк і заготовка должны вращаться вокруг своих осей, как два зубчатых колеса в зацеплении. При нарезании колес з внешними зубьями они вращаются в разные стороны; при нарезании внутренних зубьев — в одну сторону. Передаточное отношение чисел оборотів долбяка і колеса в зависимости от числа зубьев их выражается отношением:


nд/ nз = zз /zд


Для прорізання зубьев в заготовке долбяк, кроме вращательного руху в зацеплении з заготовкой, должен совершать і поступательное движение, параллельное оси заготовки, тогда передние режущие кромки долбяка будут вырезать (долбить) впадины между зубьями заготовки і одновременно выполнять обкатку.

Для нарізання зубьев колеса на необходимую глубину нужно, чтобы зубья долбяка в процессе різання проходили между зубьями заготовки на етой глубине. Сразу установить долбяк на требуемую глубину нельзя, поетому вначале происходит врезание при вращении заготовки і долбяка з постепенной радиальной подачей долбяка в направлении глубины зубьев (пока зубья его не врежутся на необходимую глубину).

После робочого ходу долбяк поступательно возвращается в исходное положение. Чтобы зубья долбяка не терлись об обработанные поверхности, заготовка вместе со столом отодвигается от долбяка, а в начале следующего робочого ходу опять придвигается.

В некоторых верстатах отодвигается долбяк, а заготовка не изменяет своего положения.


Принципиальная схема механізма обертання заготовки і руху долбяка

Принципиальная схема механізма обертання заготовки і руху долбяка

Таким образом, в процессе зубодолбления верстат должен мати наступні руху (указаны стрелками):

  1. возвратно-поступательное рух х і р в вертикальном направлении параллельно оси заготовки (главное рух різання)
  2. согласованные обертання v долбяка і стола, осуществляющие обкатку
  3. рух s врізання долбяка на глубину нарезаемых зубьев — радиальная подача
  4. колебательное рух sk стола — для відведення стола от долбяка і подвода к нему




5М14 Габаритные розміри робочого простору зубодолбежного напівавтомату

5М14 Габаритные розміри робочого простору зубодолбежного напівавтомату

Габаритные розміри робочого простору верстата 5м14


5М14 Загальний вигляд і общее пристрій верстата

5М14 напівавтомат зубодолбежный. Загальний вигляд

Фото зубодолбежного верстата 5м14

Фото зубодолбежного верстата 5м14. Дивитись у збільшеному масштабі



5М14 напівавтомат зубодолбежный. Загальний вигляд

Фото зубодолбежного верстата 5м14

Фото зубодолбежного верстата 5м14. Дивитись у збільшеному масштабі



5М14 напівавтомат зубодолбежный. Загальний вигляд

Фото зубодолбежного верстата 5м14

Фото зубодолбежного верстата 5м14. Дивитись у збільшеному масштабі



5М14 напівавтомат зубодолбежный. Загальний вигляд

Фото зубодолбежного верстата 5м14


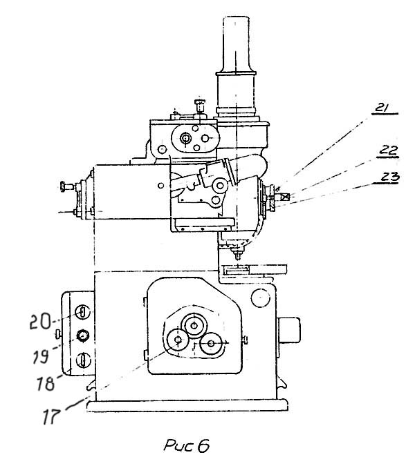
5М14 Розташування органів керування зубодолбежным верстатом

5М14 Розташування органів керування зубодолбежным верстатом напівавтоматом

Розташування органів керування зубодолбежным верстатом 5м14

Список органів керування зубодолбежным верстатом 5М14

  1. Штоссель (шпиндель) долбяка
  2. Кран подачі охлаждающей жидкости
  3. Гайка фиксации суппорта
  4. Гітара круговых подач
  5. Рукоятка реверсирования верстата
  6. Винт продольного переміщення суппорта
  7. Кнопка "Пуск"
  8. Стоп"
  9. Переключатель "Работа-Наладка"
  10. Выключатель местного освещения
  11. Кнопка "Толчок"
  12. Гітара радиальных подач
  13. Рычаг увімкнення муфты радиальной подачі
  14. Конечный выключатель
  15. Квадрат для ручного обертання кулачка радиальной подачі
  16. Планка для увімкнення собачки отсчета

5М14 Розташування органів керування зубодолбежным верстатом напівавтоматом

Розташування органів керування верстатом 5м14. Вид сбоку

Список органів керування верстатом 5М14

  1. Гітара деления
  2. Пакетный выключатель насоса охлаждения
  3. Кнопка "Толчок"
  4. Линейный выключатель
  5. Фиксатор
  6. Квадрат ручного переміщення суппорта
  7. Лимб установки суппорта на глубину врізання

5М14 Розташування органів керування зубодолбежным верстатом напівавтоматом

Розташування органів керування верстатом 5м14. Вид сзади

Список органів керування зубодолбежным верстатом 5М14

  1. Привід установочного обертання стола
  2. Тяга для качания собачки отсчета
  3. Квадрат для одновременного ручного обертання долбяка і заготовки
  4. Рукоятка переключения коробки швидкостей
  5. Рукоятка переключения коробки швидкостей




Схема кінематична зубодолбежного верстата 5М14

Схема кінематична зубодолбежного верстата 5М14

Кінематична схема зубодолбежного верстата 5м14

Схема кінематична зубодолбежного верстата 5М14. Дивитись у збільшеному масштабі



Кінематична схема верстата 5М14

Основні руху кинематических ланцюгів:

  1. Вертикальное возвратно-прступательное рух штосселя долбяка - главное рух (рух різання)
  2. Вращательное рух штосселя долбяка
  3. Вращательное рух стола
  4. Радиальная подача долбяка
  5. Качательное рух стола (отскок)
  6. Рух счетного механізма автомата
  7. Установочное вращение стола
  8. Установочное рух суппорта

Схема автомата радиальной подачі зубодолбежного верстата 5М14

Схема автомата зубодолбежного верстата 5М14

Схема автомата радиальной подачі зубодолбежного верстата 5м14

Автомат зубодолбежного верстата 5М14 осуществляет:


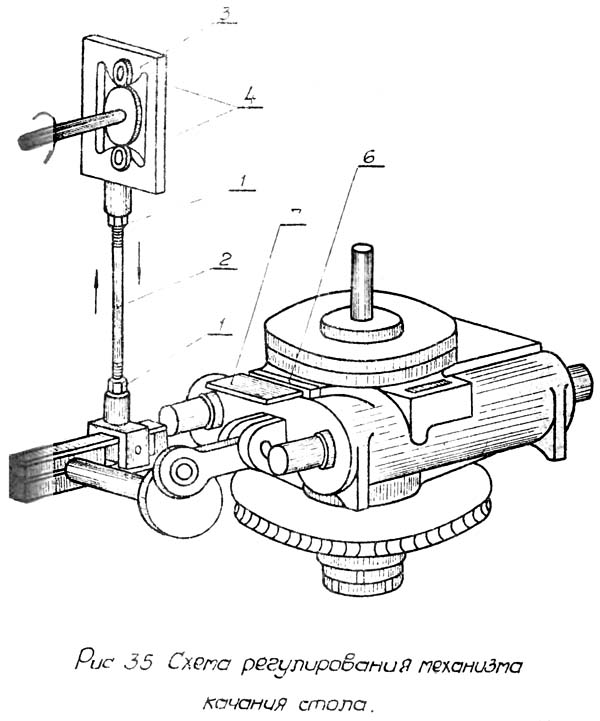
Механізм качания стола зубодолбежного верстата 5М14

Механізм качания стола зубодолбежного верстата 5М14

Механізм качания стола зубодолбежного верстата 5м14





Електроустаткування зубодолбежного верстата 5М14. 1960 год

Стандартное напряжение живлення верстата 5М14 ~380 В 50 Гц.

На станке установлены 3-и трехфазных короткозамкнутых асинхронных електродвигуна:

  1. Г - електродвигатель головного руху А42-4, 2,8 кВт, 1420 об/мин, исп. Щ2
  2. С - електродвигатель швидкого поворота стола АОЛ31-4, 0,6 кВт, 1410 об/мин, исп. Щ2
  3. Н - електродвигатель насоса СОЖ ПА-45, 0,15 кВт, 2800 об/мин

Действие електросхеми

Выключатель насоса ВН устанавливают в зависимости от потребности в охлаждающей жидкости, в положение "Включено" или "Выключено".

Цикл роботи верстата автоматический і происходит в следующей післядовательности:

Перед началом роботи штифт конечного выключателя ВК нажимает толкатель, приетом контакт SK(7-9) открыт, а контакт ВК(9-11) закрыт.

При нажатии кнопки "Пуск" включается катушка реле РП і закрывает свой нормально открытый контакт РП(5-9).

После етого включается катушка контактора 1К, что вызывает увімкнення електродвигуна Г і електронасоса Н (приусловии, если выключатель насоса ВН находится в положении "Включено".

Через некоторое время освобождается толкатель, а, следовательно, і штифт ВК, при етом контакт конечного выключателя ВК(9-11) открывается, а контакт ВК(7-9) закрывается, благодаря чему реле РП отключается і контакт РП(5-9) отключается.

Катушка контактора продолжает получать питаниепо ланцюги: Фаза Л22 -1-3-5-7-9-6-4-2 фаза Л32.

В кінці робочого ходу, (когда долбяк нарежет все зубья), на штифт ВК снова подействует толкатель, приетом произойбет размыкание контакта ВК(7-9) і замыкание контакта ВК(9-11).

Размыкание контакта ВК(7-9) вызывает вимкнення контактора 1К і остановку верстата. На етом цикл роботи заканчивается.

Цикл роботи верстата може быть прерван в любой момент нажатием кнопки "Стоп".

Кроме увімкнення електродвигуна Г нажатием кнопки "Пуск", електродвигатель можно включить нажатием кнопок "Толчок", установленных на на шкафу і пульті керування. В етом случае електродвигатель будет включен только на то время, пока кнопка "Толчок" будет нажата. Увімкнення електродвигуна Г толчком необходимо при наладке верстата.

Увімкнення і оверстата електродвигуна С осуществляется при помощи кнопки "Пуск", но для етого переключатель керування устанавливается устанавливается в положение "Наладка", замыкая точки (13-15).

После окончания роботи или перед длительной остановкой верстата линейный выключатель ВВ выключается.


Схема електрична принципова зубодолбежного верстата 5М14

Схема електрична принципова зубодолбежного верстата 5М14

Електрична схема зубодолбежного верстата 5м14




163 Верстат зубодолбежный 5М14. Відеоролик.



Технічні характеристики зубодолбежного верстата 5М14

Наименование параметра 514 5м14
Основні параметри верстата
Наибольший диаметр нарезаемых цилиндрических прямозубых колес, мм 20..500 20..500
Наибольший диаметр нарезаемых колес з внутренним зацеплением, мм 550 550
Наибольший модуль нарезаемого колеса, мм 2..6 2..6
Наибольшая длина зуба наружного зацепления (длина нарезки), мм 105 105
Наибольшая длина зуба (длина нарезки) внутреннего зацепления, мм 75 75
Наибольший угол наклона винтового зуба, град 23° 23°
Наибольшее расстояние от оси долбяка (шпинделя, штосселя) до оси стола (планшайби), мм 0..350 0..350
Расстояние от зеркала стола (планшайби) до торца шпинделя, мм 35..160 45..170
Суппорт. Штоссель (Шпиндель)
Наибольшее продольное перемещение суппорта, мм 500
Наибольший ход штосселя долбяка, мм 125 125
Цена деления шкалы установки глубины долбления зуба, мм 0,02
Наибольший диаметр устанавливаемого долбяка, мм
Пределы чисел двойных ходов долбяка в минуту 125..359 124, 179, 265, 400
Круговая подача инструмента, мм/дв.ход 0,17..0,44 Радиальная подача инструмента, мм/дв.ход Число радиальных подач инструмента Диаметр оправки под долбяк, мм Кінець шпинделя для крепления инструмента Рабочий стол (планшайба) Диаметр фланца робочого стола (планшайби), мм 240 Диаметр отверстия в шпинделе робочого стола, мм Наибольший отход стола от режущей кромки инструмента во время холостого ходу, мм 0,5 Быстрое вращение стола, об/мин Цена деления лимба установки межцентрового расстояния, мм Автоматический подвод Автоматический останов есть Привід і електрообладнання верстата Количество електродвигателей на станке 3 Електродвигун головного привода, кВт 2,8 2,8 Електродвигун приводу швидкого обертання стола, кВт 0,6 Електродвигун насоса охлаждения, кВт 0,12 Суммарная мощность електродвигателей, кВт Габаритные розміри і масса верстата Габаритные розміри верстата (длина х ширина х высота), мм 1800 х 1350 х 2200 Масса верстата з електрообладнанням і охолодженням, кг 3450


Заказать

Кто владеет информацией - тот владеет миром.

Натан Ротшильд