Виробник горизонтально-розточувального верстата 2Л614 - Чаренцаванський верстатобудівний завод .
На Чаренцаванському верстатобудівному заводі випускалися також верстати моделей 2615, 2615, 2А614, 2А615, 2А614-1, 2А615-1, 2Л614-1, 2Л615-1, 2М614-1, 2М11-1
Універсальний горизонтально-розточувальний верстат 2Л614 замінив застарілий верстат моделі 2614.
Універсальні горизонтально-розточувальні верстати 2Л614 та 2615 служать для обробки корпусних деталей з точними отворами, пов'язаними між собою точними відстанями. Найбільша вага оброблюваної деталі 1000 кг.
Верстат 2Л614 має радіальний супорт на вбудованій планшайбі та нормальний висувний розточувальний шпиндель. Цей верстат відрізняється великою універсальністю та призначений переважно для робіт, що вимагають застосування радіального супорта при обточуванні торцевих поверхонь та консольному розточуванні отворів великих діаметрів, а також для роботи висувним шпинделем.
На верстаті можна проводити свердління, розточування, зенкерування та розгортання отворів, фрезерування площин та пазів висувним шпинделем, а також обточування торців, розточування отворів та кільцевих канавок радіальним супортом планшайби.
Верстат 2615 має нормальний розточувальний шпиндель без радіального супорта .
Цей верстат відрізняється підвищеною жорсткістю та вібростійкістю шпиндельної системи; має переваги, при розточувальні роботи; що не вимагають застосування радіального супорта, а також при фрезерних роботах.
На верстаті 2615 можна проводити свердління, розточування, зенкерування і розгортання отворів, а також фрезерування площин і пазів висувним шпинделем розточувальний, і високопродуктивне фрезерування площин з кріпленням фрези безпосередньо на гільзі шпинделя.
Жорсткість, вібростійкість, швидкохідність та точність верстатів, а такі наявність електричного керування дозволяють вести на них точну продуктивну обробку твердосплавним інструментом з найменшою витратою машинного та допоміжного часу.
Верстати призначені для роботи в інструментальних та механічних цехах.
Верстати забезпечені нерухомою передньою стойкою та вбудованим поворотним столом, що має поздовжнє та поперечне переміщення щодо осі шпинделя.
Конструкція верстатів дозволяє виробляти фрезерування по восьмикутному контуру з двома подачами: поперечної столу і вертикальної шпиндельної бабки, а також фрезерування з круговою подачею столу.
Верстат 2Л614, на відміну від верстата 2Л615, оснащений вбудованою планшайбою з радіальним супортом.
Верстат з радіальним супортом відрізняється великою універсальністю та застосовується при обточуванні торцевих поверхонь, консольному розточуванні отворів великих діаметрів, розточуванні кільцевих канавок, а також для роботи висувним шпинделем.
Верстат 2Л614 має нормальний розточувальний шпиндель без радіального супорта. Цей верстат відрізняється підвищеною жорсткістю та вібростійкістю шпиндельної системи; має переваги при розточувальні роботи, що не вимагають застосування радіального супорта, а також при фрезерних роботах.
Шпиндель і планшайба наводяться в обертання від електродвигуна змінного струму через зубчасту коробку швидкостей, з однорукояточним селективним механізмом. Подачі здійснюються від електродвигуна постійного струму із широким діапазоном регулювання. Конструкція приводу дозволяє змінювати величину подачі на ходу без зупинки верстата.
Універсальні горизонтально-розточувальні верстати 2Л614 призначені для роботи в інструментальних та механічних цехах.
Клас точності верстата Н.
Точність поділу на поворотному столі ±5'.
Шорсткість обробленої поверхні V3-V7.
Верстати можуть бути оснащені різними системами числового програмного керування як вітчизняного, і зарубіжного виробництва.

Габаритні розміри робочого простору верстата 2л614

Посадочні та приєднувальні бази верстата 2л614

Фото горизонтально-розточувального верстата 2л614

Фото горизонтально-розточувального верстата 2л614

Фото горизонтально-розточувального верстата 2Л614
Фото горизонтально-розточувального верстата 2Л614. Завантажити у збільшеному масштабі

Розташування органів керування горизонтально-розточувальним верстатом 2л614
Підставою верстата служить станина, Праворуч на станині укріплена передня стійка, вертикальним напрямним якої переміщається розточувальна бабка з висувним шпинделем. Розточна бабка (шпиндельна бабка) верстата 2Л614 має вбудовану планшайбу з радіальним супортом.
На лівому кінці станини може розташовуватися задня стійка, що поставляється на особливе замовлення. По вертикальним напрямним задньої зграйки переміщається люнет із самостійним приводом.
Між стійками на направляючих станини розташований стіл, що має поздовжнє, поперечне та кругове рухи. Окремо розташовуються електрошафа і агрегат, що живить подачу.
Для рухомих органів верстата передбачені механічна робоча подача, швидкі настановні переміщення та ручна подача. Ручна подача шпинделя та радіального супорта може бути тонкою та грубою.
Коробка швидкостей размещена в корпусе расточной бабки, Все валы коробки швидкостей вращаются на подлинниках качения. Шестерки коробки швидкостей подвергнуты термической обработке, что в сочетании со шлифованным профилем зубьев обеспечивает им длительную работоспособность при сохранении первоначальной точності. Конструкція зубчатых блоков обеспечивает замену в случае повреждения любого венца без замены всего блока. Все подвижные шестерни перемешаются на шлицевых либо гладких (без шпонок) валах.
Расточной шпиндель (рис. 9, 10) выполнен из стали 35Х10А і подвергнут азотации, что в сочетании з втулками гильзы, выполненными из шарикопідшибниківой стали, обеспечивает длительное сохранение точності. Гильза шпинделя вращается на трех підшипниках качения високою точності. Передний подшипник допускает регулировку радиального зазору.
Передня опора гильзы в станке 2Л614 размещается во вращающейся гильзе планшайби (рис. 9).
Планшайба верстата 2Л614 нерухомо закреплена на гильзе, вращающейся на точных роликовых підшипниках, расположенных в корпусе бабки. Увімкнення і відключення обертання планшайби производится специальной муфтой.
По направляющим планшайби перемещается спеціальний суппорт, имеющий Т-образные пазы для закрепления инструмента. Реечно-винтовой привід суппорта снабжен пристрійм для выбора зазоров, что устраняет произвольное перемещение суппорта при вращении планшайби.
Механізм переключения швидкостей обеспечивает увімкнення любого числа оборотів шпинделя либо планшайби (2Л614) при помощи одной рукоятки путем переміщення подвижных блоков шестерен і изменения скорости обертання приводного електродвигуна.
Механізм переміщення всех трех блоков шестерен одинаков, поетому для понимания его роботи достаточно рассмотреть пристрій одного из них, например, верхнего.
Рычаг 13 своим сухарем заходит в паз перемещаемой шестерни. На другом кінці рычага имеется палец 14, входящий в паз барабана 15 (развертки всех трех барабанов 15, 16 показаны схематически). С барабаном связана шестерня, находящаяся в постоянном зацеплении з рейками I і 3. Фигурные концы реек упираются в диск селектора 10, имеющего на кінцінтрических окружностях ряд отверстий разного размера, выполненных в определенной післядовательности. В зависимости от положения диска селектора рейки могут занимать вполне определенное фиксированное положение.
Механізм подачі (рис. 12) управляет рухуми подачі шпинделя і радиального суппорта (2Л614). Рукоятка 1 може занимать три положения. В среднем положении (изображенном на рио. 12) шпонка 3 под действием пружины входит в паз конической шестерни 4. При вращении рукоятки I вращаются конические шестерни і распределительный вал. Муфта 9 находится в нейтральном положении - осуществляется грубая ручная подача.
При переводе рукояток I в крайнее ("к себе") положение перемещается вал 5, шпонка 3 выходит из паза конической шестерни 4, поворачивается шестерня 6 і рычаг ?, который переводит муфту 9 в правое положение. При вращении рукоятки I вращается винтовая пара 8 і распределительный вал - осуществляется тонкая ручная подача.
В крайнем ("от себя") положении рукоятки I, муфта 9 находится в левом положении - включена механическая подача.
Величины перемещений шпинделя или суппорта отсчитываются лимбом 2.
От распределительного вала 5 (рис. 13) вращение передається валам 4 или 8 посредством связанных между собой муфт 3 і 9. Керування муфтами от одной рукоятки. В правом положении її включена муфта 9, вращается вал 8 і далее винт 7, осуществляющий подачу шпинделя 6; в левом положении включена муфта 3 - вращается центральное колесо диференціала (вал 4), ланцюги подачі суппорта планшайби, шестерня I, зубчатое колесо 2 і реечно-винтовой привід подачі суппорта. Передаточное отношение диференціала подобрано так, что при выключенной подаче (центральное колесо не вращается), колесо 2 вращается з таким же числом оборотів, что і планшайба. Диференціал работает как планетарный механізм.
В траверсе помещается винт подачі шпинделя. По направляющим траверсы перемещается ползун з винтовой рейкой.
Зажим расточной головки (рис. 14) - клиновой. Зажимные клинья перемещаются по роликам.
Передня стойка имеет повышенную жесткость і виброустойчивость.
Распределительная коробка помещается на станине. От нее получают рух подачі все подвижные органы верстата.
От електродвигуна подач (рис. 15) вращение через шестерни 15 і 12 і предохранительную муфту 14 передається валу 13
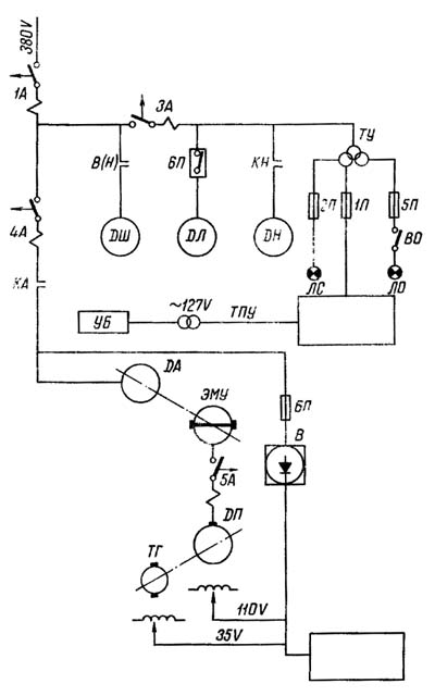
Електроустаткування верстата выполнено для живлення от сети трехфазного переменного тока промышленной частоти (50 гц) напряжением 380 в.

Структурна схема живлення верстата 2л614. Рис.18
Провода or питающей сети присоединяются к верхним зажимам автоматичного выключателя, расположенного на боковой станке електрошафи.
Соединение електрошафи со верстатом і електромашинным усилителем выполнено гибкими резинотканевыми рукавами со штепсельными разъемами.
Подключение верстата заключается в з'єднанні штепсельных разъемов согласно чертежу.
Размещение і крепление електрошафи і електромашинного усилителя производится на фундаменте.
Наличие бетонированного цоколя под корпусом електрошафи і плитой агрегата усилителя необходимо для уменьшения вероятности попадания пыли на електрические машины агрегата і на електрические аппараты через места ввода проводки в шкаф. Рекомендуется резинотканевые рукава, идущие к ЭМУ і клеммной коробке 2КС защитить от механических повреждений.
На нижнем листе корпуса електрошафи имеется отверстие для ввода проводов от питающей сети канала для проводки живлення от сети к електрошкафу.
Сечение питающих проводов не менее б мм. Длина проводов определяется на месте монтажа.

Електричнапринципова схема горизонтально-расточного верстата 2Л614
Електричнапринципова схема горизонтально-расточного верстата 2Л614. Скачать в увеличенном масштабе

Електричнапринципова схема горизонтально-расточного верстата 2Л614
Електричнапринципова схема горизонтально-расточного верстата 2Л614. Скачать в увеличенном масштабе

Електричнапринципова схема горизонтально-расточного верстата 2Л614
Електричнапринципова схема горизонтально-расточного верстата 2Л614. Скачать в увеличенном масштабе

Електричнапринципова схема горизонтально-расточного верстата 2Л614
Електричнапринципова схема горизонтально-расточного верстата 2Л614. Скачать в увеличенном масштабе
Главный привід - привід шпинделя (планшайби) осуществляется от двухскоростного асинхронного електродвигуна через коробки швидкостей (рис. 20).
Главным електродвигуном производится:
Вращение шпинделя (планшайби) включается кнопками 1КУ і 2КУ. Для остановки служит кнопка ЗКУ "Стоп". Настановний проворот шпинделя (планшайби) включается кнопками 4КУ і 5КУ. Все ети кнопки находятся на пульті керування, который размещен на шпиндельной бабке верстата.

Схема переключения електродвигуна головного приводу горизонтально-расточного верстата 2Л614
Скорость обертання двухскоростного електродвигуна задается выключателем ЗВПС (рис. 21), который действует от пристроя механического переключателя швидкостей шпинделя. Если выключатель ЗВПС нежат і его нормально замкнутый контакт принудительно разомкнут, то контактор КМ подсоединяет одну из двух независимых обмоток статора - шестиполюсную звезду. Електродвигун при етом вращается со скоростью 970 об/мин.
Если выключатель ЗВПС не нажат і его Н.З. контакт замкнут, то контактором КБ після срабатывания реле временя IPB подключается другая обмотка статора - четырехполюсная звезда. При етом електродвигатель вращается со скоростью 1470 об/мин.
Разгон електродвигуна на большую скорость - двухступенчатый; пуск двигуна происходит на меньшей скорости з післядующим автоматическим переключением на большую після срабатывания реле часу IPB.
Чередование числа оборотів в минуту двухскоростного електродвигуна для каждой ступени швидкостей обертання шпинделя определяется положением рукоятки переключателя швидкостей.
Настановний проворот шпинделя совершается при меньшей скорости обертання електродвигуна независимо от положения рукоятки переключения швидкостей. В етом режиме електродвигатель включается контакторами В і IK или Н і IK і КМ в шестиполюсную звезду. Настановний проворот совершается при пониженном моменте електродвигуна.
Для остановки шпинделя применяется интенсивное динамическое торможение електродвигуна в обоих направлениях. При отключении контакторов В или Н разрывается ланцюг живлення обмоток статора двигуна і катушки реле часу 4РВ. После отключения реле напряжения 2РП, замыкается ланцюг живлення пускателя КТ, который включает свои силовые контакты і подключает к обмотке высшей скорости (1450 об/мин) статора електродвигуна ток постоянного напряжения от выпрямителя 9ВТ. Под действием нерухомого в пространстве магнитного потока статора момент ротора становится отрицательным, что і приводит к быстрому торможению і остановке ротора. После истечения часу выдержки уставки реле часу (не более 15 сек) 4РВ разрывает ланцюг живлення катушки КГ" і отключает постоянное напряжение.
Контакты реле часу 4РВ в ланцюги КТ шунтируются Н.О. контактами кнопки "Стоп" 3КУ,при етом відключення КТ не зависит от часу выдержки 4РВ. Динамическое торможение действует также при управлении установочным проворотом шпинделя і начинается після того, как отпускается кнопка 4КУ или 5КУ.
Переключення скорости шпинделя (планшайби) производится механическим селективным переключателем з автоматическим пристрійм для плавного ввода зубчатых колес в зацепление.
Переключить скорость можно как при нерухомому шпинделе, так і на ходу: перед началом переключения двигатель шпинделя в процессе переключения швидкостей отключается і включается автоматически.
Порядок переключения следующий:
При етом селекторный диск посредством реечных передач, барабанов і рычагов перевода блоки зубчатых колес в новое положение. Когда селекторный диск дойдет до упора, перемещение блоков закончится і включится выключатель 1ВПС. Нажатие на рукоятку продолжается до полной її фиксации в новом положении. При етом сжимается импульсная пружина, а выключатель 2ВПС включает електродвигатель з новой скоростью.
В процессе переключения скорости сцепляемые колеса могут встретиться торцами зубьев. Это препятствует движению селекторного диска і приводит к сжатию импульсной пружины і включению електродвигуна выключателем 2ВПС через контактор В для проворота ведущего колеса.
Как только торец зуба ведущего колеса окажется перед впадиной сопряженного колеса, под действием импульсной пружины зуб заскочит во впадину, а выключатель 2ВПС отключит електродвигатель. Становится возможным завершение переключения.
Импульсный проворот совершается при весьма низком моменте електродвигуна, включенного в сеть через добавочные сопротивления R61..R63 і R51..R53. Благодаря етому, резко сокращается износ торцев зубчатых колес в процессе переключения. Пониженный момент електродвигуна при импульсном повороте все же достаточен для того, чтобы провернуть зубчасті колеса, прижатые друг к другу торцами, под действием импульсной пружины.
Если зубцы сцепляемых колес встретились при переключении хотя бы частью профиля головки зуба (причем зусилля руки недостаточно, чтобы завершить осевое перемещение колес), то може оказаться, что при импульсном включении електродвигуна контактором В зубцы будут прижиматься друг к другу.

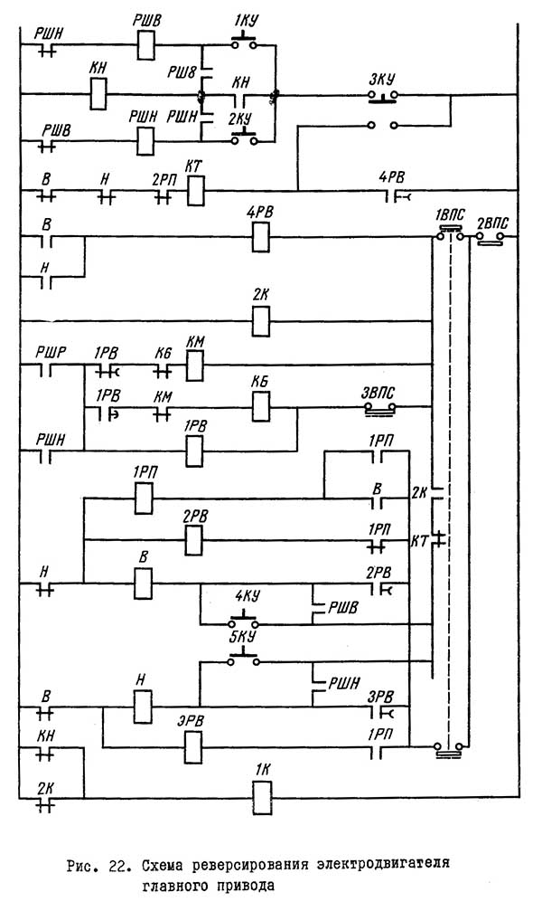
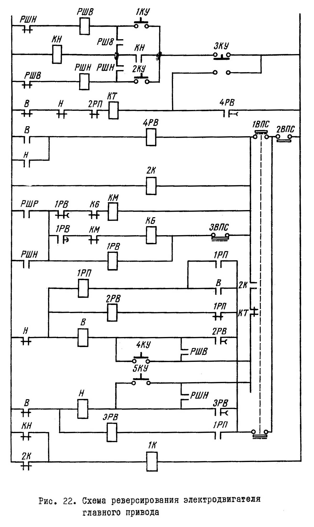
Схема реверсирования електродвигуна головного приводу горизонтально-расточного верстата 2Л614
Для завершения переключения в етом случае служит автоматически чередующееся реверсирование електродвигуна (рис. 22).
Реле часу 2РВ і 3РВ задают продолжительность увімкнення електродвигуна в каждом направлении.
Обычно для импульсного проворота зубчатых колес в процессе переключения оказывается достаточным 1-2 импульса. Как только устранится препятствие, ета часть схеми головного приводу отключается выключателем 2ВПС і переключение завершается так, как описано выше.
Електродвигун DH насоса змазки механізмов шпиндельной бабки самостоятельного керування не имеет, а включается одновременно з пуском електродвигуна шпинделя DШ. При установочном провороте шпинделя (планшайби) електродвигатель насоса не работает.
При переключении скорости шпинделя на ходу, робота насоса змазки не прерывается.
Захист електродвигателей обертання шпинделя DШ і приводу насоса змазки DН от перегрузки і коротких замыканий в цепях живлення осуществляется трехфазными автоматическими выключателями з електромагнитными расланцюгителями.
При срабатывании автоматов размыкаются главные ланцюги живлення електродвигателей DШ і DH, а также ланцюг первичной обмотки трансформатора керування ТУ. Благодаря етому, отключаются ланцюги керування всеми рухуми верстата і исключается самопроизвольный запуск електродвигателей після увімкнення сработавшего автомата.
Керування електродвигуном люнета задньої стойки осуществляется барабанным переключателем ПКП-10-19-116, установленным на задньої стойке. Захист електродвигуна люнета задньої стойки осуществляется автоматическим воздушным выключателем ЗА.
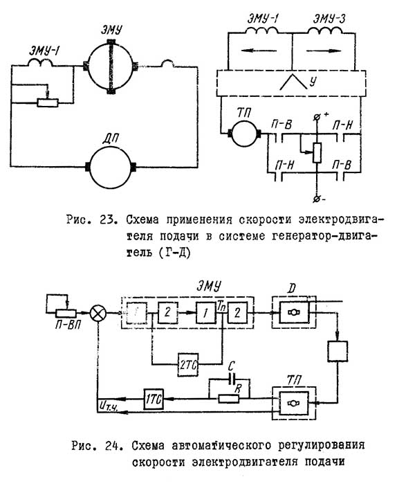
Подача і установочные переміщення органів верстата осуществляются от електродвигуна постоянного тока, скорость обертання которого може изменяться в широких пределах путем изменения напряжения питающего генератора.
В качестве генератора применен електромашинный усилитель ЭМУ з поперечным полем.
Благодаря применению приводу з глубокими регулирующими обратными связями, диапазон изменения скорости електродвигуна подачі обеспечивает получение тонких установочных перемещений в необходимых пределах.
Быстрые установочные переміщення при наибольшей скорости електродвигуна достигаются неравномерным ослаблением потока главных полюсов електродвигуна подачі при максимальном напряжении генератора ЭМУ.

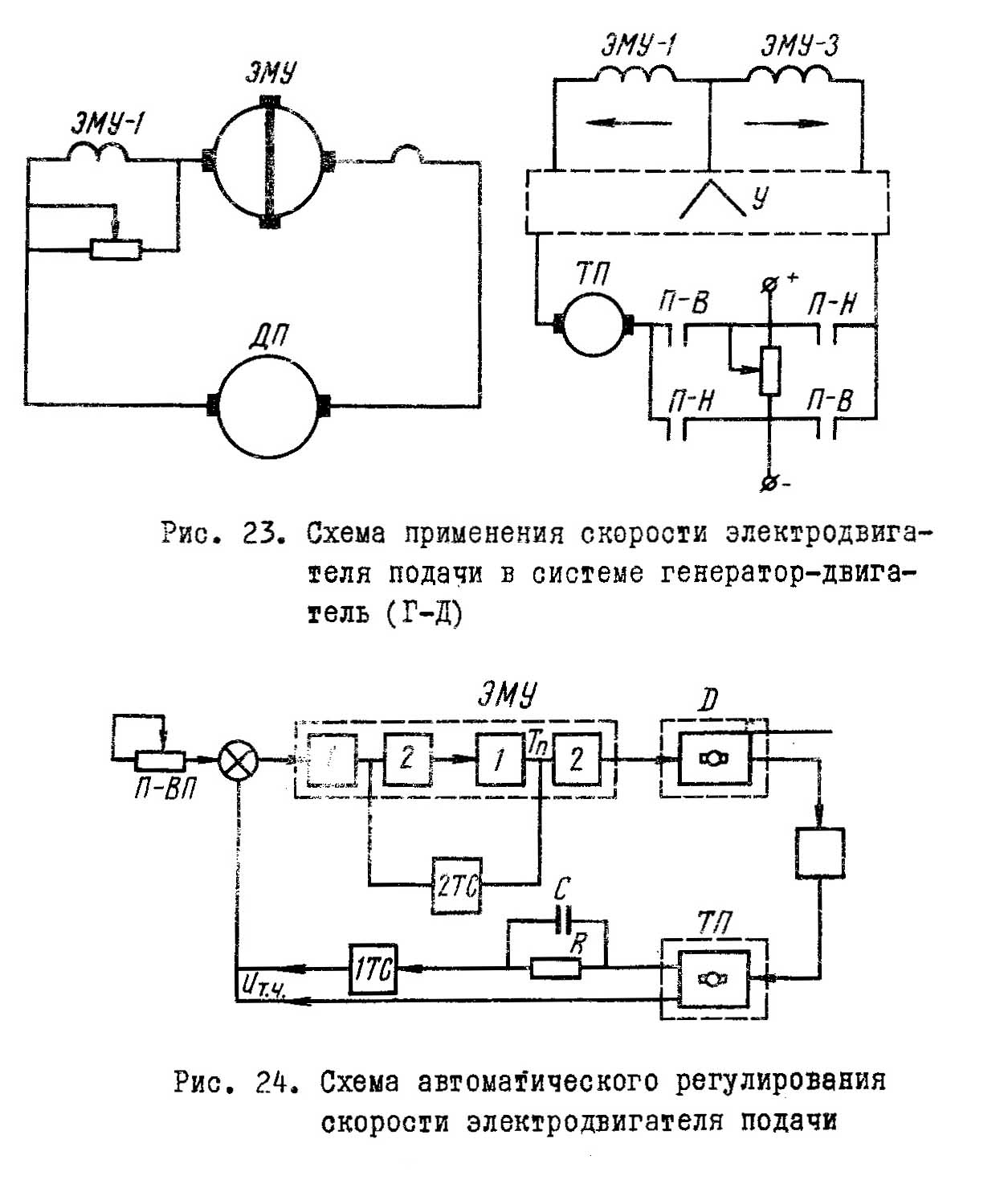
Схема регулювання скорости електродвигуна подачі горизонтально-расточного верстата 2Л614
Для получения широкого диапазона изменения скорости електродвигуна в системе Г-Д (рис.23) нужно уменьшить влияние инерционности привода, нелинейности характеристик, влияние остаточного намагничивания генератора, изменения нагрузки привода, непостоянства переходного сопротивления щіток, нестабильности елементів схеми возбуждения. Так, например, при малых скоростях електродвигуна падение напряжения в главной ланцюги при нагрузке і остаточное напряжение ЭМУ могут в 20-30 раз превышать Э.Д.С. електродвигуна.
Уменьшение влияния етих факторов обеспечено в замкнутой системе автоматичного регулювання скорости з высоким коеффициентом усиления (рис. 24).
Главной регулирующей связью в данной системе является отрицательная обратная связь по скорости, охватывающая всю систему регулювання.
Для усиления задающего сигнала і обратных связей применен промежуточный електронный усилитель. На вход усилителя подается разность напряжения сигнала і обратной связи по скорости.
В качестве источника обратной связи по скорости использован тахогенератор постоянного тока, находящийся на валу електродвигуна. Напряжение тахогенератора при постоянном возбуждении пропорционально скорости електродвигуна.
Усиленное напряжение з выхода електронного усилителя поступает на обмотки керування ЭМУ-2 і ЭМУ—4, включенные встречно по потоку. При етом, на якоре ЭМУ появляется Э.Д.С., соответствующая заданной скорости.
В случае отклонения скорости електродвигуна от заданного значения, соответственно изменяется і напряжение тахогенератора, а следовательно, і напряжение на входе електронного усилителя і ЭМУ, так как напряжение задающего сигнала для выбранной ступени скорости не меняется. Действие обратной связи направлено к поддержанию заданного значения скорости обертання електродвигуна подачі.
Для того, чтобы на всем диапазоне изменения скорости обертання електродвигуна обеспечить устойчивую работу системы і необходимые показатели качества протекания переходных процессов, в схему введены наступні дополнительные, гак называемые "гибкие", обратные связи:

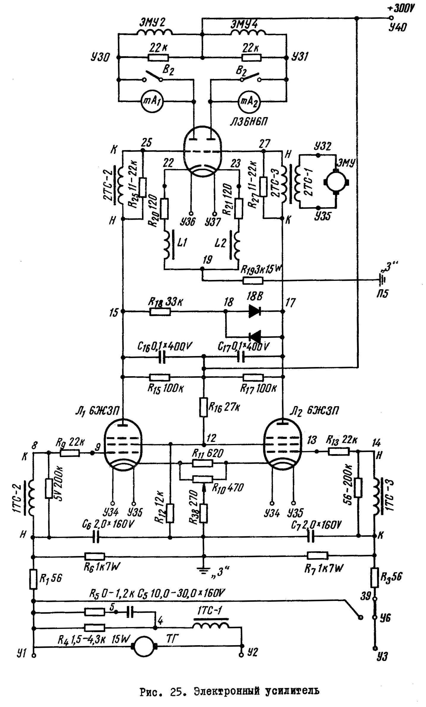
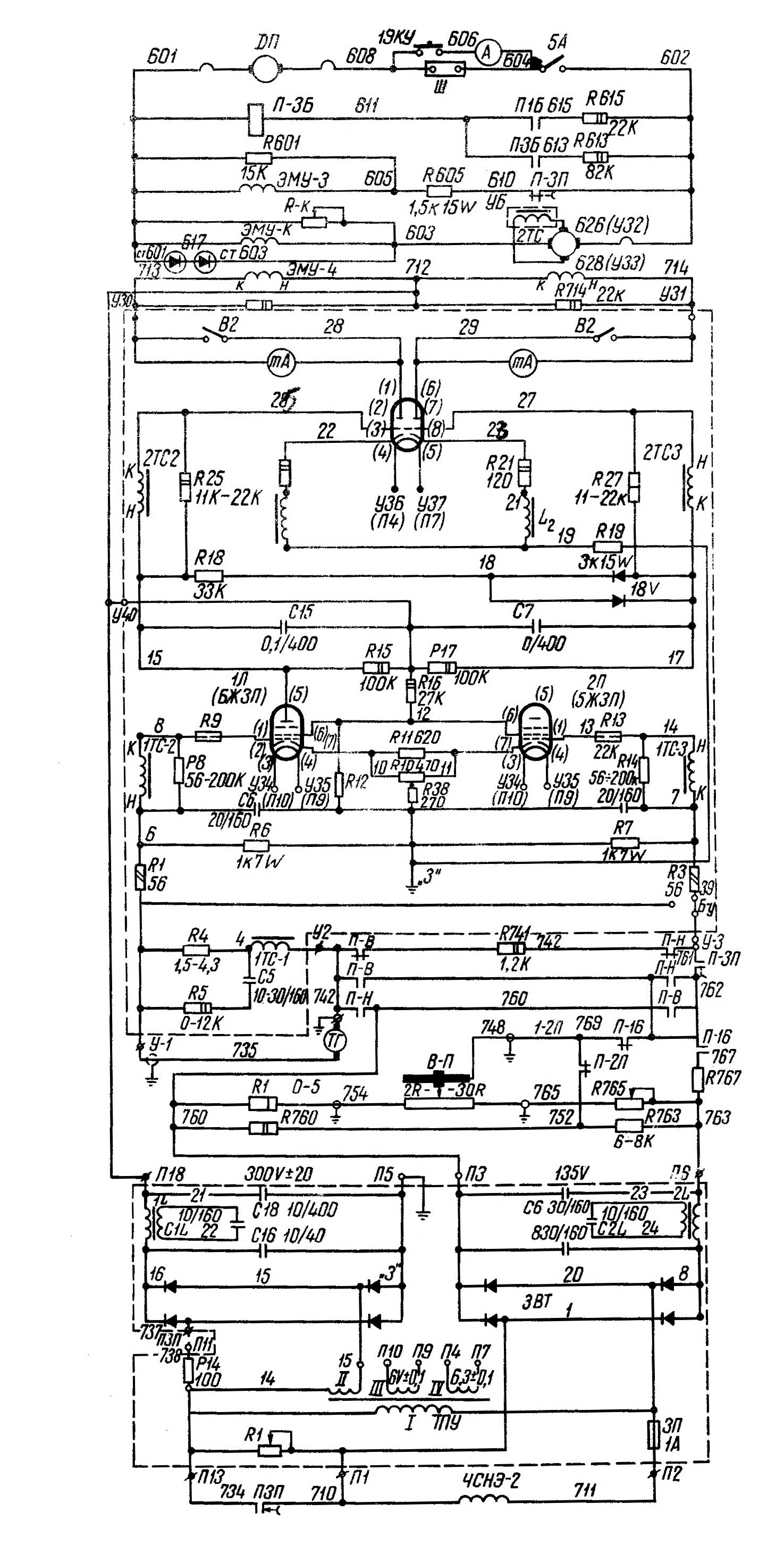
Электронный усилитель горизонтально-расточного верстата 2Л614
Электронный усилитель горизонтально-расточного верстата 2Л614. Скачать в увеличенном масштабе
Электронный усилитель (рис. 25) служит для усиления дії отрицательной обратной связи по скорости і гибких (противоколебательных) обратных связей.
Применяемый усилитель является двухкаскадным усилителем постоянного тока.
Первый каскад - на двух пентодах как балансный усилитель напряжения.
Второй каскад выполнен на двойном триоде і является балансным усилителем тока і мощности.
Анодной нагрузкой второго каскада служат высокоомные обмотки керування ЭМУ-2 і ЭМУ-4, включенные встречно по потоку, создаваемому анодными токами ламп второго каскада.
Благодаря применению балансовой схеми усиления результирующий поток от обмоток ЭМУ-2 і ЭМУ-4 при отсутствии напряжения на входе усилителя равен нулю, т.е. через каждую обмотку протекает в разных направлениях равный по величине ток.
При включении напряжения на вход усилителя ток в одной из обмоток керування ЭМУ возрастает, а в другой - уменьшается, причем разность етих токов тем выше, чем больше установленная скорость обертання електродвигуна.
Регулирующее действие обратной связи по скорости выражается в том, что влияние внешних факторов на скорость обертання електродвигуна при работе приводу вызывает непрерывное автоматическое изменение напряжения тахогенератора на входе усилителя, а, следовательно, і регулювання результирующего потока возбуждения генератора от обмоток ЭМУ-2 і ЭМУ-4, направленное на поддержание постоянства установленной скорости електродвигуна. Достоинствами балансной схеми усиления является также чувствительность усилителя к полярности входного напряжения і понижение его чувствительности к колебаниям напряжения анодной ланцюги.
Различие в характеристиках однотипных ламп, а также различие токов покоя препятствует получению абсолютной симметричности плеч балансного усилителя. Поетому, как при первичной наладке, так і в условиях експлуатации (а также при смене ламп) требуется балансировка выхода усилителя. Для етого в усилителе предусмотрено балансировочное переменное сопротивление R10.
Миллиамперметры в цепях обмоток ЭМУ-1 і ЭМУ-4 служат для контроля балансировки усилителя при налаштуванні или смене ламп.
Для повышения стабильности роботи усилителя питание анодной ланцюги і накалов ламп усилителя производится от електромагнитного стабилизатора напряжения.
Питание накала ламп первого і второго каскадов осуществляется от раздельных обмоток трансформатора, что повышает надежность роботи усилителя, так как три етом исключается возможность появления напряжения между катодом і нитью накала ламп, превышающее допустимое значение.
На работу усилителя постоянного тока могут влиять "наводки" (гальванические і емкостные паразитные связи) і форма кривой входного напряжения. Для ограничения переменной составляющей напряжение на входе усилителя , зубцовые і якорные пульсации тахогенератора сведены к минимуму.
На вход первого каскада подается алгебраическая сумма напряжений задающего сигнала (от независимого источника) жесткой отрицательной обратной связи по скорости (от тахогенератора), гибкой отрицательной обратной связи по первой і второй производной от скорости (со вторичных обмоток противоколебательного трансформатора ITC).
На вход второго каскада подается выходное напряжение первого каскада і гибкая отрицательная обратная связь по изменению тока в поперечної ланцюги ЭМУ (со вторичных обмоток трансформатора 2ТС).
При подаче сигнала на вход усилителя схема работает следующим образом.
Если полярность сигнала такова, что сетка левого пентода первого каскада имеет положительное, а сетка правого пентода отрицательное приращение напряжения, то анодный ток левого пентода возрастает, а анодный ток правого пентода уменьшается. Следовательно, уменьшается падение напряжения на сопротивлении правого плеча анодной нагрузки первого каскада і увеличивается на сопротивления левого плеча.
Между анодами ламп первого каскада появится разность потенциалов, которая прикладывается к входным сопротивлениям второго каскада. При етом сетка левого триода получает отрицательное приращение, а сетка правого триода -положительное приращение потенциала.
Ток в обмотке ЭМУ-4 уменьшается, а в обмотке ЭМУ-1 возрастает, результате образуется разность тока в витках обмоток ЭМУ, которая обеспечивает поддержание заданной скорости.
Разрядные сопротивления, включенные параллельно обмоткам ЭМУ-1 і ЭМУ-4, предохраняют ети обмотки от пробоя при возникновении перенапряжений.
Для повышения устойчивости і уменьшения динамической погрешности скорости приводу введены гибкие противоколебательные обратные связи по изменению тока в поперечної ланцюги ЭМУ ( пропорционально выходному напряжению ЭМУ), по ускорению електродвигуна і по второй производной изменения скорости.
Обратная связь по изменению тока в поперечної цели генератора осуществляется при помощи трансформатора 2ТС, первичная обмотка которого включена между щетками поперечної ланцюги ЭМУ. Вторичные обмотки етого трансформатора 2ТС-2 і 2ТС-3 включены на вход второго каскада усилителя.
Противоколебательная обратная связь по ускорению осуществляется при помощи трансформатора ITC, первичная обмотка которого через добавочное сопротивление подключена на напряжение датчика скорости (тахогенератора). Емкость, включенная параллельно сопротивлению в ланцюги ITC, осуществляет обратную связь по второй производной изменения скорости, повышая чувствительность і еффективность противоколебательной связи.
Вторичные обмотки ITC-2 і ITC-3 включены на вход первого каскада, что обеспечивает высокое действие противоколебательной обратной связи по ускорению.
Вторичные обмотки каждого противоколебательного трансформатора сфазированы между собой і шунтированы сопротивлениями з целью подбора оптимальных значений постоянных часу етих контуров обратной связи.
Ограничение тока главной ланцюги при пуске, разгоне і торможении електродвигуна подачі производится посредством автоматичного пристроя, состоящего из двух стабилитронов.
Действие пристроя сводится к сравнению падения напряжения на компенсационной обмотке, пропорционального главному току, з постоянным напряжением, устанавливающим порог срабатывания Напряжением сравнения в устройстве ограничения тока является падение напряжения на стабилитронах.

Пристрій ограничения тока главной ланцюги горизонтально-расточного верстата 2Л614
Сравниваемые напряжения включены встречно. Благодаря етому напряжение сравнения не влияет на компенсационную обмотку (рис. 26).
Если падение напряжения на компенсационной обмотке превысит (вследствие возрастании тока главной ланцюги) напряжение сравнения, часть головного тока потечет в обход компенсационной обмотки через сопротивление сравнения. При разгоне електродвигуна етот ток направлен навстречу результирующему току возбуждения ЭМУ - от обмоток ЭМУ—1, ЭМУ-3, противодействуя нарастанию потока, а действие компенсационной обмотки ослабляется, вследствие чего усиливается размагничивающее действие реакции якоря ЭМУ. Благодаря етому разгон происходит при постоянной максимально допустимой величине тока главной ланцюги.
Пристрій ограничения тока действует при разгоне приводу в обоих направлениях.
При торможении електродвигуна ограничение тока главной ланцюги достигается противодействием спаданию тока возбуждения ЭМУ. Кроме тока, генератор подвозбуждается током якорной ланцюги под действием Э.Д.С. електродвигуна в обход компенсационной обмотки.

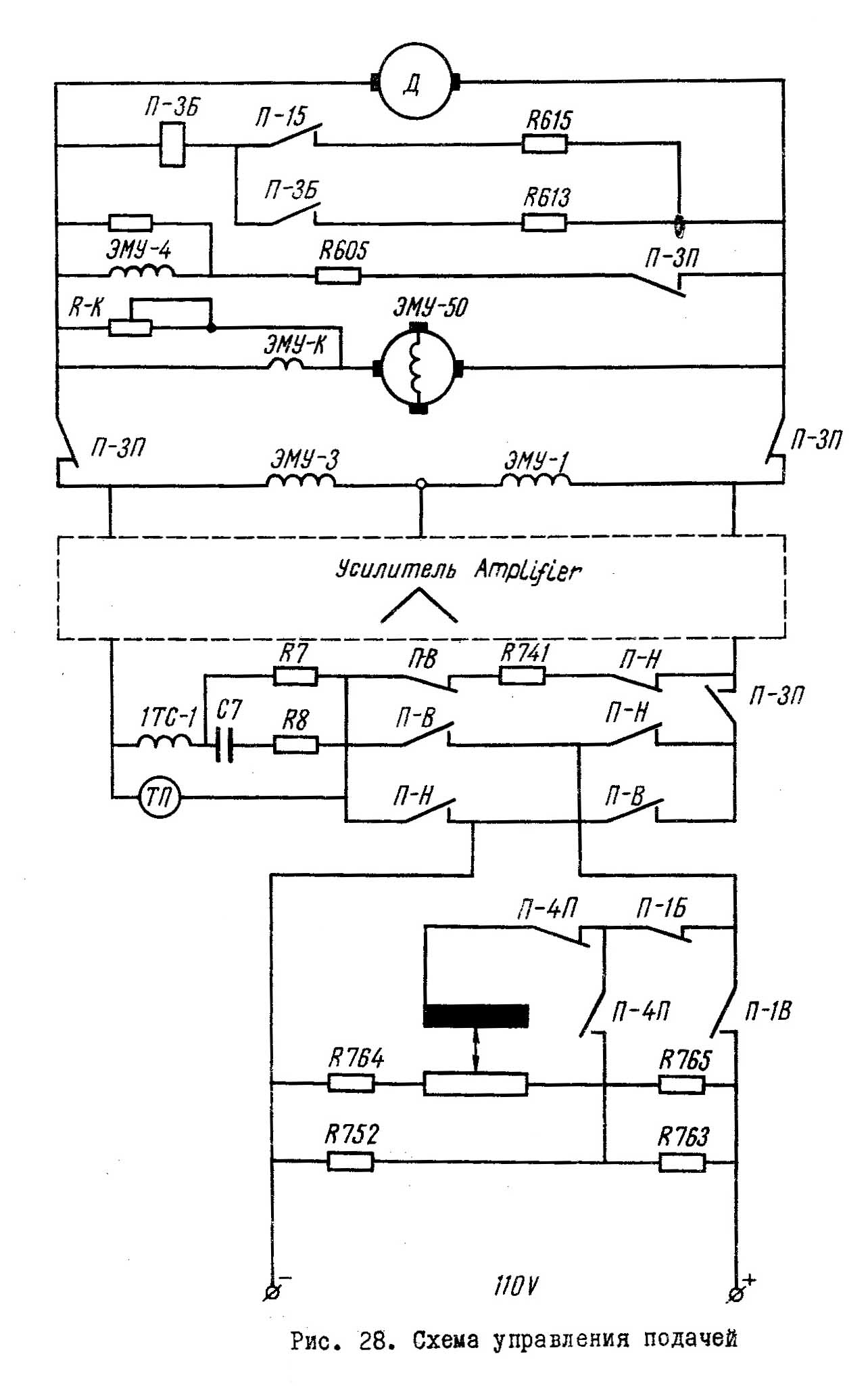
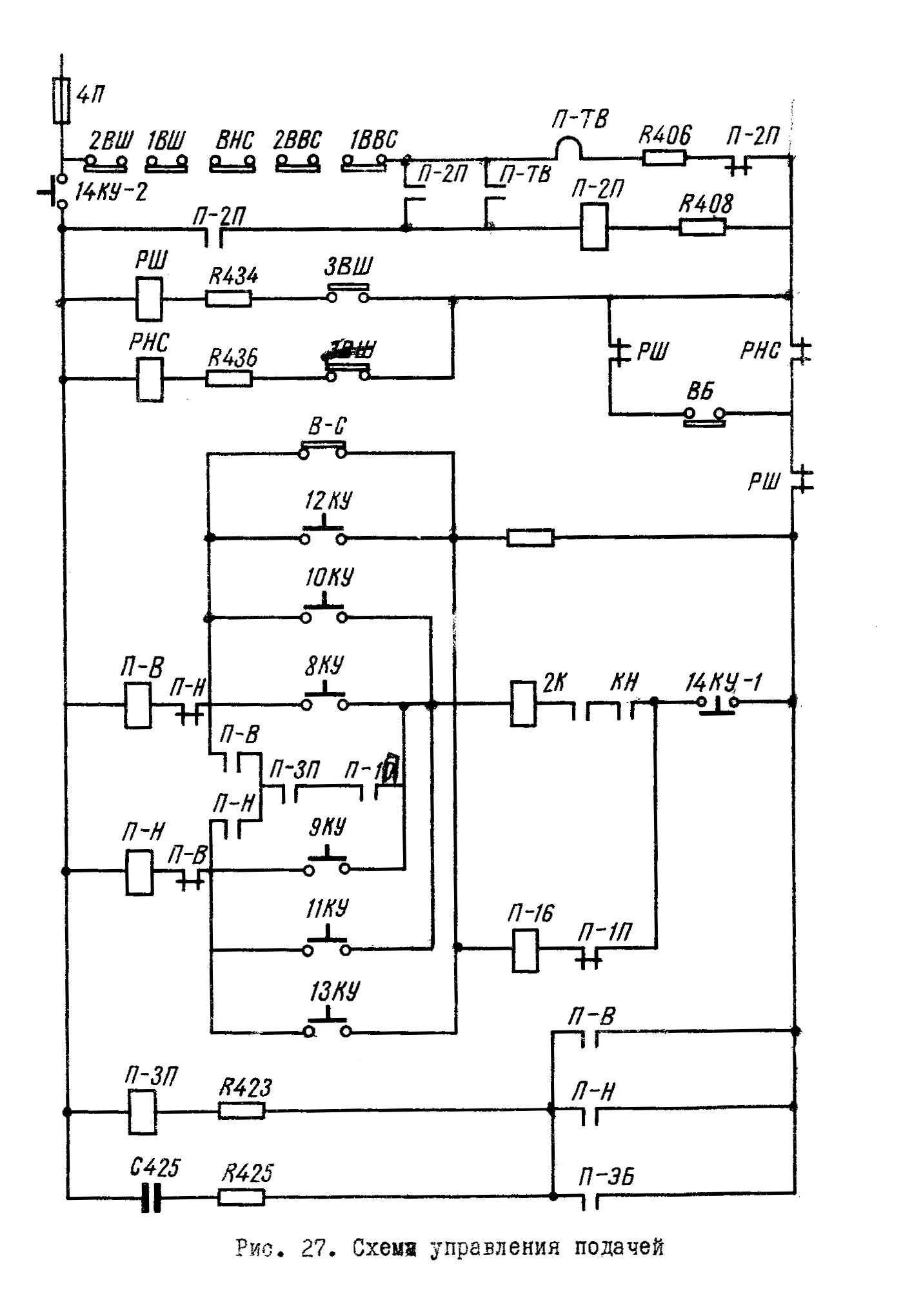
Схема керування подачей горизонтально-расточного верстата 2Л614
Схема керування подачей горизонтально-расточного верстата 2Л614. Скачать в увеличенном масштабе

Схема керування подачей горизонтально-расточного верстата 2Л614
Схема керування подачей горизонтально-расточного верстата 2Л614. Скачать в увеличенном масштабе
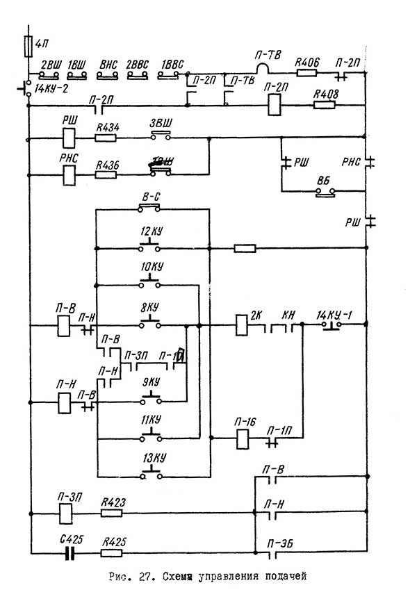
На главном пульті, расположенном на шпиндельной бабке верстата, помещены наступні органы електрического керування електродвигуном приводу подачі:
Привід подачі общий для всех подвижных органів верстата. Выбор того или иного органа производится рукоятками, подключающими соответствующие участки кінематичної ланцюги к приводу.
Направление руху органів верстата для подачі і установочных перемещений задается промежуточными реле П-В і П-Н, которые включаются пусковыми кнопками. При включении подачі одновременно включается реле П-1П, через нормально разомкнутый контакт которого і собственный блокконтакт реле направления П-В (или П-Н), післяднее остается включенным після прекращения нажатия на пусковую кнопку.
При остановке подачі кнопкой "Стоп" отключается реле П-В (П-Н) і П-1П; якорь тахогенератора подключается на вход усилителя, минуя ланцюги источника задающего напряжения. Начинается торможение приводу за счет резкого снижения Э.Д.С. ЭМУ обратной связью по скорости. С выдержкой часу на размыкание отключится реле П-3П, при етом, прекратится питание усилителя. Дальнейшее торможение електродвигуна осуществляется в режиме самогашения поля ЭМУ.
Остановка і торможение електродвигуна при управлении установочними переміщеннями наступает після прекращения нажатия на пусковую кнопку і протекает в том же порядке что і остановка подачі кнопкой "Стоп".
Скорость переміщення как при подаче, так і при установочных рухух, устанавливается вариатором.
Требуемая скорость быстрых перемещений достигается в приводе повышением напряжения на ЭМУ і неравномерным ослаблением (в два раза) погона главных полюсов електродвигуна. Для етого на зажиме електродвигуна выведены концы обмоток от каждой смежной пары его главных полюсов.
Поток одной пары полюсов при включении швидкого переміщення полностью снимается.
Поток другой пары полюсов сохраняется полным. Увімкнення швидкого переміщення производится кнопками 10КУ і 11КУ в зависимости от выбранного направления руху. Скорость швидкого переміщення устанавливается независимо от положения щіток варіатора.
Захист електродвигуна подачі от перегрузки осуществлена автоматическим выключателем 5А (рис. 19, 20) з електромагнитным расланцюгителем.
Напряжение в цепях керування постоянного тока (от выпрямителя) і питание усилителя (через стабилизатор і выпрямители) появляется только після увімкнення агрегата.
Термогруппа П-ТВ разрешает керування подачей только через 15..20 сек після пуска агрегата. За ето время успеют нагреться нити накала ламп усилителя.
Для остановки привода, когда подвижный узел верстата находится в крайнем положении, служат конечные выключатели 1BШ і 2ВШ для ограничения ходу шпинделя вперед і назад, IBBC, 2BBC і ВНС - для ограничения ходу верхних і нижних салазок стола в крайних положениях. Рух подачі возможно только при вращении шпинделя (планшайби). При переключении швидкостей приводу шпинделя керування подачей прекращается. Установчі руху не зависят от роботи приводу шпинделя.
Перед началом роботи на станке необходимо проверить:
Электродвигатели сфазированы при изготовлении верстата. После подключения к сети потребителя следует проверить фазировку по направлению обертання приводного електродвигуна електромашинного агрегата і по вращению електродвигуна насоса змазки.
Направление обертання агрегата должно соответствовать стрелке на корпусе ЭМУ. Направление обертання електродвигуна насоса должно обеспечивать подачу масла.
В случае несоответствия направления обертання машин агрегата і електродвигуна насоса, указанному нужно переключить фазы питающей сети на верхних зажимах вводного автоматичного выключателя.
Проверяется електрическое керування і робота електроустаткування на холостом ходу верстата.
Устанавливать плавкие вставки на место і включать автоматы следует поочередно, перед включением соответствующего електродвигуна. Перед пуском осматривается состояние і готовность механізмов верстата к пуску, наличие змазки ходовых винтов і направляючих.
Последовательность увімкнення електроустаткування следующая:
Заменять лампы можно только лампами того же типа. Рекомендуется заменять весь комплект ламп одновременно, не дожидаясь выхода из строя каждой лампы. Перед установкой новой лампы необходимо проверить її исправность.
Нужно вставлять лампы в панель всегда до отказа, не допуская перекосов.
Замена ламп производится при отсутствии подачі.
Так как характеристики ламп неодинаковы, після замены ламп необходимо сбалансировать усилитель.
Лампы выходного каскада следует подбирать по равенству токов покоя з обязательной проверкой равенства напряжения накала каждой лампы 16,3 ± 0,6 В.
Балансировка производится в следующем порядке:
На усилительном блоке имеются два тумблера, один из которых устанавливается в положение "Балансировка", а другой - в положение "Приборы". При етом закорачивается вход усилителя, отключается входное напряжение і включаются миллиамперметры, стоящие на анодной ланцюги.
Наблюдая за миллиамперметрами усилительного блока, поворачивают ось балансировочного сопротивления усилителя так, чтобы анодные токи были равны. Через 5 - 10 минут производится повторная балансировка.
Работать на станке при вынутых лампах нельзя, так как при етом подача будет отсутствовать, а через якорь тахогенератора і входные сопротивления усилителя потечет большой ток, из-за чего могут сгореть защитные сопротивления на входе усилителя.
Наладка і испытание електроустаткування произведены заводом-изготовителем при выпуске верстата.
При пуске нового верстата і нормальной експлуатации какой-либо переналагодження електрической частини не требуется.
К условиях длительной експлуатации, при ремонтi електроустаткування, замене елементів з ограниченным сроком службы, к числу которых относятся усилительные лампы, щетки електрических машин, а также, при нарушении правил хранения, распаковки і транспортировки може возникнуть необходимость выполнения восстановительной налагодження і проверка роботи приводов демонтированного участка схеми. Такая наладка сводится к восстановлению отработанных ранее режимов роботи і параметров, указанных в електросхемах.
В схеме в конструкції електроустаткування верстата предусмотрен ряд мер для повышения надежности его роботи.
При експлуатации верстата могут возникнуть отдельные нарушения нормальной роботи того или иного участка схеми.
Чем лучше уход за верстатом, тем реже случаются неполадки.
Выявление причины і ликвидация неисправности доступны каждому квалифицированному електрику, знакомому з електрообладнанням верстата.
Электрик, обслуживающий верстат, обязан знать действие всех защитных блокировочных связей і других видов защиты.
Если все же имеются признаки неисправности нужно установить, что именно неисправно.
Установив наличие неисправности при работе. схеми в одном режиме (но еще не отыскав причины), следует опробовать работу в другом режиме, ето сократит поиски неисправности.
Только після определения возможно более узкого участка неисправности можно приступить к известным методам отыскания неисправности - проверке пробником или контрольной лампой, измерениям і т.п.
При проверке ланцюгів на панелях недопустимо продергивание проводов. Проверка ланцюгів з контактами телефонных реле контрольной лампой мощностью более 8 Вт недопустима.
Если предполагается неисправность в ланцюги керування приводами переменного тока, рекомендуется отсоединить от зажимов в шкафу питающие провода соответствующих електродвигателей. Это исключит возможность неправильной роботи електродвигателей і механізмов верстата при опробовании участков схеми для выявления причин і устранения неисправности.
Рекомендуется при проверке пользоваться не всеми електросхемами, а только принципиальной схемой (рис. 19, 20).
Структура схеми електрического керування позволяет проверять отдельные участки схеми изолированно от других участков путем снятия вставок предохранителей, перемычек і отключения автоматов.
Выявление причин неисправности в цепях керування приводом подачі облегчается возможностью выделения поврежденного участка путем післядовательной проверки области дії неправильной команды, а также путем осмотра положения других органів той же ланцюги керування.
Отыскание неисправности в усилительной частини схеми облегчается наличием на станке измерительных приборов. Включать приборы следует только во время налагодження.
Замена сопротивлений усилителя в условиях длительной експлуатации допускается только теми же по величине сопротивлениями, какие установлены заводом-изготовителем верстата.
Нельзя допускать работу верстата з поврежденными или закороченными участками схеми.
Ниже приведен перечень возможных неисправностей, возникающих при ненормальном состоянии механізмов верстата, елементів і ланцюгів електроустаткування і устранения етих неисправностей.
В основу системы керування верстатом положен принцип однорукояточного керування определенными функциями. Органы керування расположены в наиболее удобных зонах. Блокировки защищают верстат от ошибочных включений. Керування верстатом не требует приложения больших физических усилий.
Керування шпинделем і планшайбой осуществляется кнопками. Назначение кнопок указано в спецификации органів керування, расположение - на рис. 4.
Переключення швидкостей производится в следующем порядке:
Перед включением рабочей подачі, быстрых или установочных перемещений необходимо:
После увімкнення одной из рукояток по вариатору I установить величину подачі. Включить подачу кнопкой 34. Во время роботи можно менять величину подачі на ходу, поворачивая рукоятку I. Реверс подач осуществляется кнопкой 35. Расточная головка і поперечний стол, кроме того, имеют механический реверс, осуществляемый рукояткой 19.
Керування поперечної і вертикальной подачами производят одной рукояткой 19, при включенном електродвигателе, что создает дополнительные удобства при фрезеровании по контуру.
Назначение рукояток ручного переміщення і их расположение указано на рис. 4.
Тонкая ручная подача шпинделя осуществляется поворотом рукояток "на себя" і вращением их вокруг оси штурвала. Грубая подача производится вращением тех же рукояток, установленных предварительно в среднее положение.
Все подвижные органы снабжены отсчетными линейками і подвижными нониусами, что облегчает подсчет координат.
Отсчет може производиться также по лимбам, установленным на хвостовиках ручного переміщення. Отсчет поворота ведется по круговой шкале і нониусу з ценой деления 10'. Положения 0, 90, 180, 270° поворотного стола контролируются по показаниям индикатора з ценой деления 0,01, установленного на поперечных салазках.
Верстат снабжен однорукояточными зажимами подвижных органів, расположение которых показано на рис. 4, а назначение в спецификации органів керування.
Режими роботи на станке диктуются его технической характеристикой. При выборе режимов різання следует учитывать, что крутящий момент на шпинделе не должен превышать 8800 кгс.см, на планшайбе - 13200 кгс.см, а наибольшее усилие поздовжньої подачі стола - 1000 кгс.
Передний двухрядный роликовый подшипник з коническим отверстием подтягивается следующим образом:
Конические роликовые підшипники регулируют следующим образом:
Осевой перетяг підшибників недопустим!
Регулировку необходимо контролировать вращением шпинделя "от руки".
Конические роликовые підшипники гильзы планшайби регулировать таким же способом, как і конические підшипники гильзы шпинделя.
Для регулировки необходимо снять крышку головки і механізм подач (см. рис. 10).

Схема расоложения електроустаткування горизонтально-расточного верстата 2Л614
| Наименование параметра | 2Л614 | 2А614-1 |
|---|---|---|
| Основні параметри верстата | ||
| Класс точності верстатів по ГОСТ 8-77 | Н | Н |
| Диаметр выдвижного расточного шпинделя, мм | 80 | 80 |
| Наибольший диаметр расточки шпинделем, мм | 350 | |
| Наибольший диаметр расточки суппортом планшайби, мм | 420 | |
| Наибольшая диаметр торцевой расточки і обточки суппортом планшайби, мм | 500 | |
| Точность установки координат, мм | ||
| Точность установки поворотного стола, сек | ||
| Наибольший диаметр сверла (по конусу), мм | 50 | |
| Стол | ||
| Рабочая поверхность встроенного поворотного стола, мм | 800 х 1000 | 1000 х 1000 |
| Наибольшая масса обрабатываемого вироби, кг | 1000 | 2000 |
| Наибольшее перемещение стола (продольное / поперечное), мм | 800/ 1000 | 800/ 1000 |
| Пределы рабочих подач стола (вдоль і поперек), мм/мин | 1,26...2000 | 1,26...2000 |
| Наибольшее усиление подачі стола (вдоль і поперек), кН | 10 | 10 |
| Деление шкалы лимба, мм | 0,05 | |
| Деление шкалы лимба поворота стола, град | 10` | |
| Выключающие упоры для крайних положений | есть | есть |
| Скорость быстрых продольных перемещений стола, м/мин | 2,18 | 5,0 |
| Скорость быстрых поперечных перемещений стола, м/мин | 2,18 | 5,0 |
| Скорость быстрых установочных круговых перемещений стола, об/мин | ||
| Шпиндельная бабка, выдвижной шпиндель, планшайба | ||
| Наибольшее горизонтальное (осевое) перемещение выдвижного шпинделя, мм | 500 | 500 |
| Частота обертання шпинделя, об/мин | 20..1600 | 20..1600 |
| Количество швидкостей шпинделя | 20 | 20 |
| Пределы рабочих подач шпинделя, мм/мин | 2,2..1760 | 1,26..2000 |
| Кінець выдвижного шпинделя по ГОСТ 24644-81 з конусом для крепления инструмента | 40АТ5 | 40АТ5 |
| Кінець выдвижного шпинделя по ГОСТ 6569-75 з конусом для крепления инструмента | Морзе 5 | Морзе 5 |
| Пределы рабочих подач радиального суппорта, мм/мин | 0,89..710 | 0,5..800 |
| Пределы рабочих подач шпиндельной бабки, мм/мин | 1,4..1110 | 1,26..2000 |
| Наибольшее вертикальное перемещение шпиндельной бабки (установочное), мм | 800 | 800 |
| Скорость быстрых перемещений шпиндельной бабки, м/мин | 2,18 | 5,0 |
| Скорость быстрых перемещений шпинделя, м/мин | 3,48 | 5,0 |
| Скорость обертання планшайби, об/мин | 8..200 | 6,3..200 |
| Количество швидкостей планшайби | 16 | 16 |
| Можливість відключення обертання планшайби | є | є |
| Можливість одночасної подачі супорта та шпинделя | ||
| Найбільше переміщення радіального супорта планшайби, мм | 120 | 125 |
| Швидкість швидких переміщень радіального супорту, м/хв. | 1,4 | 2 |
| Найбільший момент, що крутить, на шпинделі, Н*м | 880 | 865 |
| Найбільший момент, що крутить, на планшайбі, Н*м | 1320 | 1300 |
| Найбільше посилення подачі шпинделя, кН | 7,5 | 7,5 |
| Найбільше посилення подачі супорту, кН | ||
| Найбільше посилення подачі бабки, кН | ||
| Нарізне метричне різьблення, мм | ||
| Нарізне дюймове різьблення, число ниток на 1" | ||
| Електроустаткування, привід | ||
| Напруга силового ланцюга, | ~380/220В 50Гц | ~380/220В 50Гц |
| Напруга ланцюгів керування, | ~110; -24 | ~110; -24 |
| Кількість електродвигунів на верстаті | ||
| Електродвигун приводу головного руху, кВт | 6,7 | 6 |
| Електродвигун приводу повороту столу, кВт | 0,8 | 0,8 |
| Електродвигун приводу подачі (постійного струму) | 1,6 кВт | 21 Нм |
| Електродвигун приводу насоса мастила, кВт | 0,12 | 0,12 |
| Електродвигун приводу люнета, кВт | 0,4 | 0,27 |
| Сумарна потужність електродвигунів, кВт | ||
| Габарити та маса верстата | ||
| Габарити верстата, включаючи хід столу та санок, мм | 4300 х 2075 х 2490 | 4518 х 2950 х 2870 |
| Маса верстата, кг | 7350 | 8500 |
У світі все менше того, що неможливо купити, і все більше, що неможливо продати.
Закон Мерфі