Виробник токарно-гвинторізного верстата підвищеної точності 16Б25ПСп - Фрунзенський машинобудівний завод ім. В.І. Леніна , заснований у 1941 році. Нині Бішкецький машинобудівний завод.
Відлік своєї історії завод веде з листопада 1941 року, коли в центрі міста Фрунзе запрацював евакуйований завод із Ворошиловграда (нині Луганськ), що спеціалізується на випуску патронів.
Надалі, за роки свого існування, завод став багатофункціональним підприємством із розвиненою інфраструктурою. Маючи у своєму розпорядженні верстатобудівне, ковальсько-ливарне, електротехнічне та інші потужності завод випускав різноманітну продукцію: патрони для стрілецької зброї дрібного калібру, механічні преса, токарні верстати з ЧПУ, термопластавтомати, АРЛ, таль електричні, токарні патрони, ланцюги ж товари народного споживання.
Токарно-гвинторізний верстат підвищеної точності 16Б25ПСп призначений для виконання широкого кола токарних робіт на чистових та напівчистових режимах. На чорнових та обдирних режимах використовувати верстат не рекомендується. Високі швидкості шпинделя роблять придатним верстат для роботи на швидкісних режимах; у своїй забезпечується раціональне використання сучасних марок твердих сплавів.
Токарний верстат 16Б25ПСп забезпечує нарізування метричної, дюймової, модульної і різьблення, а при скороченому кінематичному ланцюгу (пряме включення ходового ггвинта без коробки подач), дає можливість проводити нарізування нестандартних різьблень при відповідному налаштуванні гітари.
На верстаті 16Б25ПСп можливе обточування конусів без застосування конусної лінійки шляхом механічного переміщення верхнього супорта.
Оригінальна конструкція станини, що усуває можливість попадання металевих відходів у напрямні пази. Це призводить до зменшення зносу та збільшення терміну служби верстата. Також стає можливим обробляти матеріали, що мають особливий склад і пройшли спеціальну обробку
Автоматичне керування швидкостями обертання шпинделя дозволяє перемикати швидкості на ходу і тим самим зменшує непродуктивні втрати часу.
Застосування автоматичної коробки дозволяє забезпечити:
Широке застосування напівпровідникових та релейних елементів та схем для керування роботою верстата. Використовувані тиристорно-транзисторні змінили систему керування режимами верстата та дозволили змінювати швидкість обертання шпинделя без вимкнення головного приводу.
Прискорений зворотний хід шпинделя при нарізанні різьблення дозволяє зменшити час обробки деталі.
Можливе відключення коробки подач, передаючи обертання безпосередньо на ходовий гвинт. Таке скорочення кінематичного ланцюга дозволяє нарізати різьблення з нестандартним кроком.
Магнітні пускачі оберігають токарно-гвинторізний верстат 16Б25ПСп від мимовільного включення електродвигунів при відновленні подачі електроенергії після її раптового відключення.
Не рекомендується використовувати верстат при чорновій обробці.
Клас точності верстата П згідно з ГОСТ 8-71.

Габарити робочого простору токарного верстата 16Б25псп

Шпиндель токарно-гвинторізного верстата 16Б25псп

Станина токарно-гвинторізного верстата 16Б25псп

Фото токарно-гвинторізного верстата 16Б25псп
Фото токарно-гвинторізного верстата 16Б25псп. Дивитись у збільшеному масштабі

Фото токарно-гвинторізного верстата 16Б25псп
Фото токарно-гвинторізного верстата 16Б25псп. Дивитись у збільшеному масштабі

Розташування органів керування токарним верстатом 16Б25псп
Питание ланцюгів електроустаткування осуществляется следующими напряжениями:
Питание верстата осуществляется от сети трехфазного переменного тока напряжением 380 В, частотой 50 Гц. Качество електроенергии должно соответствовать ГОСТ 13109-97
На станке установлено 3 трехфазных асинхронных короткозамкнутых електродвигуна:

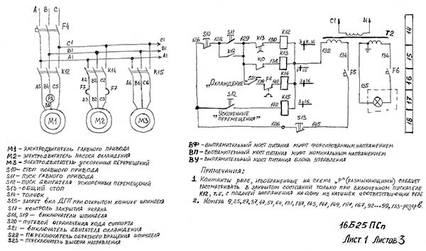
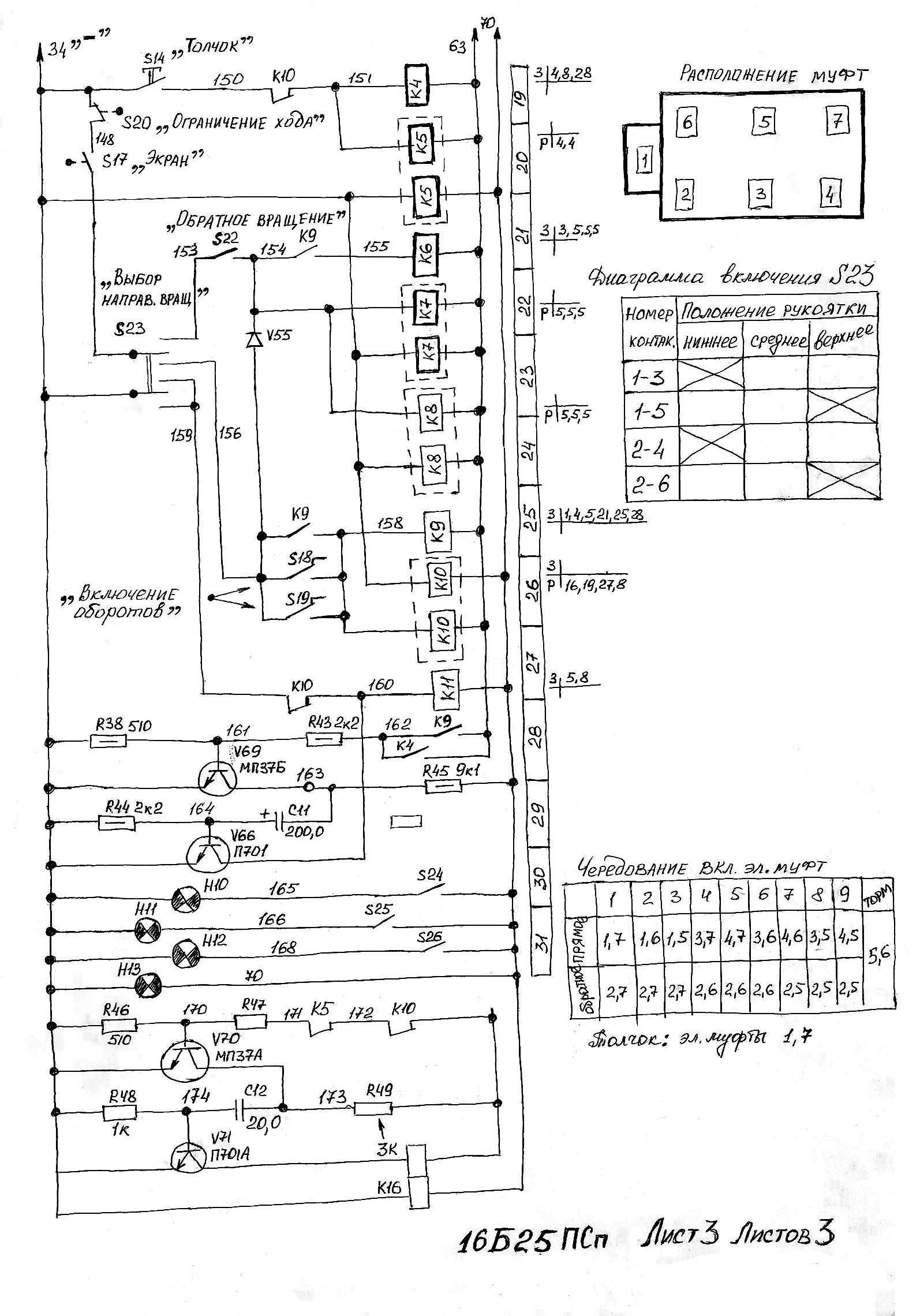
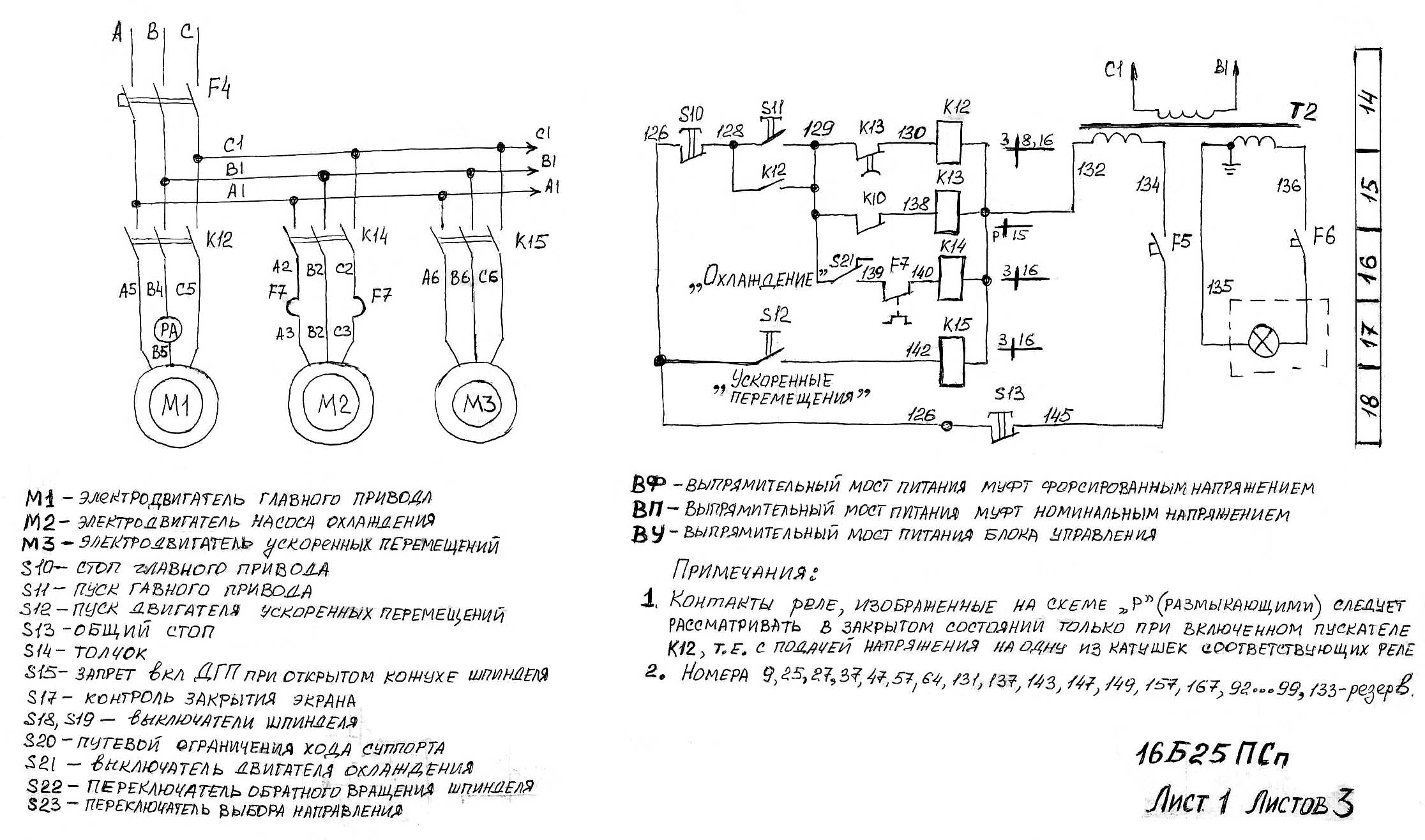
Електрична схема токарно-гвинторізного верстата 16Б25псп
Схема електрична токарно-гвинторізного верстата 16Б25ПСп. Дивитись у збільшеному масштабі

Електрична схема токарно-гвинторізного верстата 16Б25псп
Схема електрична токарно-гвинторізного верстата 16Б25ПСп. Дивитись у збільшеному масштабі

Електрична схема токарно-гвинторізного верстата 16Б25псп
Схема електрична токарно-гвинторізного верстата 16Б25ПСп. Дивитись у збільшеному масштабі
На станке установлено следующее електрообладнання (см. рис. 8):
Разводка проводов осуществляется через штепсельные разъемы, расположенные на боковой стенке і дне електрошафи
На правую стенку его выведена рукоятка трехфазного автоматичного выключателя ввода живлення - F4.
Над суппортной группой на кронштейне установлен пульт керування, в который вмонтированы (см. рис. 9):
На панелі передньої бабки расположены наступні органы керування (см. рис. 8):
На лицевой стороне шпиндельной бабки расположен указатель нагрузки головного приводу — РА.
В рукоятке фартука встроена кнопка керування електродвигуном ускоренного переміщення — S12.
В нише каретки установлен переключатель S23, осуществляющий подготовку к включению прямого і обратного направлений обертання шпинделя, а также его торможение.
В рукоятки керування вращением шпинделя вмонтированы микровыключатели S18, S19, осуществляющие его включение.
В ступицу рукоятки переборной группы вмонтированы контакты S24 ... S26 переключателя выбора диапазона скорости, которые соответственно замыкают цени сигнальных ламп Н10 ... Н12.
Силовые ланцюги верстата питаются трехфазным переменным током частоти 50 Гц напряжением 380В (выбор величины напряжения і частоти тока производит заказчик).
Ланцюги керування питаются пониженным напряжением от вторичных обмоток трансформаторов Т1 і Т2 (см. схему електрическую принципиальную - рис. 1).
От трансформатора Т2 питаются цени керування двигунами верстата. От трансформатора Т1 питаются ланцюги трех выпрямительных мостов, з которых снимаются наступні значения напряжения:
Ланцюги керування електромагнитными муфтами собраны на промежуточных реле з магнитоуправляемыми контактами — герконами і питаются отфильтрованным напряжением 24В, снимаемым з выпрямительного моста ВУ.
Для получения замыкающих контактов в схеме применены двухкатушечные реле на герконах, в которых одна из катушек замыкает контакты непосредственно при включении автомата F4 і срабатывании пускателя K12, а вторая, встречно включенная катушка, размыкает их при подаче сигнала из схеми керування.

Пульт керування токарно-гвинторізним верстатом 16Б25псп
Над суппортной группой на кронштейне установлен пульт керування, на котором расположены:
На боковую стенку електрошафи, расположенного на задньої стороне шпиндельной бабки, выведена рукоятка трехфазного автоматичного выключателя ввода живлення — F1.
На шпиндельной бабке установлен указатель нагрузки, показывающий загрузку електродвигуна головного приводу (в процентах от номинального тока електродвигуна. 1н = 22А) — РА і панель з расположенными на ней:
В рукоятку фартука встроена кнопка керування електродвигуном ускоренного переміщення суппортной группы — S13.
В нише каретки установлен переключатель S19, осуществляющий подготовку к включению прямого или обратного направлений обертання шпинделя і его торможение.
В рукоятки керування вращением шпинделя вмонтированы микровыключатели S16 і S17, осуществляющие его включение.
На станке установлено следующее електрообладнання (см. рис. 8):
Разводка проводов от електрошафи осуществляется через штепсельные разъемы, расположенные на боковой стенке і дне електрошафи.
Силовые ланцюги верстата предназначены для подключения к трехфазной сети переменного тока напряжением 380 В частотой тока 50 Гц.
В качестве головного приводу в станке применен нерегулируемый трехфазный електродвигатель переменного тока і автоматическая коробка швидкостей (АКС), керування которой осуществляется от пульта керування.
Привід обеспечивает:
АКС представляет собой 12-ступенчатую трехваловую коробку, переключение швидкостей в которой осуществляется посредством многодисковых електромагнітних муфт.
В АКС использованы електромагнітні муфты типа ЭТМ з магнитопроводящими дисками і бесконтактным токоподводом.
Для переключения ступеней скорости под нагрузкой в схеме керування предусмотрена подача на муфты форсированного напряжения от выпрямительного моста ВФ.
Пуск електродвигуна головного приводу Ml осуществляется нажатием кнопки «1» — S12, которая замыкает ланцюг пускателя К1, переводя его на самопитание. Останов електродвигуна Ml осуществляется нажатием кнопки «О» — S11 (зона 9).
Увімкнення верстата производится автоматом F4 після увімкнення всех защитных автоматических выключателей і закрытия защитных кожухов.
Увімкнення електродвигуна головного приводу осуществляется воздействием на кнопку S11, при етом подается напряжение на катушку пускателя К12 і реле часу К13.
Пускатель К12 замыкающими контактами включает електродвигатель Ml і подготавливает ланцюг увімкнення шпинделя (зона 7).
Реле часу К13 настроено на 2..3 мин. Если по истечении етого часу шпиндель не будет включен, то контакт реле К13 разомкнётся і пускатель К12 отключит електродвигатель M1 от сети. Для повторного увімкнення електродвигуна необходимо вновь нажать на кнопку S11. Відключення електродвигуна головного приводу осуществляется воздействием на кнопку S10.
Увімкнення електродвигуна ускоренного переміщення суппортной группы М3 производится воздействием на кнопку S12, а електродвигуна насоса охлаждения М2 — посредством тумблера S21.
Выбор скорости обертання шпинделя осуществляется кнопками пульта керування і установкой рукоятки выбора диапазона в одно из трех положений:
Для примера пуск шпинделя осуществляется на второй скорости первого диапазона.
Рукоятку керування вращением шпинделя установить в нейтральное положение, а рукоятку переборной группы — в положение первого диапазона (двигатель M1 включен).
Транзисторы V67 ... V70 (зоны 8, 11, 29, 31) одновибраторов находятся в открытом состоянии.
Транзисторы V64 ... V66, V71 заперты отрицательным потенциалом, поданным на их базы. Реле К1, К3, К11, К16, стоящие в их коллекторных цепях, обесточены.
Тиристоры V1 ... V20 закрыты. Электромагнитные муфты отключены. При воздействии на кнопку выбора скорости S2 нижняя ланцюг післядовательно включенных контактов 112—113 (зона 11) кнопок керування размыкается, вызывая процесс . заряда конденсатора С10. Положительным потенциалом, поданным на базу, транзистор V65 открывается (зона 10) і включает реле К3, которое своим размыкающим контактом прерывает анодную ланцюг управляющих тиристоров V11 . . . V19 і ланцюг катушек реле К2 (зона 8). Указанное переключение контакта К3 необходимо для снятия ранее поданных команд (если таковые имели место) і приведения схеми в исходное состояние.
Другой размыкающий контакт реле КЗ прерывает ланцюг 120—124 (зона 11), исключая возможность воздействия післядующих сигналов з пульта керування до окончания переходного процесса.
По окончании заряда конденсатора С10 реле К3 отключается, приводя свои контакты в исходное состояние.
При нажатии кнопки S2 і після срабатывания її размыкающих контактов замыкается ланцюг управляющего електрода тиристора V12, в результате чего он открывается і через распределительные диоды V27 і V41 на силовые тиристоры V1 і V6 поступает управляющий сигнал, который подготавливает их к включению.
Одновременно з етим на пульті керування загорается сигнальная лампа Н2 і включаются две другие катушки реле К2. Размыкающим контактом реле К2 отключает кнопки пульта керування от источника живлення, обеспечивая електрическую блокировку, исключающую увімкнення других тиристоров керування при нажатии двух і более кнопок одновременно.
Реле К2, срабатывая, замыкает ланцюг управляющих електродов тиристоров V10, V20 (зона 5), диодно-тиристорный мост ВП живлення електромагнітних муфт подготавливается к включению.
При переводе рукоятки керування вращением шпинделя вниз, которая воздействует на переключатель S23, і нажатии на микровыключатель S18 или S19 срабатывают реле К9 і К10 (зоны 25, 26).
Реле К10 размыкает контакты в ланцюги катушек К4, К5, К11, К13 (зоны 19, 20, 27, 16) і в ланцюги базы транзистора V70, вызывая процесс заряда конденсатора С12 і срабатывание реле К16 (зона 32). Своим размыкающим контактом реле К16 прерывает ланцюг управляющих електродов тиристоров V10, V20 диодно-тиристорного моста ВП на промежуток часу необходимый для полного отключения тормозных муфт.
Реле К9 замыкает контакты в ланцюги базы транзистора V69 (зона 28), в ланцюги управляющих електродов тиристоров V10, V20 (зона 5) і тиристоров V1, V3, V4, V7 (зона 4).
Диодно-тиристорный мост ВП подготавливается к включению, а по окончании часу заряда конденсатора С12 і замыкании контакта реле К16 (зона 4) он приходит в состояние проводимости. Включаются електромагнітні муфты Y1 к Y6, шпиндель приходит во вращение.
Останов шпинделя осуществляется переводом рукоятки керування вращением шпинделя в нейтральное положение — катушки реле К9, К10 обесточивается. Реле К10 замыкает свои контакты в цепях катушек К13, К4, К5, К11 і в ланцюги базы транзистора V70. Реле К9 размыкает ланцюг управляющих електродов тиристоров диодно-тиристорных мостов ВФ і ВП і ланцюг базы транзистора V69. При размыкании контакта К9 (зона 28) начинается заряд конденсатора С11, транзистор V66 открывается і включает реле К11, которое в результате переключения своих контактов в зоне 5, 7 включает електромагнітні муфты Y5 і Y6 тормоза шпинделя. По окончании часу заряда конденсатора СП ети муфты отключаются, шпиндель растормаживается.
В случае, если рукоятка керування вращением шпинделя пройдет нейтральное положение, то включится реле К11 по ланцюги 34-159-160-70, шпиндель установится на постоянный тормоз.
Увімкнення і останов шпинделя на других скоростях осуществляется аналогично.
Схемой предусмотрено переключение швидкостей на холостом ходу і под нагрузкой з форсированным включением муфт. Для етой цели служит реле форсировки К1 (зона 7). Командой для увімкнення реле К1 служит срабатывание реле К2, которое размыкающим контактом прерывает ланцюг 127-63 (зона 9), вызывая заряд конденсатора С9, в результате чего на время его заряда (время форсировки) включается реле К1. Размыкающим контактом реле К1 замкнет ланцюги керування тиристоров V8, V9 моста форсировки муфт, в результате чего мост приходит в состояние проводимости і на електромагнітні муфты подается напряжение форсировки.
По окончании режима форсировки і перехода моста ВФ в непроводящее состояние електромагнітні муфты получают питание от моста ВП з номинальным напряжением 24 В.
При нажатии следующей кнопки происходит повторение вышеописанного цикла переключений.
Обратное вращение шпинделя осуществляется включением тумблера S22 і переводом рукоятки керування вращением шпинделя в положение «Вверх».
После увімкнення микропереключателей S18 і S19 подается напряжение на катушки реле К9, К10, К7, К8 (зона 25, 26, 21, 22, 23).
При етом происходит наступні переключения: размыкают контакты в ланцюги управляющих електродов тиристоров V1, V3, V4 - реле К7 і V5, V6, V7 - реле К8; реле К6 замыкающими контактами включает ланцюги управляющих електродов тиристоров V2, V5, V6, V7 (зоны 3, 4), подготавливая их к включению.
Каждый из диапазонов имеет три обратные скорости, поетому для получения какой-либо из них достаточно нажать на любую из трех кнопок выбора скорости в группе S1 ... S3. S4 ... S6, S7 ... S9 (см. таблицу оборотів шпинделя на рис. 1). При етом происходит процесс увімкнення шпинделя аналогичный включению шпинделя при его прямом вращении.
Вращение шпинделя може осущестляться в толчковом режиме. Толчковый режим возможен только при прямом вращении шпинделя на первой скорости Любого диапазона і при установці рукоятки керування вращением шпинделя в нейтральное положение.
При нажатии на кнопку «Толчок» — S14 замыкаются ланцюги катушек реле К4 і К5 (зона 19, 20).
Реле К5 размыкает контакты в ланцюги управляющих електродов тиристоров V5, V6 і в ланцюги базы транзистора V70, вызывая процесс заряда конденсатора С12 і срабатывание реле К16.
Реле К4 замыкает ланцюг управляющих електродов тиристоров V1, V7 (зона 7) і тиристоров V10, V20.
По окончании часу заряда конденсатора С12 і замыкании контакта реле К16 (зона 4) диодно-тиристорный мост ВП открывается. Включаются електромагнітні муфты Y1 і Y7. Вращение шпинделя длится до тех пор, пока кнопка S14 находится под воздействием.
В аварийных случаях відключення електродвигателей і торможение шпинделя осуществляется воздействием на кнопку S13. При етом отключаются двигатели верстата і включается реле К11. Контакты реле К11 замыкают ланцюги управляющих електродов тиристоров V5, V6 і тиристоров выпрямительного моста ВП. Муфты Y5 і Y6 включаются, шпиндель затормаживается.
Захист електроустаткування верстата от токов Короткого Замыкания обеспечивается автоматическими выключателями F1, F2, F3, F4, F5, F6.
Захист електродвигуна охлаждения от перегрузок - тепловым реле F7.
Нулевая защита — катушками магнитных пускачів і реле.
Електрична схема верстата передбачає наступні виды блокировок:
Указанные блокировки осуществляются соответственно конечными выключателями S16, S17.
При монтаже верстата електрошкаф і станина должны быть надежно заземлены і подключены к общей системе заземления.
Болты заземления расположены сбоку електрошафи і на наружном торце правой тумбы верстата.
Питающие провода подвести к вводным клеммам через угольник, закрепленный знизу шкафа. Ввод должен быть осуществлен проводом сечением:
Перед подключением верстата к сети убедиться:
При помощи вводного автомата F4 подключить верстат к цеховой електросети.
Проверить действие блокировочных устройств і сигнальных ламп.

Список елементів токарно-гвинторізного верстата 16Б25ПСп
Список елементів токарно-гвинторізного верстата 16Б25ПСп. Дивитись у збільшеному масштабі

Список елементів токарно-гвинторізного верстата 16Б25ПСп
Список елементів токарно-гвинторізного верстата 16Б25ПСп. Дивитись у збільшеному масштабі

Список елементів токарно-гвинторізного верстата 16Б25ПСп
Список елементів токарно-гвинторізного верстата 16Б25ПСп. Дивитись у збільшеному масштабі
| Наименование параметра | ФТ-11 | 16Б25ПСп |
|---|---|---|
| Основні параметри верстата | ||
| Класс точності по ГОСТ 8-82 | П | П |
| Наибольший диаметр заготовки над станиной, мм | 500 | 500 |
| Наибольший диаметр заготовки над суппортом, мм | 260 | 260 |
| Наибольшая длина заготовки (РМЦ), мм | 1000, 1500, 2000 | 1000 |
| Наибольшее расстояние от оси центров до кромки резцедержателя, мм | 259 | 259 |
| Расстояние от оси шпинделя до направляючих станины (высота центров), мм | 250 | 250 |
| Высота резца, установленного в резцедержателе, мм | 32 | 32 |
| Коробка швидкостей. Шпиндель | ||
| Диаметр сквозного отверстия в шпинделе, мм | 66 | 66 |
| Наибольший диаметр прутка, проходящего сквозь отверстие в шпинделем, мм | 63 | 63 |
| Число ступеней частот прямого обертання шпинделя | 21 | 21 |
| Частота прямого обертання шпинделя, об/мин | 10..2000 | 6,3..1250 |
| Число ступеней частот обратного обертання шпинделя | 9 | 9 |
| Частота обратного обертання шпинделя, об/мин | 50..2000 | 32..1250 |
| Размер внутреннего конуса в шпинделе, М | 80 по ГОСТ 2575-79 | 80 по ГОСТ 2575-79 |
| Кінець шпинделя по ГОСТ 12593-72 | 8М | 8М |
| Торможение шпинделя | имеется | имеется |
| Суппорт. Подачи | ||
| Наибольший поперечний ход суппорта, мм | ||
| Наибольший продольный ход суппорта, мм | ||
| Наибольший ход верхнего суппорта (резцовых салазок), мм | 140 | 140 |
| Цена деления лимба верхнего суппорта (резцовых салазок), мм | 0,05 | 0,05 |
| Скорость швидкого продольного переміщення суппорта, м/мин | 4,0 | 4,0 |
| Скорость швидкого поперечного переміщення суппорта, м/мин | 2,0 | 2,0 |
| Число ступеней продольных подач | 24 | 24 |
| Пределы рабочих подач продольных, мм/об | 0,05..10,6 | 0,05..10,6 |
| Число ступеней поперечных подач | 24 | 24 |
| Пределы рабочих подач поперечных, мм/об | 0,025..5,3 | 0,025..5,3 |
| Количество нарезаемых різьб метрических | 30 | 30 |
| Пределы шагов нарезаемых різьб метрических, мм | 0,5..112 | 0,5..112 |
| Количество нарезаемых різьб дюймовых | 26 | 26 |
| Пределы шагов нарезаемых різьб дюймовых, ниток на дюйм | 56..0,25 | 56..0,25 |
| Количество нарезаемых різьб модульных | 30 | 30 |
| Пределы шагов нарезаемых різьб модульных | 0,5..112 | 0,5..112 |
| Количество нарезаемых різьб питчевых | 26 | 26 |
| Пределы шагов нарезаемых різьб питчевых, питчи | 56..0,25 | 56..0,25 |
| Наибольшее усилие різання, Н | 16000 | |
| Задня бабка | ||
| Наибольшее перемещение пиноли, мм | 200 | 200 |
| Центр | Морзе 5ПТ | Морзе 5ПТ |
| Електроустаткування, приводы | ||
| Количество електродвигателей на станке | 3 | 3 |
| Електродвигун головного привода, кВт | 11 | 11 |
| Електродвигун быстрых перемещений, кВт | 0,55 | 0,6 |
| Електродвигун насоса охлаждения, кВт | 0,12 | 0,125 |
| Насос охлаждения (помпа) | ПА-22 | ПА-22 |
| Суммарная мощность всех електродвигателей, кВт | 11,725 | 11,725 |
| Габарити і масса верстата | ||
| Габарити верстата (длина ширина высота) (РМЦ = 1000), мм | 2856 х 1370 х 1435 | 2860 х 1300 х 1345 |
| Масса верстата (РМЦ = 1500), кг | 3445 | 3200 |